TOP
|
特許
|
意匠
|
商標
特許ウォッチ
Twitter
他の特許を見る
10個以上の画像は省略されています。
公開番号
2025146114
公報種別
公開特許公報(A)
公開日
2025-10-03
出願番号
2024046724
出願日
2024-03-22
発明の名称
弾性波デバイス、フィルタ、及びマルチプレクサ
出願人
太陽誘電株式会社
代理人
個人
主分類
H03H
9/25 20060101AFI20250926BHJP(基本電子回路)
要約
【課題】弾性波素子の形成可能な領域が小さくなることを抑制する弾性波デバイスを提供する。
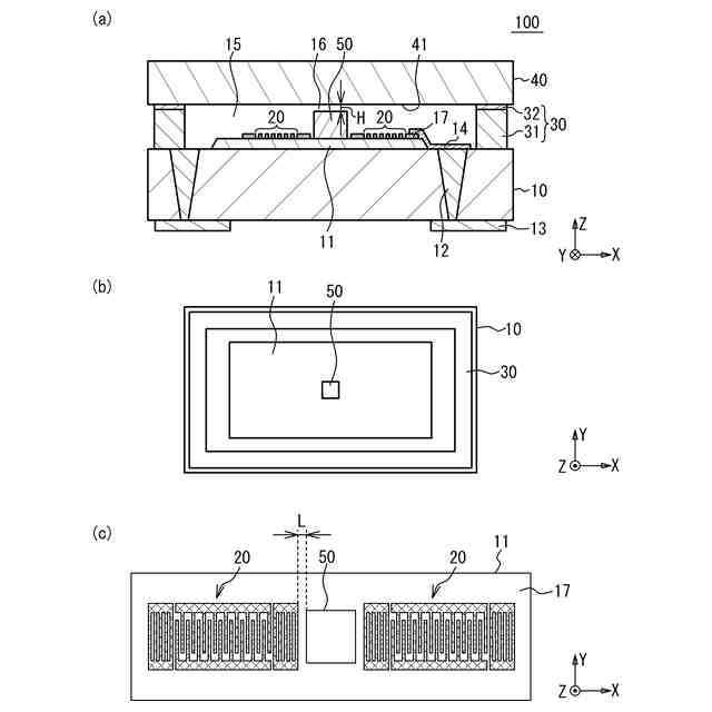
【解決手段】弾性波デバイス100は、支持基板10と、支持基板10上に設けられた圧電層11と、圧電層11に設けられた弾性波素子20と、圧電層11上から見て弾性波素子20を囲んで支持基板10上に設けられた枠体30と、支持基板10とで空隙15を挟み枠体30上に設けられ、弾性波素子20を空隙15内に封止するリッド40と、空隙15内においてリッド40の下面41と圧電層11の上面17との間に設けられ、リッド40の下面41との間に空隙である隙間16が形成された柱状体50とを備える。
【選択図】図1
特許請求の範囲
【請求項1】
支持基板と、
前記支持基板上に設けられた圧電層と、
前記圧電層に設けられた弾性波素子と、
前記圧電層上から見て前記弾性波素子を囲んで前記支持基板上に設けられた枠体と、
前記支持基板とで空隙を挟み前記枠体上に設けられ、前記弾性波素子を前記空隙内に封止するリッドと、
前記空隙内において前記リッドの前記圧電層に対向する第1面と前記圧電層の前記リッドに対向する第2面との間に設けられ、前記第1面及び前記第2面のいずれか一方との間に空隙である隙間が形成された柱状体と、を備える弾性波デバイス。
続きを表示(約 790 文字)
【請求項2】
前記柱状体は絶縁性を有する、請求項1に記載の弾性波デバイス。
【請求項3】
前記柱状体は樹脂により形成される、請求項1または2に記載の弾性波デバイス。
【請求項4】
前記隙間の高さは前記柱状体の高さより小さい、請求項1または2に記載の弾性波デバイス。
【請求項5】
前記弾性波素子は前記圧電層の前記第2面に設けられた複数の電極指を有し、
前記柱状体は、前記リッドの前記第1面との間に前記隙間を有して前記圧電層上に設けられ、前記弾性波素子が励振する弾性波の伝搬方向において前記弾性波素子に隣接して配置されている、請求項1または2に記載の弾性波デバイス。
【請求項6】
前記圧電層の前記第2面に設けられた金属層を備え、
前記柱状体は複数設けられ、
前記複数の柱状体のうち少なくとも一部の柱状体は前記リッドの前記第1面と前記金属層の前記リッド側の第3面との間に設けられる、請求項1または2に記載の弾性波デバイス。
【請求項7】
前記金属層は前記圧電層よりヤング率が小さい材料を含んで形成される、請求項6に記載の弾性波デバイス。
【請求項8】
前記複数の柱状体のうち一部の柱状体は一端が前記圧電層の前記第2面に接して設けられ、残りの柱状体は一端が前記金属層の前記第3面に接して設けられ、
前記一部の柱状体の他端と前記リッドの前記第1面との間の前記隙間の高さは、前記残りの柱状体の他端と前記リッドの前記第1面との間の前記隙間の高さに比べて大きい、請求項6に記載の弾性波デバイス。
【請求項9】
請求項1または2に記載の弾性波デバイスを含むフィルタ。
【請求項10】
請求項9に記載のフィルタを含むマルチプレクサ。
発明の詳細な説明
【技術分野】
【0001】
本発明は、弾性波デバイス、フィルタ、及びマルチプレクサに関する。
続きを表示(約 1,100 文字)
【背景技術】
【0002】
基板上に弾性波素子が設けられ、弾性波素子上にリッド又は別の基板を配置し、基板とリッド又は別の基板とを金属層を用いて接続することで、弾性波素子を空隙内に封止する弾性波デバイスが知られている。空隙内において基板とリッド又は別の基板との間に柱状体を設けることが知られている(例えば特許文献1、2)。
【先行技術文献】
【特許文献】
【0003】
特開2021-52359号公報
特開2023-4705号公報
【発明の概要】
【発明が解決しようとする課題】
【0004】
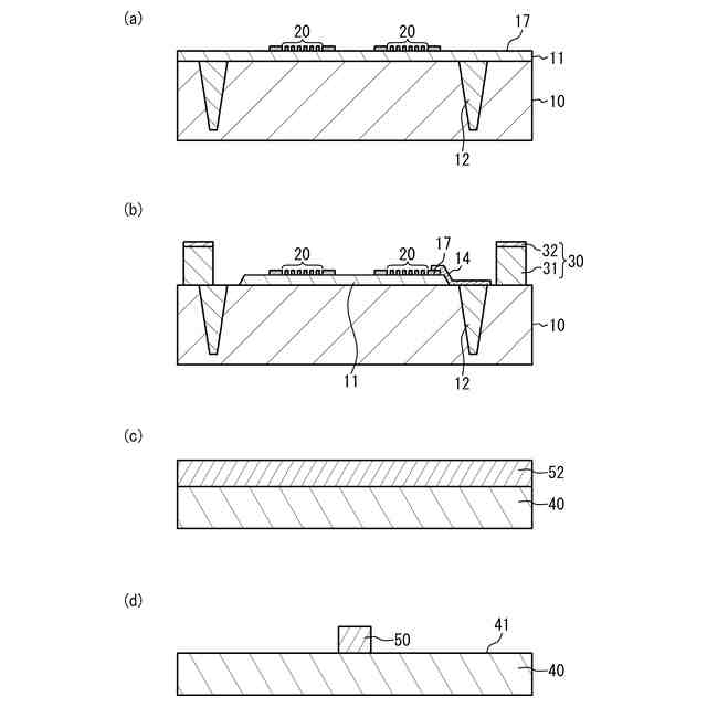
特許文献1では、リッドの撓みを低減するために、圧電層に設けられた貫通孔で露出する支持基板とリッドとの間、又は、圧電層に設けられた凹部とリッドとの間に柱状体を設けている。この場合、圧電層に貫通孔又は凹部を形成するための領域を確保するため、弾性波素子の形成可能な領域が小さくなってしまう。
【0005】
本発明は、上記課題に鑑みなされたものであり、弾性波素子の形成可能な領域が小さくなることを抑制することを目的とする。
【課題を解決するための手段】
【0006】
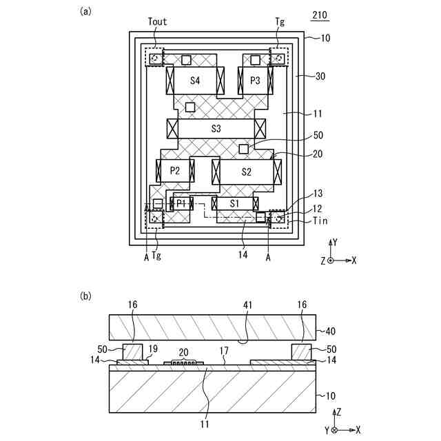
本発明は、支持基板と、前記支持基板上に設けられた圧電層と、前記圧電層に設けられた弾性波素子と、前記圧電層上から見て前記弾性波素子を囲んで前記支持基板上に設けられた枠体と、前記支持基板とで空隙を挟み前記枠体上に設けられ、前記弾性波素子を前記空隙内に封止するリッドと、前記空隙内において前記リッドの前記圧電層に対向する第1面と前記圧電層の前記リッドに対向する第2面との間に設けられ、前記第1面及び前記第2面のいずれか一方との間に空隙である隙間が形成された柱状体と、を備える弾性波デバイスである。
【0007】
上記構成において、前記柱状体は絶縁性を有する構成とすることができる。
【0008】
上記構成において、前記柱状体は樹脂により形成される構成とすることができる。
【0009】
上記構成において、前記隙間の高さは前記柱状体の高さより小さい構成とすることができる。
【0010】
上記構成において、前記弾性波素子は前記圧電層の前記第2面に設けられた複数の電極指を有し、前記柱状体は、前記リッドの前記第1面との間に前記隙間を有して前記圧電層上に設けられ、前記弾性波素子が励振する弾性波の伝搬方向において前記弾性波素子に隣接して配置される構成とすることができる。
(【0011】以降は省略されています)
この特許をJ-PlatPat(特許庁公式サイト)で参照する
関連特許
太陽誘電株式会社
コイル部品
1日前
太陽誘電株式会社
コイル部品
2日前
太陽誘電株式会社
コイル部品
1日前
太陽誘電株式会社
導波路装置
8日前
太陽誘電株式会社
全固体電池
8日前
太陽誘電株式会社
感覚提示システム
1か月前
太陽誘電株式会社
生体情報測定装置
1日前
太陽誘電株式会社
セラミック電子部品
1日前
太陽誘電株式会社
グルコース濃度推定装置
2日前
太陽誘電株式会社
積層セラミック電子部品
3日前
太陽誘電株式会社
積層セラミック電子部品
1か月前
太陽誘電株式会社
積層セラミック電子部品
1日前
太陽誘電株式会社
コイル部品および実装基板
2日前
太陽誘電株式会社
電動アシスト車の制御装置
1か月前
太陽誘電株式会社
センサ装置および取付方法
2日前
太陽誘電株式会社
積層セラミックコンデンサ
2日前
太陽誘電株式会社
フィルタ及びマルチプレクサ
3日前
太陽誘電株式会社
フィルタ及びマルチプレクサ
1か月前
太陽誘電株式会社
導波路装置およびレーダ装置
8日前
太陽誘電株式会社
血圧測定装置および血圧測定方法
2日前
太陽誘電株式会社
コイル部品、コイル部品の製造方法
1日前
太陽誘電株式会社
バッテリパック及び車両の制御装置
8日前
太陽誘電株式会社
コイル部品、コイル部品の製造方法
1日前
太陽誘電株式会社
コイル部品及びコイル部品の製造方法
1日前
太陽誘電株式会社
特徴量取得装置および特徴量取得方法
22日前
太陽誘電株式会社
積層セラミックコンデンサ及び回路基板
2日前
太陽誘電株式会社
積層セラミックコンデンサ及び回路基板
12日前
太陽誘電株式会社
積層セラミックコンデンサ及び回路基板
12日前
太陽誘電株式会社
積層セラミックコンデンサ及び回路基板
15日前
太陽誘電株式会社
積層セラミックコンデンサ及び回路基板
1か月前
太陽誘電株式会社
積層セラミックコンデンサ及び回路基板
4日前
太陽誘電株式会社
圧電トランスデューサおよび電気音響装置
10日前
太陽誘電株式会社
積層セラミック電子部品及びその製造方法
1か月前
太陽誘電株式会社
積層セラミック電子部品及びその製造方法
2か月前
太陽誘電株式会社
積層セラミック電子部品及びその製造方法
1日前
太陽誘電株式会社
磁性基体及び磁性基体を備えるコイル部品
1日前
続きを見る
他の特許を見る