TOP
|
特許
|
意匠
|
商標
特許ウォッチ
Twitter
他の特許を見る
10個以上の画像は省略されています。
公開番号
2025146146
公報種別
公開特許公報(A)
公開日
2025-10-03
出願番号
2024046774
出願日
2024-03-22
発明の名称
情報処理システム、情報処理装置、情報処理方法、及びコンピュータプログラム
出願人
日本電気株式会社
代理人
個人
,
個人
,
個人
主分類
B60R
25/25 20130101AFI20250926BHJP(車両一般)
要約
【課題】車両を利用する対象の画像を適切に撮像する。
【解決手段】情報処理システムは、車両に設けられた第1撮像手段と、車両に乗車する対象が視線を向ける所定箇所に対して所定動作が行われたことを検出する検出手段と、記所定動作が検出された場合に、対象の画像を撮像するように第1撮像手段を制御する制御手段と、第1撮像手段で撮像された対象の画像に基づいて、対象の認証処理を実行する認証手段と、を備える。
【選択図】図2
特許請求の範囲
【請求項1】
車両に設けられた第1撮像手段と、
前記車両に乗車する対象が視線を向ける所定箇所に対して所定動作が行われたことを検出する検出手段と、
前記所定動作が検出された場合に、前記対象の画像を撮像するように前記第1撮像手段を制御する制御手段と、
前記第1撮像手段で撮像された前記対象の画像に基づいて、前記対象の認証処理を実行する認証手段と、
を備える情報処理システム。
続きを表示(約 1,500 文字)
【請求項2】
前記検出手段は、前記対象が前記所定箇所に接触する動作を前記所定動作として検出し、
前記制御手段は、前記所定箇所に接触した前記対象の画像を撮像するように、前記第1撮像手段を制御する、
請求項1に記載の情報処理システム。
【請求項3】
前記所定箇所は、前記第1撮像手段が設けられたミラーであり、
前記検出手段は、前記対象による前記ミラーの調整動作を前記所定動作として検出し、
前記制御手段は、前記ミラーの調整動作が行われてから所定時間経過後、又は、前記対象が前記ミラーから手を離したタイミングで、前記対象の画像を撮像するように前記第1撮像手段を制御する、
請求項2に記載の情報処理システム。
【請求項4】
前記検出手段は、前記対象が前記所定箇所に視線を向ける動作を前記所定動作として検出し、
前記制御手段は、前記所定箇所に視線を向けた前記対象の画像を撮像するように、前記第1撮像手段を制御する、
請求項1に記載の情報処理システム。
【請求項5】
前記対象の顔を撮像可能な第2撮像手段と、
前記第2撮像手段で撮像された前記対象の顔画像に基づいて、前記対象の視線の向きを推定する推定手段と、
を更に備え、
前記検出手段は、前記推定手段の推定結果を用いて、前記対象が前記所定箇所に視線を向ける動作を前記所定動作として検出し、
前記制御手段は、前記所定動作を検出した場合に、前記対象の虹彩画像を撮影するように前記第1撮像手段を制御する、
請求項4に記載の情報処理システム。
【請求項6】
前記第1撮像手段及び前記第2撮像手段は、前記所定箇所に前記第1撮像手段及び前記第2撮像手段の両方が配置される第1配置構成、前記所定箇所に第1撮像手段が配置され、前記所定箇所近傍に前記第2撮像手段が配置される第2配置構成、前記所定箇所に第2撮像手段が配置され、前記所定箇所近傍に前記第1撮像手段が配置される第3配置構成、又は、前記所定箇所に第2撮像手段が配置され、前記車両のシートの各々に対応する位置に複数の前記第1撮像手段が配置される第4配置構成、のいずれかの配置構成となるように配置されている、
請求項5に記載の情報処理システム。
【請求項7】
前記所定箇所は、前記車両に設けられたディスプレイであり、
前記ディスプレイに、前記対象が前記ディスプレイに視線を向けるように誘導する情報を表示させる誘導手段を更に備える、
請求項4に記載の情報処理システム。
【請求項8】
前記制御手段は、前記第1撮像手段の撮像範囲に前記対象が収まるように前記対象が座るシートのシートポジションを調整した後に、前記対象の画像を撮像するように前記第1撮像手段を制御する、
請求項1に記載の情報処理システム。
【請求項9】
前記対象を特定する特定手段を更に備え、
前記制御手段は、前記特定した対象を撮像するのに適した撮像ポジションとなるように、前記対象が座るシートのシートポジションを調整する、
請求項8に記載の情報処理システム。
【請求項10】
前記制御手段は、前記対象の画像を撮像するように前記第1撮像手段を制御した後に、前記特定した対象が運転するのに適した運転ポジションとなるように、前記対象が座るシートのシートポジションを調整する、
請求項9に記載の情報処理システム。
(【請求項11】以降は省略されています)
発明の詳細な説明
【技術分野】
【0001】
この開示は、情報処理システム、情報処理装置、情報処理方法、及びコンピュータプログラムの技術分野に関する。
続きを表示(約 1,800 文字)
【背景技術】
【0002】
この種のシステムとして、対象の画像から取得した生体情報に基づいて認証処理を実行するものが知られている。例えば特許文献1は、対象の顔画像に基づいて対象の目の位置を特定して対象の虹彩画像を撮像すること、及び、撮像した虹彩画像を用いて対象の認証処理を実行することを開示している。
【先行技術文献】
【特許文献】
【0003】
国際公開第2023/007714号
【発明の概要】
【発明が解決しようとする課題】
【0004】
この開示は、先行技術文献に開示された技術を改良することを目的とする情報処理システム、情報処理装置、情報処理方法、及びコンピュータプログラムを提供することを課題とする。
【課題を解決するための手段】
【0005】
この開示の情報処理システムの一の態様は、車両に設けられた第1撮像手段と、前記車両に乗車する対象が視線を向ける所定箇所に対して所定動作が行われたことを検出する検出手段と、前記所定動作が検出された場合に、前記対象の画像を撮像するように前記第1撮像手段を制御する制御手段と、前記第1撮像手段で撮像された前記対象の画像に基づいて、前記対象の認証処理を実行する認証手段と、を備える。
【0006】
この開示の情報処理装置の一の態様は、車両に乗車する対象が視線を向ける所定箇所に対して所定動作が行われたことを検出する検出手段と、前記所定動作が検出された場合に、前記対象の画像を撮像するように前記車両に設けられた第1撮像手段を制御する制御手段と、前記第1撮像手段で撮像された前記対象の画像に基づいて、前記対象の認証処理を実行する認証手段と、を備える。
【0007】
この開示の情報処理方法の一の態様は、少なくとも1つのコンピュータによって、前記車両に乗車する対象が視線を向ける所定箇所に対して所定動作が行われたことを検出し、前記所定動作が検出された場合に、前記対象の画像を撮像するように前記車両に設けられた第1撮像手段を制御し、前記第1撮像手段で撮像された前記対象の画像に基づいて、前記対象の認証処理を実行する。
【0008】
この開示のコンピュータプログラムの一の態様は、少なくとも1つのコンピュータに、前記車両に乗車する対象が視線を向ける所定箇所に対して所定動作が行われたことを検出し、前記所定動作が検出された場合に、前記対象の画像を撮像するように前記車両に設けられた第1撮像手段を制御し、前記第1撮像手段で撮像された前記対象の画像に基づいて、前記対象の認証処理を実行する、情報処理方法を実行させる。
【図面の簡単な説明】
【0009】
第1の情報処理システムのハードウェア構成を示すブロック図である。
第1の情報処理システムの機能的構成を示すブロック図である。
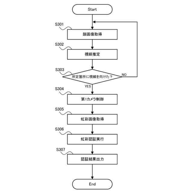
第1の情報処理システムによる認証動作の流れを示すフローチャートである。
車両に設けられるミラーの一例を示す概略構成図である。
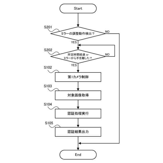
第2の情報処理システムによる認証動作の流れを示すフローチャートである。
第3の情報処理システムの機能的構成を示すブロック図である。
第3の情報処理システムによる認証動作の流れを示すフローチャートである。
第4の情報処理システムの機能的構成を示すブロック図である。
車両に設けられるディスプレイの一例を示す概略構成図である。
第4の情報処理システムによる認証動作の流れを示すフローチャートである。
第5の情報処理システムの機能的構成を示すブロック図である。
第5の情報処理システムによる認証動作の流れを示すフローチャートである。
第6の情報処理システムの機能的構成を示すブロック図である。
第6の情報処理システムによる認証動作の流れを示すフローチャートである。
【発明を実施するための形態】
【0010】
以下、図面を参照しながら、情報処理システム、情報処理装置、情報処理方法、及びコンピュータプログラムの実施形態について説明する。
(【0011】以降は省略されています)
この特許をJ-PlatPat(特許庁公式サイト)で参照する
関連特許
日本電気株式会社
学習装置
28日前
日本電気株式会社
学習装置
1か月前
日本電気株式会社
分析装置
4日前
日本電気株式会社
原子発振器
1か月前
日本電気株式会社
超伝導量子回路
24日前
日本電気株式会社
マルチバンドバラン
22日前
日本電気株式会社
信号処理装置及び方法
1か月前
日本電気株式会社
送信装置および通信装置
今日
日本電気株式会社
検知装置および検知方法
4日前
日本電気株式会社
量子回路装置と制御方法
4日前
日本電気株式会社
通信装置および通信方法
今日
日本電気株式会社
量子回路装置と制御方法
4日前
日本電気株式会社
移相器およびアンテナ装置
1か月前
日本電気株式会社
移相器およびアンテナ装置
1か月前
日本電気株式会社
移相器およびアンテナ装置
1か月前
日本電気株式会社
端末装置および無線通信方法
15日前
日本電気株式会社
分析方法および分析システム
1日前
日本電気株式会社
機器冷却装置及びその冷却方法
16日前
日本電気株式会社
共振器及びそれを備えた導波回路
2日前
日本電気株式会社
TS合成装置および放送システム
1か月前
日本電気株式会社
光ファイバ伝送路及び光伝送方法
1か月前
日本電気株式会社
処理装置、方法、及びプログラム
28日前
日本電気株式会社
プログラム、算出装置、及び方法
16日前
日本電気株式会社
ケージ、光伝送装置及び挿抜方法
1か月前
日本電気株式会社
リング共振器、およびその製造方法
1か月前
日本電気株式会社
リング共振器、およびその製造方法
29日前
日本電気株式会社
システム及びマイグレーション方法
4日前
日本電気株式会社
レドーム、及びレドームの製造方法
1か月前
日本電気株式会社
推定装置、推定方法及びプログラム
7日前
日本電気株式会社
推定装置、推定方法及びプログラム
7日前
日本電気株式会社
ピーク抑圧装置及びピーク抑圧方法
14日前
日本電気株式会社
処理装置、処理方法、及びプログラム
1か月前
日本電気株式会社
波長可変レーザ装置及びその構成方法
今日
日本電気株式会社
処理装置、処理方法、及びプログラム
4日前
日本電気株式会社
推定装置、推定方法、及び、記録媒体
1日前
日本電気株式会社
処理装置、処理方法、及びプログラム
1か月前
続きを見る
他の特許を見る