TOP
|
特許
|
意匠
|
商標
特許ウォッチ
Twitter
他の特許を見る
10個以上の画像は省略されています。
公開番号
2025145601
公報種別
公開特許公報(A)
公開日
2025-10-03
出願番号
2024045878
出願日
2024-03-22
発明の名称
処理剤液塗布装置および画像形成装置
出願人
株式会社リコー
代理人
弁理士法人酒井国際特許事務所
主分類
B41J
2/01 20060101AFI20250926BHJP(印刷;線画機;タイプライター;スタンプ)
要約
【課題】処理剤によるバンディング状の塗布むらの発生を抑制することができる処理剤液塗布装置および画像形成装置を提供する。
【解決手段】画像形成装置に搭載される処理剤液塗布装置であって、搬送される記録媒体に対して処理剤を塗布する塗布ローラと、塗布ローラに対して加圧する加圧ローラと、塗布ローラに処理剤を供給する供給ローラと、画像形成装置によりジョブ情報が取得されてから記録媒体が塗布ローラに到達するまで、塗布ローラを回転させる第1制御部と、を備える。
【選択図】図7
特許請求の範囲
【請求項1】
画像形成装置に搭載される処理剤液塗布装置であって、
搬送される記録媒体に対して処理剤を塗布する塗布ローラと、
前記塗布ローラに対して加圧する加圧ローラと、
前記塗布ローラに前記処理剤を供給する供給ローラと、
前記画像形成装置によりジョブ情報が取得されてから前記記録媒体が前記塗布ローラに到達するまで、前記塗布ローラを回転させる第1制御部と、
を備えた処理剤液塗布装置。
続きを表示(約 1,100 文字)
【請求項2】
前記第1制御部は、前記画像形成装置によりジョブ情報が取得されてから前記記録媒体が前記塗布ローラに到達するまで、前記記録媒体に対応する線速よりも低い線速となるような回転数で前記塗布ローラを回転させる請求項1に記載の処理剤液塗布装置。
【請求項3】
前記第1制御部は、前記塗布ローラ、前記加圧ローラおよび前記供給ローラを同時に回転させる請求項1または2に記載の処理剤液塗布装置。
【請求項4】
前記第1制御部は、前記画像形成装置によりジョブ情報が取得されてから前記記録媒体が前記塗布ローラに到達するまで、前記記録媒体に対応する線速の1/10以下の線速となる回転数で前記塗布ローラを回転させる請求項2に記載の処理剤液塗布装置。
【請求項5】
前記第1制御部は、前記記録媒体が前記塗布ローラに到達した後、前記記録媒体に対応する線速となる回転数で前記塗布ローラを回転させる請求項2に記載の処理剤液塗布装置。
【請求項6】
前記第1制御部は、前記記録媒体が前記塗布ローラに到達した後、前記塗布ローラ、前記加圧ローラおよび前記供給ローラを同時に回転させる請求項5に記載の処理剤液塗布装置。
【請求項7】
記録媒体の種類ごとに前記塗布ローラの線速が対応付けられたテーブルを記憶する記憶部を、さらに備え、
前記第1制御部は、前記画像形成装置によりジョブ情報が取得されてから前記記録媒体が前記塗布ローラに到達するまで、前記記憶部に記憶された前記テーブルで規定された該記録媒体に対応する線速よりも低い線速となるような回転数で前記塗布ローラを回転させる請求項2に記載の処理剤液塗布装置。
【請求項8】
前記画像形成装置によりジョブ情報が取得される前において、前記加圧ローラおよび前記供給ローラを、それぞれ前記塗布ローラから離間させる第2制御部を、さらに備え、
前記第1制御部は、前記画像形成装置によりジョブ情報が取得される前において、前記塗布ローラ、前記加圧ローラおよび前記供給ローラを非回転とする請求項1または2に記載の処理剤液塗布装置。
【請求項9】
前記第2制御部は、前記画像形成装置によりジョブ情報が取得されたとき、前記加圧ローラおよび前記供給ローラを、それぞれ前記塗布ローラに当接させる請求項8に記載の処理剤液塗布装置。
【請求項10】
請求項1または2に記載の処理剤液塗布装置と、
前記処理剤液塗布装置により前記処理剤が塗布された前記記録媒体に対してインクと吐出して画像形成を行う吐出ヘッドと、
を備えた画像形成装置。
発明の詳細な説明
【技術分野】
【0001】
本発明は、処理剤液塗布装置および画像形成装置に関する。
続きを表示(約 2,300 文字)
【背景技術】
【0002】
メディアにインクジェットで作像印刷する画像生成装置において、作像工程のメディアに処理剤を塗布することにより、画質の向上を図る技術が知られており、一般的には作像工程の前に、処理剤が含有された塗布ローラと、メディアを介して対向する側にある搬送ローラとでメディアを支持しながら、メディアが通過する際に塗布ローラによって処理剤が塗布される構成が用いられる。
【0003】
このような塗布ローラで処理剤をメディアに塗布する先塗り液塗布装置として、画像形成前のメディアに対して処理剤液を塗布する塗布ローラと、塗布ローラに圧接するスクィーズローラと、塗布ローラとスクィーズローラのニップ部に処理剤液を供給する処理剤液供給手段と、塗布ローラに対するスクィーズローラの圧接力を調整するスクイーズ圧調整機構と、を備え、スクイーズ圧調整機構によるスクィーズローラの圧接力が当該先塗り液塗布装置内でのメディアの搬送速度に対してほぼ比例するように調整されている構成が開示されている(例えば特許文献1)。
【発明の概要】
【発明が解決しようとする課題】
【0004】
しかしながら、従来の技術では、外周に弾性層を設けられた塗布ローラは、固定ローラと加圧ローラとの間に挟まれ、両ローラそれぞれとニップが形成されるが、塗布ローラが非回転状態で放置されると、塗布ローラには上下2箇所の180°ピッチのニップによる凹部が残ってしまい、上述のニップに対してメディアが挿入される際に当該メディアの線速に合わせて塗布ローラが回転する場合に、上述の凹部に対して塗布される処理剤の量が増えるため、塗布ローラの半周分のピッチのバンディング状の塗布むらが発生するという課題がある。
【0005】
本発明は、上記に鑑みてなされたものであって、処理剤によるバンディング状の塗布むらの発生を抑制することができる処理剤液塗布装置および画像形成装置を提供することを目的とする。
【課題を解決するための手段】
【0006】
上述した課題を解決し、目的を達成するために、本発明は、画像形成装置に搭載される処理剤液塗布装置であって、搬送される記録媒体に対して処理剤を塗布する塗布ローラと、前記塗布ローラに対して加圧する加圧ローラと、前記塗布ローラに前記処理剤を供給する供給ローラと、前記画像形成装置によりジョブ情報が取得されてから前記記録媒体が前記塗布ローラに到達するまで、前記塗布ローラを回転させる第1制御部と、を備えたことを特徴とする。
【発明の効果】
【0007】
本発明によれば、処理剤によるバンディング状の塗布むらの発生を抑制することができる。
【図面の簡単な説明】
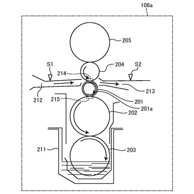
【0008】
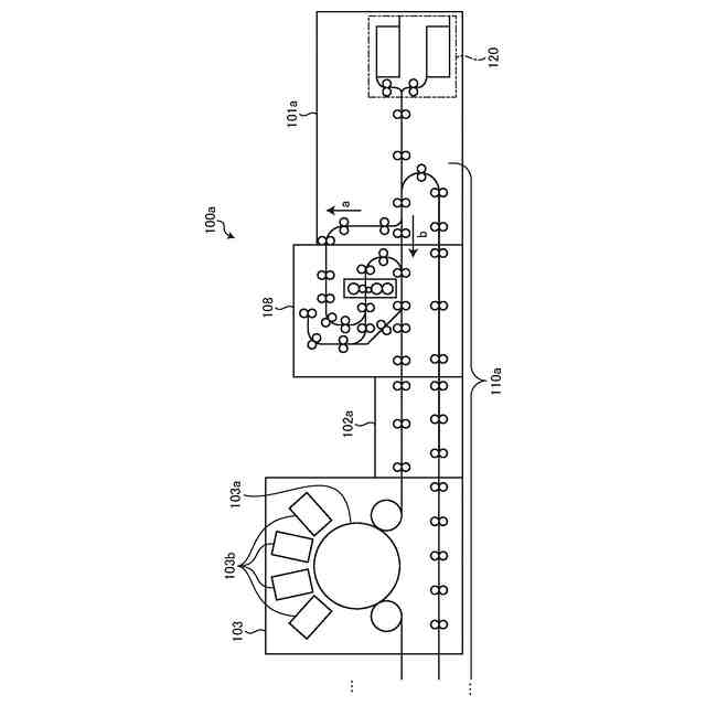
図1は、実施形態に係る画像形成装置の全体構成の一例を示す図である。
図2は、実施形態に係る画像形成装置の全体構成の別の例を示す図である。
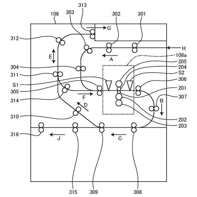
図3は、実施形態に係る画像形成装置の先塗ユニットの構成の一例を示す図である。
図4は、実施形態に係る画像形成装置の先塗ユニットの塗布部の構成の一例を示す図である。
図5は、実施形態に係る画像形成装置のハードウェア構成の一例を示す図である。
図6は、実施形態に係る画像形成装置の先塗ユニットの塗布部の塗布ローラの制御動作を説明する図である。
図7は、実施形態に係る画像形成装置の機能ブロックの構成の一例を示す図である。
図8は、従来の画像形成装置の先塗ユニットの塗布部における処理剤の塗布前の準備状態を示す図である。
図9は、従来の画像形成装置の先塗ユニットの塗布部における処理剤の塗布時の状態を示す図である。
図10は、従来の画像形成装置の先塗ユニットで処理剤が塗布されたメディアにおいてバンディング状の塗布むらが発生した状態を示す図である。
図11は、実施形態に係る画像形成装置の先塗ユニットの塗布部における非動作時の状態を示す図である。
図12は、実施形態に係る画像形成装置の先塗ユニットの塗布部における処理剤の塗布前の準備状態を示す図である。
図13は、実施形態に係る画像形成装置の先塗ユニットの塗布部における処理剤の塗布時の状態を示す図である。
図14は、実施形態の画像形成装置の先塗ユニットで処理剤が塗布されたメディアの状態を示す図である。
【発明を実施するための形態】
【0009】
以下に、図面を参照しながら、本発明に係る処理剤液塗布装置および画像形成装置の実施形態を詳細に説明する。また、以下の実施形態によって本発明が限定されるものではなく、以下の実施形態における構成要素には、当業者が容易に想到できるもの、実質的に同一のもの、およびいわゆる均等の範囲のものが含まれる。さらに、以下の実施形態の要旨を逸脱しない範囲で構成要素の種々の省略、置換、変更および組み合わせを行うことができる。
【0010】
(画像形成装置の全体構成)
図1は、実施形態に係る画像形成装置の全体構成の一例を示す図である。図2は、実施形態に係る画像形成装置の全体構成の別の例を示す図である。図1および図2を参照しながら、本実施形態に係る画像形成装置100の全体構成について説明する。
(【0011】以降は省略されています)
この特許をJ-PlatPat(特許庁公式サイト)で参照する
関連特許
株式会社リコー
綴じ装置
1か月前
株式会社リコー
画像形成装置
1か月前
株式会社リコー
画像形成装置
19日前
株式会社リコー
印刷システム
8日前
株式会社リコー
画像形成装置
8日前
株式会社リコー
画像形成装置
8日前
株式会社リコー
画像形成装置
11日前
株式会社リコー
液体塗布装置
12日前
株式会社リコー
画像形成装置
27日前
株式会社リコー
画像形成装置
26日前
株式会社リコー
画像形成装置
4日前
株式会社リコー
映像表示装置
29日前
株式会社リコー
画像形成装置
1か月前
株式会社リコー
履帯式走行体
1か月前
株式会社リコー
画像形成装置
1か月前
株式会社リコー
液体吐出装置
1か月前
株式会社リコー
感熱記録媒体
5日前
株式会社リコー
画像形成装置
8日前
株式会社リコー
投薬管理システム
27日前
株式会社リコー
印刷応答補償機構
12日前
株式会社リコー
情報処理システム
29日前
株式会社リコー
生体情報測定装置
5日前
株式会社リコー
画像形成システム
4日前
株式会社リコー
画像投射システム
19日前
株式会社リコー
拡張アンテナ装置
11日前
株式会社リコー
液体を吐出する装置
5日前
株式会社リコー
マーキングシステム
11日前
株式会社リコー
電極及びその製造方法
6日前
株式会社リコー
電極及びその製造方法
8日前
株式会社リコー
多孔質構造体の製造方法
8日前
株式会社リコー
測定装置および測定方法
28日前
株式会社リコー
測定装置および測定方法
28日前
株式会社リコー
測定装置および測定方法
28日前
株式会社リコー
定着装置及び画像形成装置
18日前
株式会社リコー
定着装置及び画像形成装置
12日前
株式会社リコー
給送装置及び画像形成装置
1か月前
続きを見る
他の特許を見る