TOP
|
特許
|
意匠
|
商標
特許ウォッチ
Twitter
他の特許を見る
10個以上の画像は省略されています。
公開番号
2025146292
公報種別
公開特許公報(A)
公開日
2025-10-03
出願番号
2024046983
出願日
2024-03-22
発明の名称
養生治具
出願人
大和ハウス工業株式会社
代理人
個人
,
個人
主分類
E04G
21/30 20060101AFI20250926BHJP(建築物)
要約
【課題】施工部材の接合部に対する養生作業における作業効率の改善と作業時間の短縮が可能な養生治具を提供する。また、養生作業に伴って廃棄物を生じさせない養生治具を提供する。
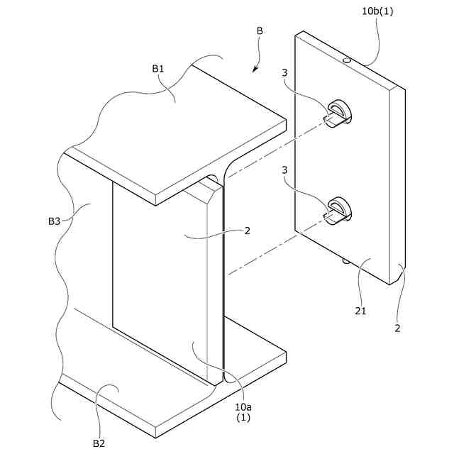
【解決手段】養生治具1は、高力ボルトSが挿通される接合部を有する梁Bの接合部を養生するために用いられる。接合部の一方の面と、一方の面に対向する他方の面と、のそれぞれを養生する一組の養生部材10を備え、養生部材10は、接合部の一方の面又は他方の面を被覆する被覆面21を有する被覆体2と、被覆体2から、被覆面21と直交する方向に突出し、梁Bのボルト孔B4に挿通される突出部材3と、を有し、一組の養生部材10の突出部材3は、接合部の一方の面及び他方の面からボルト孔に挿通された際に互いに連結し、一組の養生部材10の被覆体2は、突出部材3が互いに連結した際に、接合部を挟んで一方の面及び前記他方の面を被覆する。
【選択図】図7
特許請求の範囲
【請求項1】
締結具が挿通される接合部を有する施工部材の前記接合部を養生するために用いられる養生治具であって、
前記接合部の一方の面と、前記一方の面に対向する他方の面と、のそれぞれを養生する一組の養生部材を備え、
前記養生部材の各々は、
前記接合部の前記一方の面又は前記他方の面を被覆する被覆面を有する面状被覆体と、
前記面状被覆体から、前記被覆面と直交する方向に突出し、前記締結具を挿通可能な前記施工部材の挿通孔に挿通される突出部材と、を有し、
前記一組の養生部材の前記突出部材は、前記接合部の前記一方の面及び前記他方の面から前記挿通孔に挿通された際に互いに連結し、
前記一組の養生部材の前記面状被覆体は、前記突出部材が互いに連結した際に、前記接合部を挟んで前記一方の面及び前記他方の面を被覆することを特徴とする養生治具。
続きを表示(約 1,000 文字)
【請求項2】
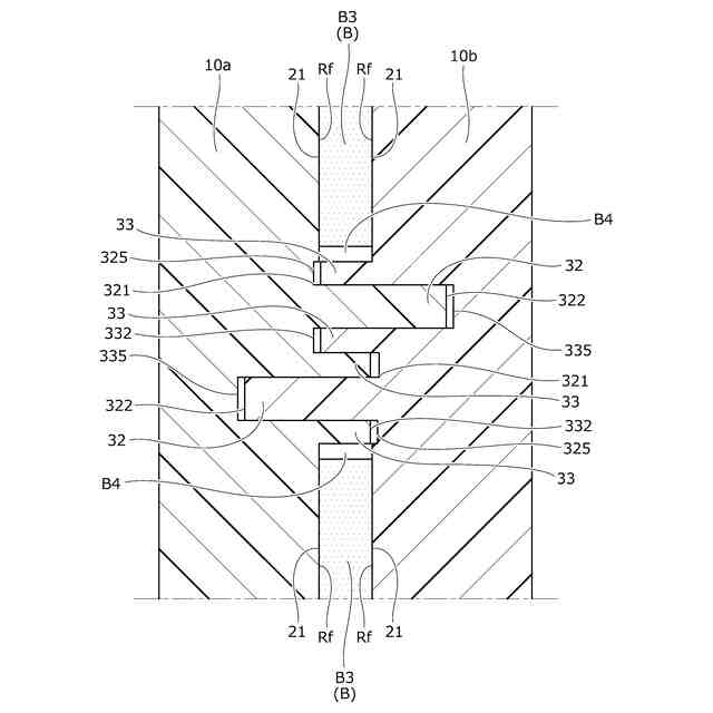
前記突出部材は、嵌合凹部と、前記嵌合凹部に嵌合可能な嵌合凸部と、を有し、
前記嵌合凹部と前記嵌合凸部は、互いに隣接して前記被覆面から突出し、同一の前記挿通孔に挿通され、
前記一組の養生部材の前記突出部材は、それぞれの前記嵌合凹部と前記嵌合凸部が嵌合することによって互いに連結することを特徴とする請求項1に記載の養生治具。
【請求項3】
前記嵌合凹部は、嵌合方向から見て半円形状の凹部を形成する側壁を有し、
前記嵌合凸部は、嵌合方向から見て半円形状の凸部を形成する側壁を有し、
前記突出部材が前記挿通孔に挿通された際に、前記嵌合凹部の前記側壁と前記嵌合凸部の前記側壁の円周部は、前記挿通孔の外周に沿って延びることを特徴とする請求項2に記載の養生治具。
【請求項4】
前記突出部材は、嵌合方向から見て円形状を有する嵌合凹部と、嵌合方向から見て円形状を有し、前記嵌合凹部に嵌合可能な嵌合凸部と、を有し、
前記嵌合凹部と前記嵌合凸部は、前記面状被覆体から、互いに反対方向に突出し、
前記一組の養生部材の前記突出部材は、それぞれの前記嵌合凹部と前記嵌合凸部が嵌合することによって互いに連結することを特徴とする請求項1に記載の養生治具。
【請求項5】
前記面状被覆体は、前記被覆面と、該被覆面と対向する対向面と、前記被覆面及び前記対向面の間に介在する側面と、を有し、
前記側面には、該側面と直交する方向に互いに隣接して配設される他の前記養生部材と連接する連接部が設けられ、
前記連接部は、互いに嵌合可能な連接凹部と連接凸部を有していることを特徴とする請求項1に記載の養生治具。
【請求項6】
前記面状被覆体は、前記被覆面と、前記被覆面と対向する対向面と、前記被覆面及び前記対向面の間に介在する側面と、を有し、
前記側面は、前記被覆面及び前記対向面に対して傾斜する傾斜面を有していることを特徴とする請求項1に記載の養生治具。
【請求項7】
前記側面は、前記被覆面から垂直に屈曲する垂直面と、前記垂直面から前記被覆面及び前記対向面に対して傾斜して延びる前記傾斜面と、を有していることを特徴とする請求項6に記載の養生治具。
【請求項8】
前記養生部材には、前記養生治具の種別を判別可能な種別表示が付されていることを特徴とする請求項1に記載の養生治具。
発明の詳細な説明
【技術分野】
【0001】
本発明は、養生治具に関し、特に、接合部を有する施工部材の養生治具に関する。
続きを表示(約 2,200 文字)
【背景技術】
【0002】
従来、梁、又は柱からなる施工部材を互いに接合する際には、施工部材にガセットプレートを添接し、高力ボルトを締結することにより施工部材を接合する摩擦接合が行われている。ここで、摩擦接合について、梁同士を接合する場合を例に挙げて以下で説明する。梁の端部及びガセットプレートには、高力ボルトを挿通可能な複数のボルト孔が形成されている。そして、互いに接合される梁の端部にガセットプレートを添接し、ボルト孔に高力ボルトを挿通して締付けることで、梁とガセットプレートの間に大きな圧縮力を生じさせる。この結果、梁とガセットプレートの間に、高い摩擦抵抗が発生する。換言すると、互いに接合される梁は、摩擦力によって固定されるため、応力を一箇所に集中させることなく高い強度で接合することができる。
【0003】
一方、耐環境性や耐久性を向上させるために、梁は、塗装が施される。具体的には、耐熱性や防錆性の高い塗料で梁を被覆することによって、目的とする耐環境性及び耐久性の向上が実現されている。
しかしながら、梁全体に塗装を施すと、塗料によって梁とガセットプレートの間の摩擦係数が低下し、接合強度の低下を招く虞があった。そのため、塗装に先立ち、小梁とガセットプレートの接合部にマスキングテープを貼着し、接合部を養生することによって塗料が付着することを防止していた。これにより、塗料が塗布される塗装領域と、塗料の付着を防止し、高い摩擦係数を生じさせる摩擦領域と、を形成し、耐環境性、耐久性、及び高い接合強度の両立を実現することができる。
【0004】
特許文献1には、効率的に接合部を養生することができるマスキングテープが開示されている。具体的には、予め規定された幅寸法を有するマスキングテープと、該マスキングテープを梁のボルト孔の位置を基準として貼着することによって、塗装領域及び摩擦領域を正確に形成することができるマスキング方法が開示されている。
【先行技術文献】
【特許文献】
【0005】
特開2014-104449号公報
【発明の概要】
【発明が解決しようとする課題】
【0006】
特許文献1に記載されたマスキングテープを用いることによって、養生作業の作業効率が改善するものの、接合部に対してマスキングテープを貼り付ける作業に時間を要するため、更なる改善と作業時間の短縮が望まれていた。
また、マスキングテープは、塗装の終了後に廃棄されることとなるため、廃棄物の削減が望まれていた。
【0007】
本発明は、上記の課題に鑑みてなされたものであり、本発明の目的は、施工部材の接合部に対する養生作業の作業効率の改善と作業時間の短縮が可能な養生治具を提供することにある。
また、本発明の他の目的は、養生作業に伴って廃棄物を生じさせない養生治具を提供することにある。
【課題を解決するための手段】
【0008】
前記課題は、本発明の養生治具によれば、締結具が挿通される接合部を有する施工部材の前記接合部を養生するために用いられる養生治具であって、前記接合部の一方の面と、前記一方の面に対向する他方の面と、のそれぞれを養生する一組の養生部材を備え、前記養生部材は、前記接合部の前記一方の面又は前記他方の面を被覆する被覆面を有する面状被覆体と、前記面状被覆体から、前記被覆面と直交する方向に突出し、前記締結具を挿通可能な前記施工部材の挿通孔に挿通される突出部材と、を有し、前記一組の養生部材の前記突出部材は、前記接合部の前記一方の面及び前記他方の面から前記挿通孔に挿通された際に互いに連結し、前記一組の養生部材の前記被覆面状体は、前記突出部材が互いに連結した際に、前記接合部を挟んで前記一方の面及び前記他方の面を被覆することにより解決される。
【0009】
上記構成によれば、養生治具は、接合部を被覆する被覆面を有する面状被覆体と、締結具が挿通される挿通孔に接合部の両側から挿通された際に、互いに連結する突出部材と、を有する一組の養生部材を備え、面状被覆体は、突出部材が互いに連結した際に、接合部の両側を被覆する。そのため、接合部を挟んで突出部材を連結させるという簡単な作業によって施工部材の接合部を養生することができ、養生作業の作業効率の改善と作業時間の短縮を実現することが可能となる。また、マスキングテープを使用しないため、養生作業に伴って廃棄物を生じさせることなく、施工部材の接合部を養生することが可能となる。
【0010】
また、前記突出部材は、嵌合凹部と、前記嵌合凹部に嵌合可能な嵌合凸部と、を有し、前記嵌合凹部と前記嵌合凸部は、互いに隣接して前記被覆面から突出し、同一の挿通孔に挿通され、前記一組の養生部材の前記突出部材は、それぞれの前記嵌合凹部と前記嵌合凸部が嵌合することによって互いに連結するとよい。
上記構成によれば、嵌合凹部と嵌合凸部が同一の挿通孔に挿通されるため、嵌合凹部及び嵌合凸部が嵌合した際に、突出部材が変形することによって連結力が低下することを抑制することができる。そのため、施工部材の塗装中に、施工部材から養生治具が不用意に脱落することを防止することが可能となる。
(【0011】以降は省略されています)
この特許をJ-PlatPat(特許庁公式サイト)で参照する
関連特許
個人
接合構造
5日前
個人
タッチミー
4日前
個人
屋台
22日前
個人
野良猫ハウス
1か月前
個人
フェンス
1か月前
個人
転落防止用手摺
1か月前
個人
地下型マンション
3か月前
ニチハ株式会社
建築板
1か月前
個人
居住車両用駐車場
1か月前
個人
ベンリナアングル
4日前
個人
筋交自動設定装置
12日前
積水樹脂株式会社
柵体
1か月前
個人
鋼管結合資材
3か月前
個人
熱抵抗多層断熱建材
1か月前
個人
壁断熱パネル
4か月前
株式会社タナクロ
テント
3か月前
個人
柵
2か月前
個人
補強部材
1か月前
成友建設株式会社
建物
1か月前
鹿島建設株式会社
壁体
1か月前
個人
循環流水式屋根融雪装置
3か月前
個人
身体用シェルター
12日前
個人
身体用シェルター
12日前
個人
可搬型供養墓
10日前
三協立山株式会社
構造体
12日前
インターマン株式会社
天井構造
1か月前
三協立山株式会社
構造体
12日前
三協立山株式会社
構造体
12日前
三協立山株式会社
構造体
3か月前
株式会社熊谷組
木質材料
22日前
三協立山株式会社
構造体
12日前
株式会社熊谷組
床構成材
2日前
三協立山株式会社
構造体
12日前
イワブチ株式会社
組立柱
1か月前
三協立山株式会社
構造体
12日前
三協立山株式会社
構造体
4か月前
続きを見る
他の特許を見る