TOP
|
特許
|
意匠
|
商標
特許ウォッチ
Twitter
他の特許を見る
10個以上の画像は省略されています。
公開番号
2025146417
公報種別
公開特許公報(A)
公開日
2025-10-03
出願番号
2024047172
出願日
2024-03-22
発明の名称
リチウム金属電池の劣化状態判定装置、リチウム金属電池の劣化状態判定方法、及びプログラム
出願人
本田技研工業株式会社
代理人
個人
,
個人
,
個人
主分類
G01R
31/392 20190101AFI20250926BHJP(測定;試験)
要約
【課題】リチウム金属電池の劣化を精度よく検出できるようにする。
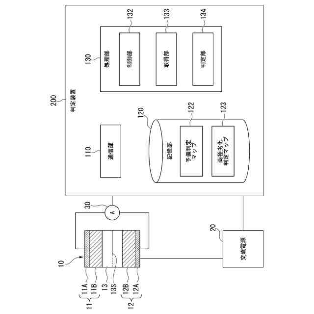
【解決手段】リチウム金属電池の劣化状態判定装置は、リチウムを含む負極を備えるリチウム金属電池に電圧を印加して得られる負極抵抗値を取得する取得部と、前記負極抵抗値に基づいて推定される前記負極の推定厚さと、第1マップにより設定された前記負極抵抗値と前記負極の厚さに関する第1基準値との関係に基づいて、前記リチウム金属電池の劣化状態を判定する判定部と、を備える。
【選択図】図1
特許請求の範囲
【請求項1】
リチウムを含む負極を備えるリチウム金属電池に電圧を印加して得られる抵抗値に関する抵抗値情報を取得する取得部と、
あらかじめ作成された前記負極の厚さと前記抵抗値との関係を示す第1マップと、取得された前記抵抗値情報とに基づいて、前記リチウム金属電池の劣化状態を判定する判定部と、を備える、
リチウム金属電池の劣化状態判定装置。
続きを表示(約 1,300 文字)
【請求項2】
前記取得部は、前記リチウム金属電池から放電される電流の電流値に基づいて、前記抵抗値情報を取得する、
請求項1に記載のリチウム金属電池の劣化状態判定装置。
【請求項3】
前記判定部は、取得された抵抗値が、前記負極の厚さが第1基準値以下となる抵抗値である場合に、前記リチウム金属電池の劣化状態が、再利用が可能な状態にあると判定する、
請求項1に記載のリチウム金属電池の劣化状態判定装置。
【請求項4】
前記判定部は、あらかじめ作成された前記リチウム金属電池の正極の厚さと前記抵抗値との関係を示す第2マップとにさらに基づいて、前記リチウム金属電池の劣化状態を判定し、
取得された前記抵抗値が、前記正極の厚さが第2基準値以下となる抵抗値である場合に、前記リチウム金属電池の劣化状態が、再利用が可能な状態にあると判定する、
請求項3に記載のリチウム金属電池の劣化状態判定装置。
【請求項5】
前記リチウム金属電池は、車両に搭載されたリチウム金属電池であり、
前記取得部は、前記車両から取り外された前記リチウム金属電池に交流電圧を印加して得られる抵抗値を取得する、
請求項3または4に記載のリチウム金属電池の劣化状態判定装置。
【請求項6】
前記リチウム金属電池は、車両に搭載されたリチウム金属電池であり、
前記取得部は、前記車両に搭載中の前記リチウム金属電池に交流電圧を印加して得られる抵抗値を取得する、
請求項1に記載のリチウム金属電池の劣化状態判定装置。
【請求項7】
前記リチウム金属電池は、車両に搭載されたリチウム金属電池であり、
前記取得部は、前記車両に搭載中の前記リチウム金属電池に、0.001秒以上1.0秒以下の所定時間が経過した後のタイミングにおける前記リチウム金属電池から放電された電流を測定した測定結果を取得し、に基づいて、前記リチウム金属電池の劣化状態を予備判定した予備判定結果を取得し、
前記判定部は、取得された測定結果に基づいて、前記リチウム金属電池の劣化状態を予備判定した予備判定結果に基づいて、前記リチウム金属電池の劣化状態を予備判定する、
請求項1に記載のリチウム金属電池の劣化状態判定装置。
【請求項8】
コンピュータが、
リチウムを含む負極を備えるリチウム金属電池に電圧を印加して得られる抵抗値に関する抵抗値情報を取得し、
あらかじめ作成された前記負極の厚さと前記抵抗値との関係を示す第1マップと、取得された前記抵抗値情報とに基づいて、前記リチウム金属電池の劣化状態を判定する、
リチウム金属電池の劣化状態判定方法。
【請求項9】
コンピュータに、
リチウムを含む負極を備えるリチウム金属電池に電圧を印加して得られる抵抗値に関する抵抗値情報を取得し、
あらかじめ作成された前記負極の厚さと前記抵抗値との関係を示す第1マップと、取得された前記抵抗値情報とに基づいて、前記リチウム金属電池の劣化状態を判定する、ことを行わせる、
プログラム。
発明の詳細な説明
【技術分野】
【0001】
本発明は、リチウム金属電池の劣化状態判定装置、リチウム金属電池の劣化状態判定方法、及びプログラムに関する。
続きを表示(約 1,400 文字)
【背景技術】
【0002】
近年、より多くの人々が手ごろで信頼でき、持続可能かつ先進的なエネルギーへのアクセスを確保できるようにするため、エネルギーの効率化に貢献する研究開発が行われている。このような技術に関して、二次電池として、負極としてリチウム金属を利用するリチウム金属電池が注目されている。リチウム金属電池は、正極と、金属リチウム層を有する負極と、正極と負極との間に設けられた電解質と、を含む。
【先行技術文献】
【特許文献】
【0003】
国際公開第2023/118960号公報
特開2023-17581号公報
特開2022-113377号公報
【発明の概要】
【発明が解決しようとする課題】
【0004】
ところで、本技術において、リチウム金属電池は、充放電を重ねるにつれて、負極の金属リチウム層に、SEI(Solid Electrolyte Interphase)膜が形成されて成長していく。このため、負極の厚みが増加するとともに負極の厚みに伴いリチウム金属に負荷がかかり、リチウム金属電池に構造破壊などをもたらす劣化の懸念がある。
【0005】
本発明は、このような事情を考慮してなされたものであり、リチウム金属電池の劣化を精度よく検出できるようにすることを目的の一つとする。そして、延いてはエネルギーの効率化に寄与するものである。
【課題を解決するための手段】
【0006】
この発明に係るリチウム金属電池の劣化状態判定装置、リチウム金属電池の劣化状態判定方法、及びプログラムは、以下の構成を採用した。
(1):この発明の一態様に係るリチウム金属電池の劣化状態判定装置は、リチウムを含む負極を備えるリチウム金属電池に電圧を印加して得られる抵抗値に関する抵抗値情報を取得する取得部と、あらかじめ作成された前記負極の厚さと前記抵抗値との関係を示す第1マップと、取得された前記抵抗値情報とに基づいて、前記リチウム金属電池の劣化状態を判定する判定部と、を備える、リチウム金属電池の劣化状態判定装置である。
【0007】
(2):上記(1)の態様において、前記取得部は、前記リチウム金属電池から放電される電流の電流値に基づいて、前記抵抗値情報を取得する、ものである。
【0008】
(3):上記(1)の態様において、前記判定部は、取得された抵抗値が、前記負極の厚さが第1基準値以下となる抵抗値である場合に、前記リチウム金属電池の劣化状態が、再利用が可能な状態にあると判定する、ものである。
【0009】
(4):上記(3)の態様において、前記判定部は、あらかじめ作成された前記リチウム金属電池の正極の厚さと前記抵抗値との関係を示す第2マップとにさらに基づいて、前記リチウム金属電池の劣化状態を判定し、取得された前記抵抗値が、前記正極の厚さが第2基準値以下となる抵抗値である場合に、前記リチウム金属電池の劣化状態が、再利用が可能な状態にあると判定する、ものである。
【0010】
(5):上記(3)または(4)の態様において、前記リチウム金属電池は、車両に搭載されたリチウム金属電池であり、前記取得部は、前記車両から取り外された前記リチウム金属電池に交流電圧を印加して得られる抵抗値を取得する、ものである。
(【0011】以降は省略されています)
この特許をJ-PlatPat(特許庁公式サイト)で参照する
関連特許
本田技研工業株式会社
車両
12日前
本田技研工業株式会社
装置
11日前
本田技研工業株式会社
モータ
8日前
本田技研工業株式会社
車両構造
8日前
本田技研工業株式会社
送電装置
6日前
本田技研工業株式会社
断続装置
6日前
本田技研工業株式会社
ステータ
4日前
本田技研工業株式会社
切断装置
4日前
本田技研工業株式会社
内燃機関
11日前
本田技研工業株式会社
内燃機関
11日前
本田技研工業株式会社
通知装置
11日前
本田技研工業株式会社
車両構造
8日前
本田技研工業株式会社
固体電池
6日前
本田技研工業株式会社
保管装置
6日前
本田技研工業株式会社
電解装置
19日前
本田技研工業株式会社
会話装置
4日前
本田技研工業株式会社
保管装置
6日前
本田技研工業株式会社
バッテリ
5日前
本田技研工業株式会社
バッテリ
5日前
本田技研工業株式会社
保持装置
5日前
本田技研工業株式会社
受電装置
6日前
本田技研工業株式会社
鞍乗型車両
18日前
本田技研工業株式会社
リンク機構
4日前
本田技研工業株式会社
リアクトル
11日前
本田技研工業株式会社
潤滑システム
6日前
本田技研工業株式会社
放電処理方法
6日前
本田技研工業株式会社
電源システム
6日前
本田技研工業株式会社
鞍乗り型車両
5日前
本田技研工業株式会社
運転制御装置
8日前
本田技研工業株式会社
鞍乗り型車両
4日前
本田技研工業株式会社
鞍乗り型車両
26日前
本田技研工業株式会社
ガス回収装置
今日
本田技研工業株式会社
鞍乗り型車両
28日前
本田技研工業株式会社
分離システム
8日前
本田技研工業株式会社
鞍乗り型車両
4日前
本田技研工業株式会社
車両制御装置
12日前
続きを見る
他の特許を見る