TOP
|
特許
|
意匠
|
商標
特許ウォッチ
Twitter
他の特許を見る
10個以上の画像は省略されています。
公開番号
2025142562
公報種別
公開特許公報(A)
公開日
2025-10-01
出願番号
2024042001
出願日
2024-03-18
発明の名称
潤滑システム
出願人
本田技研工業株式会社
代理人
弁理士法人桐朋
主分類
F16N
7/36 20060101AFI20250924BHJP(機械要素または単位;機械または装置の効果的機能を生じ維持するための一般的手段)
要約
【課題】オイル加熱用のヒータ等の装置を使用することなくオイルを迅速に昇温可能な潤滑システムを提供する。
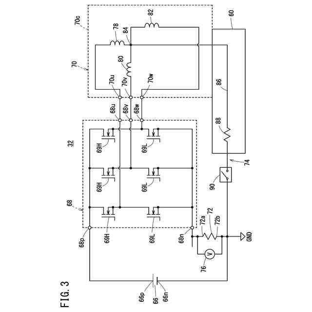
【解決手段】潤滑システムは、オイルによって潤滑される潤滑対象にオイルを供給し得るポンプを駆動する三相モータ70と、三相モータ70の中性点84に電気的に接続された配線上に備えられるスイッチ90と、スイッチ90を開閉し得る制御部と、を備え、制御部は、スイッチ90を閉じることにより、三相モータ70に備えられた複数のコイル78のうちの少なくともいずれかに電力を供給し、コイル78から発せられる熱によりオイルを昇温させる昇温制御を行い得る。
【選択図】図3
特許請求の範囲
【請求項1】
オイルによって潤滑される潤滑対象に前記オイルを供給し得るポンプを駆動する三相モータと、
前記三相モータの中性点に電気的に接続された配線上に備えられるスイッチと、
前記スイッチを開閉し得る制御部と、
を備え、
前記制御部は、前記スイッチを閉じることにより、前記三相モータに備えられた複数のコイルのうちの少なくともいずれかに電力を供給し、前記コイルから発せられる熱により前記オイルを昇温させる昇温制御を行い得る、潤滑システム。
続きを表示(約 740 文字)
【請求項2】
請求項1に記載の潤滑システムにおいて、
前記配線上に備えられた抵抗器を更に備え、
前記昇温制御では、前記抵抗器に更に電力が供給される、潤滑システム。
【請求項3】
請求項1に記載の潤滑システムにおいて、
前記制御部は、前記三相モータの負荷と相関する物理量が所定の閾値を上回った場合に、前記昇温制御を行う、潤滑システム。
【請求項4】
請求項1に記載の潤滑システムにおいて、
前記三相モータのケーシングと前記ポンプとは一体化されている、潤滑システム。
【請求項5】
請求項2に記載の潤滑システムにおいて、
前記オイルを貯留するオイル貯留部を更に備え、
前記抵抗器は、前記オイル貯留部内に配される、潤滑システム。
【請求項6】
請求項5に記載の潤滑システムにおいて、
前記三相モータのケーシングと前記オイル貯留部とは一体化されている、潤滑システム。
【請求項7】
請求項5又は6に記載の潤滑システムにおいて、
前記オイルを貯留するタンクと前記ポンプの吸入ポートとを接続する第1流路と、
前記ポンプの吐出ポートと前記潤滑対象とを接続する第2流路と、
前記第2流路と、前記タンク又は前記第1流路とをリリーフバルブを介して接続する第3流路と、
備え、
前記オイル貯留部は、前記第3流路に配される、潤滑システム。
【請求項8】
請求項4に記載の潤滑システムにおいて、
前記配線上に備えられた抵抗器を更に備え、
前記抵抗器は、前記ポンプに配される、潤滑システム。
発明の詳細な説明
【技術分野】
【0001】
本開示は、潤滑システムに関する。
続きを表示(約 1,400 文字)
【背景技術】
【0002】
近年、より多くの人々が手ごろで信頼でき、持続可能且つ先進的なエネルギーへのアクセスを確保するため、エネルギーの効率化に貢献する電動化技術に関する研究開発が行われている。
【0003】
特許文献1には、モータの発熱を利用して、潤滑対象を潤滑するオイルを昇温することが開示される。
【先行技術文献】
【特許文献】
【0004】
中国特許出願公開第113864434号明細書
【発明の概要】
【発明が解決しようとする課題】
【0005】
潤滑用のオイルをより迅速に昇温するためには、例えば、モータ駆動回路とは別にオイル加熱用のヒータ等の装置を使用することが考えられる。しかし、ヒータ等の装置を使用する場合は、重量及びスペースが増加する。このため、オイル加熱用のヒータ等の装置を使用することなくオイルを迅速に昇温することが望まれる。
【0006】
本発明は、上述した課題を解決することを目的とする。
【課題を解決するための手段】
【0007】
本開示の態様は、オイルによって潤滑される潤滑対象に前記オイルを供給し得るポンプを駆動する三相モータと、前記三相モータの中性点に電気的に接続された配線上に備えられるスイッチと、前記スイッチを開閉し得る制御部と、を備え、前記制御部は、前記スイッチを閉じることにより、前記三相モータに備えられた複数のコイルのうちの少なくともいずれかに電力を供給し、前記コイルから発せられる熱により前記オイルを昇温させる昇温制御を行い得る、潤滑システムである。
【発明の効果】
【0008】
本発明によれば、オイルをより迅速に昇温することができる。
【図面の簡単な説明】
【0009】
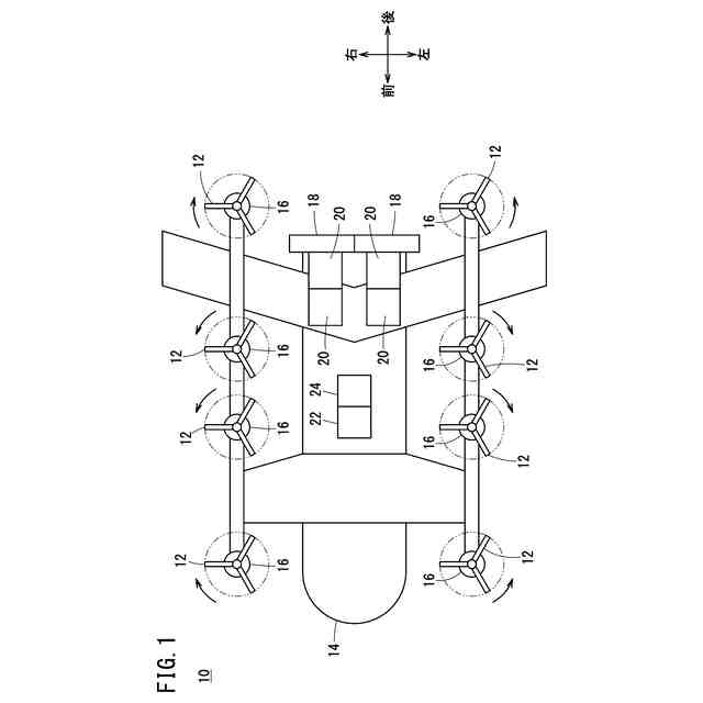
図1は、飛行体の模式図である。
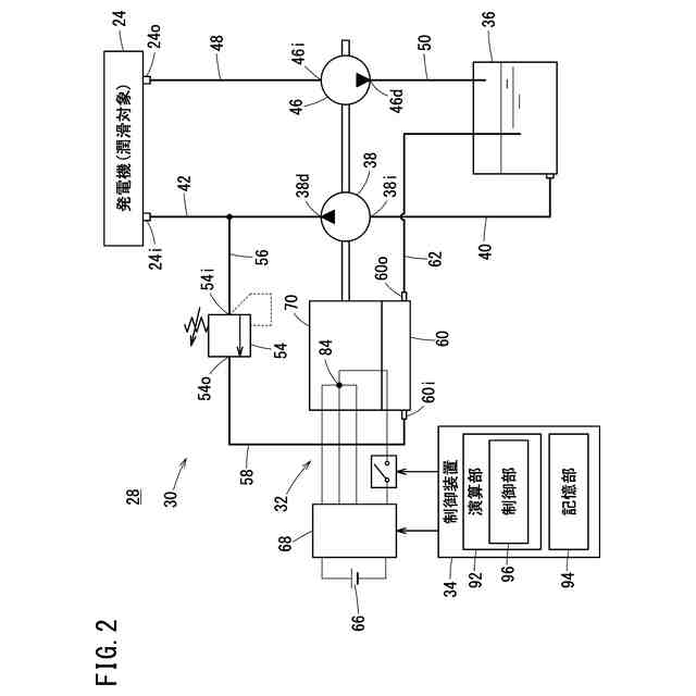
図2は、潤滑システムの概略図である。
図3は、本実施形態に係る動力装置の回路図である。
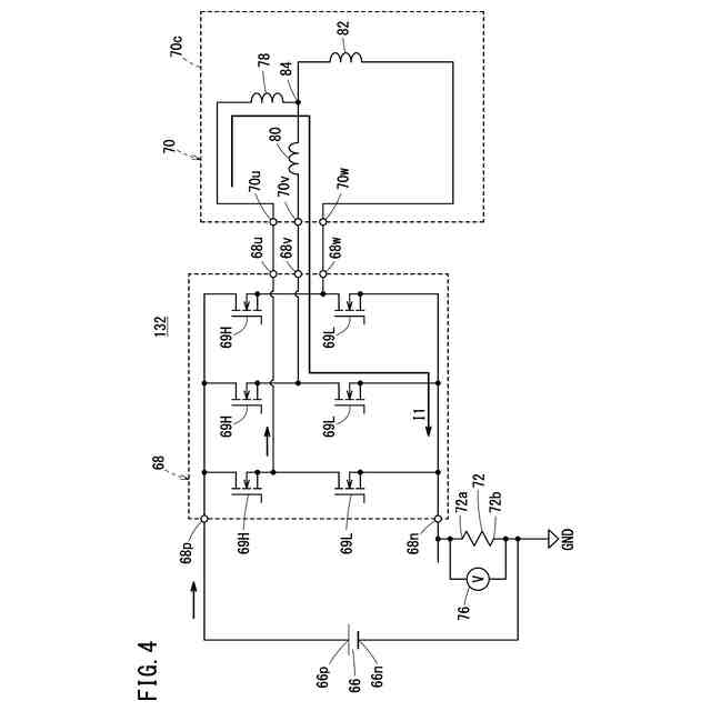
図4は、比較例の動力装置における通電経路を示す図である。
図5は、本実施形態の動力装置における通電経路を示す図である。
図6は、制御部が行う通電判定処理のフローチャートである。
図7は、時間経過に伴うオイルの温度変化を示す図である。
図8は、第1変形例の三相モータ及び第1ポンプを示す図である。
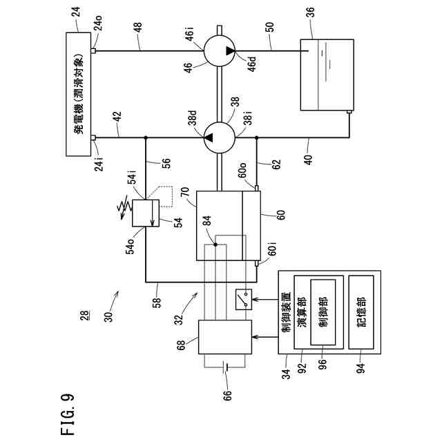
図9は、第3変形例の潤滑システムの概略図である。
【発明を実施するための形態】
【0010】
[1 飛行体10]
図1は、飛行体10の模式図である。飛行体10は、電動垂直離着陸機(eVTOL機)である。飛行体10は、8つのVTOLロータ12を備える。VTOLロータ12は、機体14に対して上方向に推力を発生する。飛行体10は、8つの電動モータ16を備える。1つの電動モータ16が、1つのVTOLロータ12を駆動する。飛行体10は、2つのクルーズロータ18を有する。クルーズロータ18は、機体14に対して前方向に推力を発生する。飛行体10は、4つの電動モータ20を備える。2つの電動モータ20が、1つのクルーズロータ18を駆動する。
(【0011】以降は省略されています)
この特許をJ-PlatPat(特許庁公式サイト)で参照する
関連特許
本田技研工業株式会社
モータ
3日前
本田技研工業株式会社
固体電池
1日前
本田技研工業株式会社
車両構造
3日前
本田技研工業株式会社
保管装置
1日前
本田技研工業株式会社
車両構造
3日前
本田技研工業株式会社
受電装置
1日前
本田技研工業株式会社
送電装置
1日前
本田技研工業株式会社
断続装置
1日前
本田技研工業株式会社
保管装置
1日前
本田技研工業株式会社
放電処理方法
1日前
本田技研工業株式会社
分離システム
3日前
本田技研工業株式会社
運転制御装置
3日前
本田技研工業株式会社
電源システム
1日前
本田技研工業株式会社
潤滑システム
1日前
本田技研工業株式会社
モータ制御装置
1日前
本田技研工業株式会社
モータ支持構造
3日前
本田技研工業株式会社
能動型防振装置
3日前
本田技研工業株式会社
バッテリシステム
3日前
本田技研工業株式会社
鞍乗り型電動車両
3日前
本田技研工業株式会社
鞍乗り型電動車両
3日前
本田技研工業株式会社
撮像装置の取付構造
1日前
本田技研工業株式会社
二酸化炭素回収装置
1日前
本田技研工業株式会社
二酸化炭素回収装置
1日前
本田技研工業株式会社
二酸化炭素回収装置
1日前
本田技研工業株式会社
水上移動体用推進装置
3日前
本田技研工業株式会社
水上移動体用推進装置
3日前
本田技研工業株式会社
水上移動体用推進装置
3日前
本田技研工業株式会社
送電装置及び受電装置
1日前
本田技研工業株式会社
送電装置及び受電装置
1日前
本田技研工業株式会社
水上移動体用推進装置
3日前
本田技研工業株式会社
水上移動体用推進装置
3日前
本田技研工業株式会社
断線検出装置、及び車両
1日前
本田技研工業株式会社
コンソールボックス構造
3日前
本田技研工業株式会社
鞍乗型車両の端子保護構造
3日前
本田技研工業株式会社
鞍乗り型電動車両の車両構造
3日前
本田技研工業株式会社
全固体電池及びその製造方法
3日前
続きを見る
他の特許を見る