TOP
|
特許
|
意匠
|
商標
特許ウォッチ
Twitter
他の特許を見る
公開番号
2025147052
公報種別
公開特許公報(A)
公開日
2025-10-03
出願番号
2025130725,2022136054
出願日
2025-08-05,2022-08-29
発明の名称
サーバ
出願人
トヨタ自動車株式会社
代理人
弁理士法人深見特許事務所
主分類
G06F
8/65 20180101AFI20250926BHJP(計算;計数)
要約
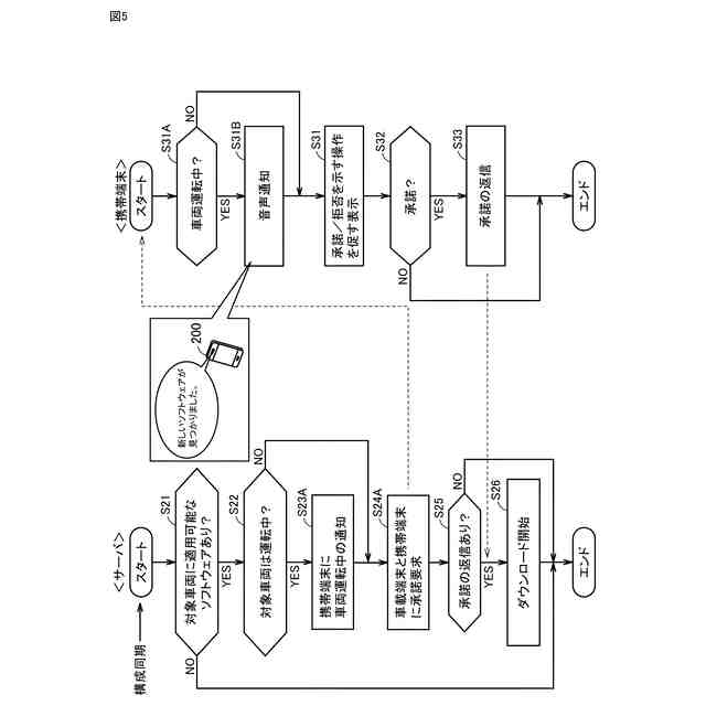
【課題】ソフトウェア更新において、十分なユーザの利便性を確保しつつ、ソフトウェア更新に関する通知によって車両の運転が妨げられることを抑制する。
【解決手段】サーバは、車両の位置および/または車速に基づいて車両が走行中であるか否かを判定する。サーバは、車両に搭載された制御装置のソフトウェアの更新に係る処理の承諾を車両のユーザに要求する通知を行う。サーバは、車両が走行中であると判定された場合には、車両に搭載された車載端末に対して上記通知を行う。サーバは、車両が走行中ではないと判定された場合に、車両のユーザによって携帯可能な携帯端末に対して上記通知を行う。
【選択図】図4
特許請求の範囲
【請求項1】
車両の位置および/または車速に基づいて前記車両が走行中であるか否かを判定する判定部と、
前記車両に搭載された制御装置のソフトウェアの更新に係る処理の承諾を前記車両のユーザに要求する通知を行う通知部と、
を備え、
前記判定部によって前記車両が走行中であると判定された場合には、前記通知部は、前記車両に搭載された車載端末に対して前記通知を行い、
前記判定部によって前記車両が走行中ではないと判定された場合には、前記通知部は、前記ユーザによって携帯可能な携帯端末に対して前記通知を行う、サーバ。
続きを表示(約 180 文字)
【請求項2】
前記判定部によって前記車両が走行中であると判定された場合には、前記通知部は、前記携帯端末に対して前記通知を行わない、請求項1に記載のサーバ。
【請求項3】
前記判定部によって前記車両が走行中ではないと判定された場合に、前記通知部は、前記携帯端末だけでなく、前記車載端末に対しても前記通知を行う、請求項2に記載のサーバ。
発明の詳細な説明
【技術分野】
【0001】
本開示は、サーバ、ソフトウェア更新システム、ソフトウェア更新方法、およびプログラムに関する。
続きを表示(約 1,500 文字)
【背景技術】
【0002】
特開2017-149323号公報(特許文献1)には、OTA(Over The Air)により、車両に搭載された制御装置のソフトウェアを更新する技術が開示されている。
【先行技術文献】
【特許文献】
【0003】
特開2017-149323号公報
【発明の概要】
【発明が解決しようとする課題】
【0004】
特許文献1に記載されるサーバは、ソフトウェア更新の承諾を要求する通知をスマートフォンに対して行い、スマートフォンから承諾の返信を受けると、新しいソフトウェア(ソフトウェアの更新版)のダウンロードを実行する。スマートフォンは、車両のユーザによって携帯可能な端末(以下、「携帯端末」とも称する)に相当する。
【0005】
しかしながら、上記通知を受けるHMI(Human Machine Interface)として携帯端末が最善とは限らない。例えば、ユーザが車両を運転しているときにスマートフォンが上記通知を受けると、ユーザは、上記ソフトウェア更新に関する連絡(承諾要求)を、他の要件に関する連絡(例えば、緊急の連絡)であると誤解する可能性がある。こうした誤解は、ユーザの運転を妨げるかもしれない。その一方で、上記通知を受けるHMIを、車両に搭載された端末(以下、「車載端末」とも称する)に限定してしまうと、ユーザが乗車していないときにソフトウェア更新に関する上記通知(承諾要求)を受けることができなくなり、ユーザの利便性の低下を招く。
【0006】
本開示は、上記課題を解決するためになされたものであり、その目的は、ソフトウェア更新において、十分なユーザの利便性を確保しつつ、ソフトウェア更新に関する通知によって車両の運転が妨げられることを抑制することである。
【課題を解決するための手段】
【0007】
本開示の第1の観点に係る形態に従うと、以下に示すサーバが提供される。
(第1項)当該サーバは、判定部と通知部とを備える。判定部は、車両が運転中であるか否かを判定するように構成される。通知部は、車両に搭載された制御装置のソフトウェアの更新に係る処理の承諾を車両のユーザに要求する通知を行うように構成される。判定部によって車両が運転中であると判定された場合には、通知部は、車両に搭載された車載端末に対して上記通知を行う。判定部によって車両が運転中ではないと判定された場合には、通知部は、車両のユーザによって携帯可能な携帯端末に対して上記通知を行う。
【0008】
上記サーバは、車両が運転中である場合に、車載端末に対して上記通知(承諾要求の通知)を行う。このため、ユーザは、携帯端末を確認せずとも、当該通知を受けた車載端末を確認することで、当該通知がソフトウェア更新に関する通知であることを知ることができる。これにより、ユーザによる車両の運転が妨げられにくくなる。車載端末の例としては、メータパネル、ナビゲーションシステム、ヘッドアップディスプレイが挙げられる。また、上記サーバは、車両が運転中ではない場合に、携帯端末に対して上記通知(承諾要求の通知)を行う。これにより、十分なユーザの利便性を確保しやすくなる。
【0009】
上記第1項に記載のサーバは、以下に示す第2項~第4項のいずれか1項に記載の構成を有し得る。
【0010】
(第2項)第1項に記載のサーバが以下の特徴をさらに有する。判定部によって車両が運転中であると判定された場合には、通知部は、携帯端末に対して上記通知を行わない。
(【0011】以降は省略されています)
この特許をJ-PlatPat(特許庁公式サイト)で参照する
関連特許
トヨタ自動車株式会社
電池
7日前
トヨタ自動車株式会社
車両
3日前
トヨタ自動車株式会社
車両
7日前
トヨタ自動車株式会社
車両
3日前
トヨタ自動車株式会社
車両
17日前
トヨタ自動車株式会社
電解液
3日前
トヨタ自動車株式会社
電動車
3日前
トヨタ自動車株式会社
サーバ
11日前
トヨタ自動車株式会社
回転子
18日前
トヨタ自動車株式会社
回転子
3日前
トヨタ自動車株式会社
ロータ
5日前
トヨタ自動車株式会社
電動車
3日前
トヨタ自動車株式会社
電動車
3日前
トヨタ自動車株式会社
電動車
5日前
トヨタ自動車株式会社
モータ
18日前
トヨタ自動車株式会社
電動車
17日前
トヨタ自動車株式会社
蓄電装置
7日前
トヨタ自動車株式会社
制御装置
7日前
トヨタ自動車株式会社
蓄電装置
7日前
トヨタ自動車株式会社
蓄電装置
7日前
トヨタ自動車株式会社
蓄電装置
11日前
トヨタ自動車株式会社
蓄電装置
3日前
トヨタ自動車株式会社
育苗装置
4日前
トヨタ自動車株式会社
蓄電装置
4日前
トヨタ自動車株式会社
蓄電装置
4日前
トヨタ自動車株式会社
制御装置
7日前
トヨタ自動車株式会社
電源装置
3日前
トヨタ自動車株式会社
給電装置
17日前
トヨタ自動車株式会社
冷却装置
17日前
トヨタ自動車株式会社
電動車両
3日前
トヨタ自動車株式会社
制御装置
3日前
トヨタ自動車株式会社
蓄電装置
7日前
トヨタ自動車株式会社
冷却構造
10日前
トヨタ自動車株式会社
制御装置
7日前
トヨタ自動車株式会社
制御装置
17日前
トヨタ自動車株式会社
表示装置
19日前
続きを見る
他の特許を見る