TOP
|
特許
|
意匠
|
商標
特許ウォッチ
Twitter
他の特許を見る
公開番号
2025147190
公報種別
公開特許公報(A)
公開日
2025-10-06
出願番号
2025131560,2024130706
出願日
2025-08-06,2020-04-30
発明の名称
積層セラミックコンデンサ
出願人
株式会社村田製作所
代理人
個人
,
個人
主分類
H01G
4/30 20060101AFI20250926BHJP(基本的電気素子)
要約
【課題】ESRを低減することが可能な積層セラミックコンデンサを提供すること。
【解決手段】積層セラミックコンデンサ1であって、積層された複数の誘電体層20と積層された複数の内部電極層30とを含む積層体10と、内部電極層30に接続される外部電極40と、を備え、外部電極40は、導電性樹脂層60と、導電性樹脂層60上に配置されるめっき層70と、を有し、導電性樹脂層60は、樹脂部61と、樹脂部61内に分散された導電性フィラー62と、導電性樹脂層60において導電性フィラー62とは異なる分布で偏って存在する金属粒子63と、を有し、樹脂部61に対する金属粒子63の存在比率は、導電性樹脂層60の積層体10側よりも、導電性樹脂層60のめっき層70側の方が高い。
【選択図】図5
特許請求の範囲
【請求項1】
積層された複数の誘電体層と複数の内部電極層とを含む積層体と、
前記内部電極層に接続される外部電極と、を備え、
前記外部電極は、導電性樹脂層と、前記導電性樹脂層上に配置されるめっき層と、を有し、
前記導電性樹脂層は、樹脂部と、導電性フィラーと、前記導電性樹脂層において前記導電性フィラーとは異なる分布で偏って存在する金属粒子と、を有し、
前記積層体の端部側において、前記導電性樹脂層を厚み方向に前記めっき層側と前記積層体側とに二分割したとき、
前記導電性フィラーは、前記積層体側と前記めっき層側のいずれにも存在し、
前記金属粒子は、前記積層体側と前記めっき層側のいずれにも存在し、
前記積層体側と前記めっき層側のそれぞれで前記樹脂部に対する前記金属粒子の存在比率を算出したとき、
前記金属粒子の存在比率は、前記積層体側よりも、前記めっき層側の方が高い、積層セラミックコンデンサ。
続きを表示(約 740 文字)
【請求項2】
前記樹脂部に対する前記導電性フィラーの存在比率は、前記導電性樹脂層の前記積層体側と、前記導電性樹脂層の前記めっき層側とで、略同等である、請求項1に記載の積層セラミックコンデンサ。
【請求項3】
前記導電性フィラーに対する前記金属粒子の存在比率は、前記導電性樹脂層の前記積層体側よりも、前記導電性樹脂層の前記めっき層側の方が高い、請求項1または請求項2に記載の積層セラミックコンデンサ。
【請求項4】
前記金属粒子は、金属一次粒子と、金属一次粒子により構成された金属二次粒子を含み、
前記金属一次粒子の平均粒子径は、前記導電性フィラーの平均粒子径の10分の1以下である、請求項1~3のいずれか1項に記載の積層セラミックコンデンサ。
【請求項5】
前記導電性フィラーの平均粒子径は1μm以上である、請求項4に記載の積層セラミックコンデンサ。
【請求項6】
前記金属一次粒子の平均粒子径は0.1μm以下である、請求項4または請求項5に記載の積層セラミックコンデンサ。
【請求項7】
前記金属粒子は、前記樹脂部において、前記導電性フィラー間に配置され、前記導電性フィラー間の通電経路を形成する、請求項1~6のいずれか1項に記載の積層セラミックコンデンサ。
【請求項8】
前記金属粒子のイオン化傾向は、前記導電性フィラーのイオン化傾向よりも低い、請求項1~7のいずれか1項に記載の積層セラミックコンデンサ。
【請求項9】
前記導電性樹脂層は、有機金属錯体または金属イオンを含む、請求項1~8のいずれか1項に記載の積層セラミックコンデンサ。
発明の詳細な説明
【技術分野】
【0001】
本発明は、積層セラミックコンデンサに関する。
続きを表示(約 1,600 文字)
【背景技術】
【0002】
従来、急激な熱変化等により発生する応力を吸収するために、導電性樹脂層を含む外部電極を備える積層セラミックコンデンサが知られている。特許文献1には、焼き付け電極層の表面に導電性樹脂層を形成し、さらにその表面にめっき層を形成した外部電極が開示されている。導電性樹脂層としては、熱硬化性樹脂に導電性フィラーを配合したものが用いられている。この導電性フィラーが、導電性樹脂層の導電性を確保している。
【先行技術文献】
【特許文献】
【0003】
特開平11-162771号公報
【発明の概要】
【発明が解決しようとする課題】
【0004】
特許文献1の構成においては、導電性樹脂層内の導電性および導電性樹脂層とめっき層の導電性は、導電性フィラーの接触確率に頼っている。よって、導電性フィラーの接触確率が低い場合は、等価直列抵抗(ESR)が高くなってしまう。また、導電性樹脂層とめっき層の界面付近に存在している導電性フィラーが熱硬化性樹脂に覆われている場合、この覆われている部分には、めっきが析出しにくい。また、この部分は、導電性樹脂層とめっき層との間の導電性を低下させる原因にもなる。
【0005】
本発明の目的は、ESRを低減することが可能な積層セラミックコンデンサを提供することである。
【課題を解決するための手段】
【0006】
本発明に係る積層セラミックコンデンサは、積層された複数の誘電体層と積層された複数の内部電極層とを含む積層体と、前記内部電極層に接続される外部電極と、を備え、前記外部電極は、導電性樹脂層と、前記導電性樹脂層上に配置されるめっき層と、を有し、前記導電性樹脂層は、樹脂部と、前記樹脂部内に分散された導電性フィラーと、前記導電性樹脂層において前記導電性フィラーとは異なる分布で偏って存在する金属粒子と、を有し、前記樹脂部に対する前記金属粒子の存在比率は、前記導電性樹脂層の前記積層体側よりも、前記導電性樹脂層の前記めっき層側の方が高い。
【発明の効果】
【0007】
本発明によれば、ESRを低減することが可能な積層セラミックコンデンサを提供することができる。
【図面の簡単な説明】
【0008】
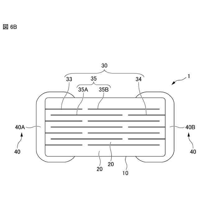
実施形態の積層セラミックコンデンサの外観斜視図である。
図1に示す積層セラミックコンデンサのII-II線に沿った断面図である。
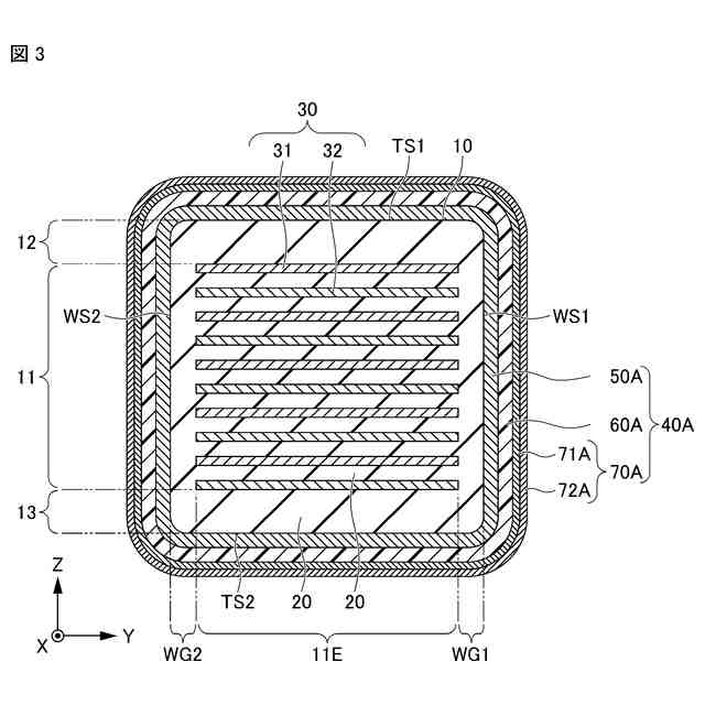
図2に示す積層セラミックコンデンサのIII-III線に沿った断面図である。
図2に示す積層セラミックコンデンサのIV-IV線に沿った断面図である。
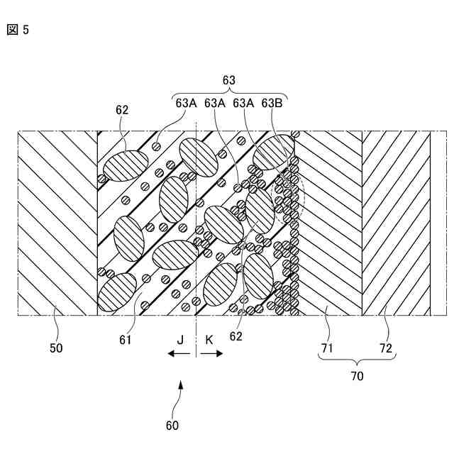
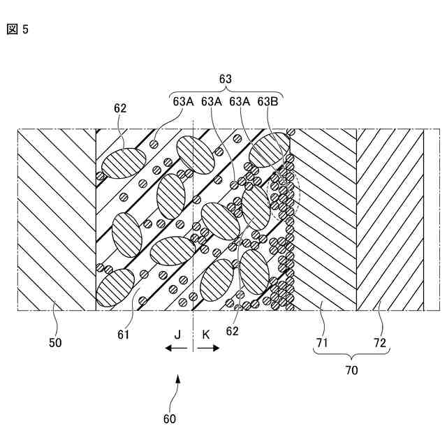
図2に示す積層セラミックコンデンサのV部の拡大図であって、導電性樹脂層の概要を示す図である。
2連構造の積層セラミックコンデンサを示す図である。
3連構造の積層セラミックコンデンサを示す図である。
4連構造の積層セラミックコンデンサを示す図である。
【発明を実施するための形態】
【0009】
以下、本発明の実施形態に係る積層セラミックコンデンサ1について説明する。図1は、実施形態の積層セラミックコンデンサ1の外観斜視図である。図2は、図1の積層セラミックコンデンサ1のII-II線に沿った断面図である。図3は、図2の積層セラミックコンデンサ1のIII-III線に沿った断面図である。図4は、図2の積層セラミックコンデンサ1のIV-IV線に沿った断面図である。図5は、図2に示す積層セラミックコンデンサ1のV部の拡大図であって、導電性樹脂層60の概要を示す図である。
【0010】
積層セラミックコンデンサ1は、積層体10と外部電極40を有する。
(【0011】以降は省略されています)
特許ウォッチbot のツイートを見る
この特許をJ-PlatPat(特許庁公式サイト)で参照する
関連特許
日本発條株式会社
積層体
10日前
ローム株式会社
半導体装置
8日前
ローム株式会社
半導体装置
8日前
ローム株式会社
半導体装置
8日前
ローム株式会社
半導体装置
1日前
個人
防雪防塵カバー
10日前
ローム株式会社
半導体装置
6日前
オムロン株式会社
電磁継電器
今日
株式会社ホロン
冷陰極電子源
6日前
株式会社GSユアサ
蓄電装置
6日前
個人
半導体パッケージ用ガラス基板
9日前
株式会社GSユアサ
蓄電装置
10日前
太陽誘電株式会社
全固体電池
6日前
TDK株式会社
電子部品
6日前
日本特殊陶業株式会社
保持装置
6日前
日本特殊陶業株式会社
保持装置
6日前
日東電工株式会社
積層体
今日
トヨタ自動車株式会社
二次電池
10日前
トヨタ自動車株式会社
バッテリ
今日
日本特殊陶業株式会社
保持装置
8日前
日本特殊陶業株式会社
保持装置
10日前
ローム株式会社
電子装置
10日前
ローム株式会社
半導体装置
10日前
日本製紙株式会社
導電性フィルム
今日
日本製紙株式会社
導電性フィルム
今日
ヒロセ電機株式会社
電気コネクタ
10日前
住友電装株式会社
コネクタ
10日前
住友電装株式会社
コネクタ
10日前
トヨタ自動車株式会社
電池パック
14日前
住友電装株式会社
コネクタ
10日前
住友電装株式会社
コネクタ
10日前
TDK株式会社
コイル部品
6日前
トヨタ自動車株式会社
電池パック
14日前
トヨタ自動車株式会社
電池パック
14日前
矢崎総業株式会社
コネクタ
13日前
日本特殊陶業株式会社
電極
6日前
続きを見る
他の特許を見る