TOP
|
特許
|
意匠
|
商標
特許ウォッチ
Twitter
他の特許を見る
10個以上の画像は省略されています。
公開番号
2025148175
公報種別
公開特許公報(A)
公開日
2025-10-07
出願番号
2024048800
出願日
2024-03-25
発明の名称
車両用シート
出願人
トヨタ車体株式会社
代理人
弁理士法人あいち国際特許事務所
主分類
B60N
2/75 20180101AFI20250930BHJP(車両一般)
要約
【課題】シートバックの位置に依存することなくアームレストを格納状態と使用状態との間で容易に切り替え可能な使用性に優れた車両用シートを提供する。
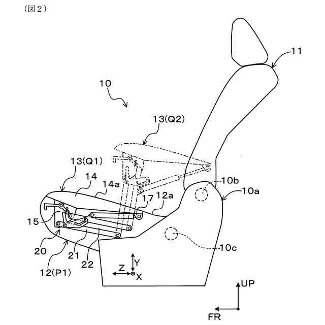
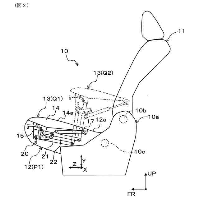
【解決手段】車両に設けられる車両用シート10は、背凭れとなるシートバック11と、座面12aを有するシートクッション12と、シートクッション12の側部に設けられるアームレスト13と、アームレスト13をシートクッション12に取り付けるアームレスト取付機構部20と、を備え、アームレスト取付機構部20は、アームレスト13が格納位置Q1と使用位置Q2との間で水平姿勢を維持した状態で昇降可能となるようにアームレスト13とシートクッション12を連結する複数のリンクアーム21,22を有する。
【選択図】図2
特許請求の範囲
【請求項1】
車両に設けられる車両用シートであって、
背凭れとなるシートバックと、
座面を有するシートクッションと、
前記シートクッションの側部に設けられるアームレストと、
前記アームレストを前記シートクッションに取り付けるアームレスト取付機構部と、
を備え、
前記アームレスト取付機構部は、前記アームレストが格納位置と使用位置との間で水平姿勢を維持した状態で昇降可能となるように前記アームレストと前記シートクッションを連結する複数のリンクアームを有する、車両用シート。
続きを表示(約 520 文字)
【請求項2】
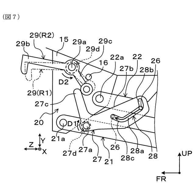
前記アームレスト取付機構部は、前記アームレストが前記使用位置に向かう動きをアシストするアシスト部材と、前記アームレストが前記格納位置にあるときに前記複数のリンクアームの相対移動をロックするロック部材と、前記ロック部材によるロックを解除するためのロック解除部材と、を有する、請求項1に記載に車両用シート。
【請求項3】
前記アームレスト取付機構部は、前記アームレストが前記使用位置にあるときに前記ロック解除部材の操作が無効となるように構成されている、請求項2に記載の車両用シート。
【請求項4】
前記複数のリンクアームは、前記アームレストが前記使用位置にあるときに前記アームレストを下方から支持する位置に前記アームレストに対する乗員荷重入力方向に沿って延びて配置されるように構成されている、請求項1~3のいずれか一項に記載の車両用シート。
【請求項5】
前記アームレスト取付機構部は、前記アームレストが前記格納位置にある状態でアームレスト本体の肘掛け面が前記シートクッションの前記座面の一部をなすように構成されている、請求項1~3のいずれか一項に記載の車両用シート。
発明の詳細な説明
【技術分野】
【0001】
本発明は、車両に設けられる車両用シートに関する。
続きを表示(約 2,200 文字)
【背景技術】
【0002】
下記特許文献1には、従来の車両用シートが開示されている。この車両用シートは、シートクッションと、シートクッションに連結されたシートバックと、アームレストと、を備えている。アームレストにおいて、アームレスト本体を支持するステーは、シートクッションの側面に回動可能に軸支されている。この車両用シートによれば、アームレストを、アームレスト本体の肘掛け面が水平状態に配置されるアームレス使用位置と、アームレスト本体の肘掛け面が垂直状態に配置されるアームレス格納位置と、の間で回動させることができる。これにより、シートバックの位置に依存せずにアームレストの位置変更が可能になる。
【先行技術文献】
【特許文献】
【0003】
特開2012-188014号公報
【発明の概要】
【発明が解決しようとする課題】
【0004】
上記車両用シートにおいて、アームレスト本体がステーに固定される第1の構造と、アームレスト本体がステーに回動可能に軸支される第2の構造と、が開示されている。第1の構造の場合、アームレストの格納時にアームレスト本体の後端部がシートクッションの座面よりも上方に突出して配置される。したがって、アームレストの格納状態でアームレスト本体が邪魔になるため使い勝手が悪いという問題が生じ得る。第2の構造の場合、シートクッションに対してアームレストを回動させた後、アームレスト本体をステーに対して回動させて折り畳むことでアームレストが格納状態に設定される。これにより、アームレストの格納時にアームレスト本体の後端部がシートクッションの座面よりも上方に突出して配置されるのを防ぐことができる。しかしながら、第2の構造によれば、アームレストの格納時にはアームレストを回動操作とアームレスト本体の折り畳み操作の両方が必要になり、また、アームレストの使用時には格納時とは逆の操作が必要になる。したがって、第2の構造は、アームレストを格納状態と使用状態との間で切り替えるときの操作が面倒であるという問題を抱えている。
【0005】
本発明は、かかる課題に鑑みてなされたものであり、シートバックの位置に依存することなくアームレストを格納状態と使用状態との間で容易に切り替え可能な使用性に優れた車両用シートを提供しようとするものである。
【課題を解決するための手段】
【0006】
本発明の一態様は、
車両に設けられる車両用シートであって、
背凭れとなるシートバックと、
座面を有するシートクッションと、
前記シートクッションの側部に設けられるアームレストと、
前記アームレストを前記シートクッションに取り付けるアームレスト取付機構部と、
を備え、
前記アームレスト取付機構部は、前記アームレストが格納位置と使用位置との間で水平姿勢を維持した状態で昇降可能となるように前記アームレストと前記シートクッションを連結する複数のリンクアームを有する、車両用シート、
にある。
【発明の効果】
【0007】
上述の態様の車両用シートにおいて、アームレストはシートクッションの側部に設けられており、且つ、アームレスト取付機構部によってシートクッションに取り付けるように構成されている。これにより、アームレストをシートバックの位置に依存することなくシートバックと独立して動かすことができる。また、アームレストとシートクッションは、アームレスト取付機構部の複数のリンクアームによって連結されており、これによりアームレストが格納位置と使用位置との間で水平姿勢を維持した状態で昇降可能となるように構成されている。これにより、乗員はアームレストを格納状態と使用状態との間で姿勢変化なく容易に切り替えることができる。
【0008】
以上のごとく、上述の態様によれば、シートバックの位置に依存することなくアームレストを格納状態と使用状態との間で容易に切り替え可能な使用性に優れた車両用シートを提供できる。
【図面の簡単な説明】
【0009】
実施形態1の車両用シートにかかるシート配置を示す側面図。
実施形態1の車両用シートのアームレストの格納状態における側面図。
図2の車両用シートのチップアップ状態における側面図。
図2中のシートクッションを拡大して示す側面図。
図4中のアームレスト取付機構部を拡大して示す側面図。
図4のシートクッションのロック解除状態における側面図。
図6中のアームレスト取付機構部を拡大して示す側面図。
図2の車両用シートのアームレストの使用状態における側面図。
図8中のシートクッションを拡大して示す側面図。
【発明を実施するための形態】
【0010】
上述の態様の車両用シートにおいて、前記アームレスト取付機構部は、前記アームレストが前記使用位置に向かう動きをアシストするアシスト部材と、前記アームレストが前記格納位置にあるときに前記複数のリンクアームの相対移動をロックするロック部材と、前記ロック部材によるロックを解除するためのロック解除部材と、を有するのが好ましい。
(【0011】以降は省略されています)
この特許をJ-PlatPat(特許庁公式サイト)で参照する
関連特許
トヨタ車体株式会社
成形方法
1日前
トヨタ車体株式会社
車両上部構造
1日前
トヨタ車体株式会社
車両上部構造
3日前
トヨタ車体株式会社
車両用シート
11日前
トヨタ車体株式会社
車両用カバー
17日前
トヨタ紡織株式会社
乗物用シート
2日前
豊田合成株式会社
木粉繊維強化ポリオレフィン系樹脂組成物及びその製造方法
3日前
個人
カーテント
4か月前
個人
タイヤレバー
2か月前
個人
前輪キャスター
1か月前
個人
上部一体型自動車
15日前
個人
ルーフ付きトライク
2か月前
個人
車輪清掃装置
4か月前
個人
ホイルのボルト締結
3か月前
個人
タイヤ脱落防止構造
1か月前
個人
キャンピングトライク
4か月前
井関農機株式会社
作業車両
4か月前
個人
マスタシリンダ
22日前
日本精機株式会社
表示装置
2か月前
日本精機株式会社
表示装置
2か月前
個人
車両通過構造物
2か月前
日本精機株式会社
表示装置
2か月前
井関農機株式会社
作業車両
4か月前
日本精機株式会社
表示装置
2か月前
個人
車両用スリップ防止装置
3か月前
個人
ワイパーゴム性能保持具
5か月前
個人
乗合路線バスの客室装置
3か月前
個人
アクセルのソフトウェア
3か月前
個人
キャンピングトレーラー
4か月前
個人
円湾曲ホイール及び球体輪
3か月前
日本精機株式会社
車載表示装置
3か月前
株式会社ニフコ
保持装置
3か月前
株式会社豊田自動織機
産業車両
2か月前
個人
音声ガイド、音声サービス
2か月前
株式会社ニフコ
収納装置
1か月前
日本精機株式会社
車室演出装置
1か月前
続きを見る
他の特許を見る