TOP
|
特許
|
意匠
|
商標
特許ウォッチ
Twitter
他の特許を見る
10個以上の画像は省略されています。
公開番号
2025148896
公報種別
公開特許公報(A)
公開日
2025-10-08
出願番号
2024049236
出願日
2024-03-26
発明の名称
無線中継装置、ゲートウェイ装置及び通信システム
出願人
ソフトバンク株式会社
代理人
個人
,
個人
主分類
H04W
84/06 20090101AFI20251001BHJP(電気通信技術)
要約
【課題】基地局装置及び端末装置におけるFDD方式の通信を維持するとともに、無線中継装置とゲートウェイ装置との間の中継無線区間における位相雑音の影響を低減することができる通信システムを提供する。
【解決手段】無線中継装置は、端末装置との間のサービスリンクの無線区間で送受信されるFDD方式の信号と、ゲートウェイ装置との間の中継無線区間で送受信されるTDD方式の信号とを変換する手段を有する。ゲートウェイ装置は、基地局装置と送受信されるFDD方式の信号と、無線中継装置との間の中継無線区間で送受信されるTDD方式の信号とを変換する手段を有する。無線中継装置及びゲートウェイ装置は中継無線区間においてTDD方式で無線信号を送受信する。
【選択図】図1
特許請求の範囲
【請求項1】
基地局装置と端末装置との間のFDD(周波数分割複信)方式の通信を中継する非再生型の無線中継装置と、前記基地局装置に接続され前記無線中継装置と無線通信可能なゲートウェイ装置と、を備える通信システムであって、
前記無線中継装置は、前記端末装置との間のサービスリンクの無線区間で送受信される前記FDD方式の信号と、前記ゲートウェイ装置との間の中継無線区間で送受信されるTDD(時間分割複信)方式の信号とを変換する手段を有し、
前記ゲートウェイ装置は、前記基地局装置と送受信されるFDD方式の信号と、前記無線中継装置との間の前記中継無線区間で送受信される前記TDD方式の信号とを変換する手段を有し、
前記無線中継装置及び前記ゲートウェイ装置は前記中継無線区間において前記TDD方式で無線信号を送受信する、
ことを特徴とする通信システム。
続きを表示(約 2,100 文字)
【請求項2】
請求項1の通信システムにおいて、
前記TDD方式の無線信号の周波数帯及び前記FDD方式の無線信号の周波数帯は互いに異なる周波数帯である、ことを特徴とする通信システム。
【請求項3】
請求項2の通信システムにおいて、
前記TDD方式の無線信号の周波数帯は、20GHz以上300GHz以下のミリ波の周波数帯であり、
前記FDD方式の無線信号の周波数帯は、前記10GHz以下の周波数帯である、
ことを特徴とする通信システム。
【請求項4】
請求項2の通信システムにおいて、
前記無線中継装置は、
前記ゲートウェイ装置から受信した前記TDD方式の周波数帯のフォワードリンクの信号の周波数を前記FDD方式の周波数に変換する周波数変換部と、前記周波数変換部で変換した後の信号をサンプリングする信号サンプリング部と、前記信号サンプリング部でサンプリングした信号を時間軸上でN倍に伸長する時間信号伸長部と、を有するフォワードリンク通信部と、
前記端末装置から受信した前記FDD方式の周波数帯のリバースリンクの信号をサンプリングする信号サンプリング部と、前記信号サンプリング部でサンプリングした信号を時間軸上で1/Nに圧縮する時間信号圧縮部と、前記時間信号圧縮部で圧縮した信号の周波数を前記TDD方式の周波数に変換する周波数変換部と、を有するリバースリンク通信部と、を備え、
前記ゲートウェイ装置は、
前記基地局装置から受信した前記FDD方式の周波数帯のフォワードリンクの信号をサンプリングする信号サンプリング部と、前記信号サンプリング部でサンプリングした信号を時間軸上で1/Nに圧縮する時間信号圧縮部と、前記時間信号圧縮部で圧縮した信号の周波数を前記TDD方式の周波数に変換する周波数変換部と、を有するフォワードリンク通信部と、
前記無線中継装置から受信した前記TDD方式の周波数帯のリバースリンクの信号の周波数を前記FDD方式の周波数に変換する周波数変換部と、前記周波数変換部で変換した後の信号をサンプリングする信号サンプリング部と、前記信号サンプリング部でサンプリングした信号を時間軸上でN倍に伸長する時間信号伸長部と、を有するリバースリンク通信部と、を備える、
ことを特徴とする通信システム。
【請求項5】
請求項1の通信システムにおいて、
前記中継無線区間において交互に繰り返されるフォワードリンクの通信帯域時間とリバースリンクの通信帯域時間との間の複数のガードタイムのそれぞれに、前記無線中継装置の制御に用いる既知信号及び制御データ並びに前記ゲートウェイ装置の制御に用いる既知信号及び制御データが配置されている、
ことを特徴とする通信システム。
【請求項6】
請求項1乃至5のいずれかの通信システムにおいて、
前記無線中継装置は、上空に位置する飛行体又は浮揚体の機体に設けられ、サービスリンク用アンテナを介して地上又は海上のサービスエリアに向けて一又は複数のセルを形成し前記セルに在圏する一又は複数の端末装置と無線通信する上空中継型の無線中継装置である、
ことを特徴とする通信システム。
【請求項7】
請求項1乃至5のいずれかの通信システムにおいて、
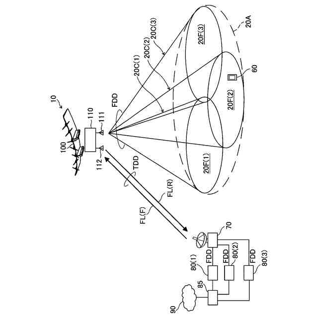
前記ゲートウェイ装置は、複数の基地局装置に対応するように複数の接続部が設けられ、
前記無線中継装置は、サービスリンクでは前記複数の基地局装置に対応する同一周波数を用いる複数のセルを形成し、フィーダリンクでは前記中継無線区間において前記複数のセルに対応する無線信号を時間多重する、
ことを特徴とする通信システム。
【請求項8】
基地局装置と端末装置との間のFDD(周波数分割複信)方式の通信を中継する非再生型の無線中継装置であって、
前記端末装置との間のサービスリンクの無線区間で送受信される前記FDD方式の信号と、前記基地局装置に接続されているゲートウェイ装置との間の中継無線区間で送受信されるTDD(時間分割複信)方式の信号とを変換する手段を、備え、
前記ゲートウェイ装置との間の前記中継無線区間において前記TDD方式で無線信号を送受信する、
ことを特徴とする無線中継装置。
【請求項9】
請求項8の無線中継装置において、
前記TDD方式の無線信号の周波数帯及び前記FDD方式の無線信号の周波数帯は互いに異なる周波数帯である、ことを特徴とする無線中継装置。
【請求項10】
請求項9の無線中継装置において、
前記TDD方式の無線信号の周波数帯は、20GHz以上300GHz以下のミリ波の周波数帯であり、
前記FDD方式の無線信号の周波数帯は、前記10GHz以下の周波数帯である、
ことを特徴とする無線中継装置。
(【請求項11】以降は省略されています)
発明の詳細な説明
【技術分野】
【0001】
本発明は、無線中継装置を介した基地局装置と端末装置との間の通信の中継に関する。
続きを表示(約 2,200 文字)
【背景技術】
【0002】
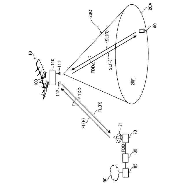
従来、上空に滞在可能な高高度プラットフォーム局(HAPS)(「高高度疑似衛星」ともいう。)等の上空滞在型の無線中継装置が知られている(例えば、特許文献1参照)。この無線中継装置における通信回線は、その無線中継装置と移動通信網側のゲートウェイ(GW)装置との間のフィーダリンク(中継無線区間)と、無線中継装置と端末装置との間のサービスリンクとで構成される。
【先行技術文献】
【特許文献】
【0003】
米国特許出願公開第2016/0046387号明細書
【発明の概要】
【発明が解決しようとする課題】
【0004】
上記上空滞在型の無線中継装置等に用いることができる非再生型の無線中継装置において、移動通信網側の基地局装置と端末装置とのFDD(周波数分割複信)方式の通信を維持しつつ、その通信を中継する無線中継装置とゲートウェイ装置との間の中継無線区間における位相雑音の影響を低減したい、という課題がある。
【課題を解決するための手段】
【0005】
本発明の一態様に係る通信システムは、基地局装置と端末装置との間のFDD(周波数分割複信)方式の通信を中継する非再生型の無線中継装置と、前記基地局装置に接続され前記無線中継装置と無線通信可能なゲートウェイ装置と、を備える通信システムである。前記無線中継装置は、前記端末装置との間のサービスリンクの無線区間で送受信される前記FDD方式の信号と、前記ゲートウェイ装置との間の中継無線区間で送受信されるTDD(時間分割複信)方式の信号とを変換する手段を有する。前記ゲートウェイ装置は、前記基地局装置と送受信されるFDD方式の信号と、前記無線中継装置との間の前記中継無線区間で送受信される前記TDD方式の信号とを変換する手段を有する。前記無線中継装置及び前記ゲートウェイ装置は前記中継無線区間において前記TDD方式で無線信号を送受信する。
【0006】
前記通信システムにおいて、前記TDD方式の無線信号の周波数帯及び前記FDD方式の無線信号の周波数帯は互いに異なる周波数帯であってもよい。
【0007】
前記通信システムにおいて、前記TDD方式の無線信号の周波数帯は、20GHz以上300GHz以下のミリ波の周波数帯であってもよく、前記FDD方式の無線信号の周波数帯は、前記10GHz以下の周波数帯であってもよい。
【0008】
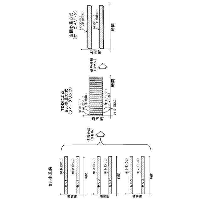
前記通信システムにおいて、前記無線中継装置は、フォワードリンク通信部とリバースリンク通信部とを備えてもよい。前記無線中継装置の前記フォワードリンク通信部は、前記ゲートウェイ装置から受信した前記TDD方式の周波数帯のフォワードリンクの信号の周波数を前記FDD方式の周波数に変換する周波数変換部と、前記周波数変換部で変換した後の信号をサンプリングする信号サンプリング部と、前記信号サンプリング部でサンプリングした信号を時間軸上でN倍に伸長する時間信号伸長部と、を有する。前記無線中継装置の前記リバースリンク通信部は、前記端末装置から受信した前記FDD方式の周波数帯のリバースリンクの信号をサンプリングする信号サンプリング部と、前記信号サンプリング部でサンプリングした信号を時間軸上で1/Nに圧縮する時間信号圧縮部と、前記時間信号圧縮部で圧縮した信号の周波数を前記TDD方式の周波数に変換する周波数変換部と、を有するリバースリンク通信部と、を備えてもよい。また、前記ゲートウェイ装置は、フォワードリンク通信部とリバースリンク通信部とを備えてもよい。前記ゲートウェイ装置の前記フォワードリンク通信部は、前記基地局装置から受信した前記FDD方式の周波数帯のフォワードリンクの信号をサンプリングする信号サンプリング部と、前記信号サンプリング部でサンプリングした信号を時間軸上で1/Nに圧縮する時間信号圧縮部と、前記時間信号圧縮部で圧縮した信号の周波数を前記TDD方式の周波数に変換する周波数変換部と、を有する。前記ゲートウェイ装置の前記リバースリンク通信部は、前記無線中継装置から受信した前記TDD方式の周波数帯のリバースリンクの信号の周波数を前記FDD方式の周波数に変換する周波数変換部と、前記周波数変換部で変換した後の信号をサンプリングする信号サンプリング部と、前記信号サンプリング部でサンプリングした信号を時間軸上でN倍に伸長する時間信号伸長部と、を有する。
【0009】
前記通信システムにおいて、前記中継無線区間において交互に繰り返されるフォワードリンクの通信帯域時間とリバースリンクの通信帯域時間との間のガードタイムに、前記無線中継装置の制御に用いる既知信号及び制御データ並びに前記ゲートウェイ装置の制御に用いる既知信号及び制御データが配置されていてもよい。
【0010】
前記通信システムにおいて、前記無線中継装置は、上空に位置する飛行体又は浮揚体の機体に設けられ、サービスリンク用アンテナを介して地上又は海上のサービスエリアに向けて一又は複数のセルを形成し前記セルに在圏する一又は複数の端末装置と無線通信する上空中継型の無線中継装置であってもよい。
(【0011】以降は省略されています)
この特許をJ-PlatPat(特許庁公式サイト)で参照する
関連特許
ソフトバンク株式会社
信号分離回路、送受信回路及び無線装置
5日前
ソフトバンク株式会社
生成装置、生成方法および生成プログラム
9日前
ソフトバンク株式会社
情報処理装置、情報処理方法および情報処理プログラム
9日前
ソフトバンク株式会社
複合体、二次電池の電極用スラリー、二次電池用電極、二次電池、飛行体、複合体の製造方法、及び、二次電池用電極の製造方法
5日前
個人
監視カメラシステム
4日前
キーコム株式会社
光伝送線路
5日前
個人
スキャン式車載用撮像装置
4日前
WHISMR合同会社
収音装置
1か月前
サクサ株式会社
中継装置
11日前
サクサ株式会社
中継装置
10日前
アイホン株式会社
電気機器
1か月前
キヤノン株式会社
撮像装置
1か月前
株式会社リコー
画像形成装置
2か月前
サクサ株式会社
無線システム
9日前
サクサ株式会社
無線通信装置
10日前
キヤノン電子株式会社
画像読取装置
3日前
キヤノン電子株式会社
画像読取装置
1か月前
サクサ株式会社
無線通信装置
10日前
株式会社リコー
画像形成装置
1か月前
株式会社リコー
画像形成装置
1か月前
個人
ワイヤレスイヤホン対応耳掛け
1か月前
ブラザー工業株式会社
読取装置
2か月前
個人
発信機及び発信方法
9日前
日本電気株式会社
海底分岐装置
5日前
キヤノン株式会社
撮像システム
1か月前
株式会社ニコン
撮像装置
2か月前
DXO株式会社
情報処理システム
2か月前
キヤノン電子株式会社
シート材搬送装置
2か月前
沖電気工業株式会社
画像形成装置
12日前
シャープ株式会社
端末装置
2日前
株式会社NTTドコモ
端末
5日前
パテントフレア株式会社
超高速電波通信
1か月前
株式会社小糸製作所
画像照射装置
1か月前
大日本印刷株式会社
写真撮影装置
1か月前
沖電気工業株式会社
画像形成装置
20日前
株式会社NTTドコモ
端末
4日前
続きを見る
他の特許を見る