TOP
|
特許
|
意匠
|
商標
特許ウォッチ
Twitter
他の特許を見る
公開番号
2025149248
公報種別
公開特許公報(A)
公開日
2025-10-08
出願番号
2024049778
出願日
2024-03-26
発明の名称
カプセル型再帰反射シート
出願人
日本カーバイド工業株式会社
代理人
個人
主分類
G02B
5/124 20060101AFI20251001BHJP(光学)
要約
【課題】 柔軟性に富み、耐久性に優れるカプセル型再帰反射シートを提供することを目的とする。
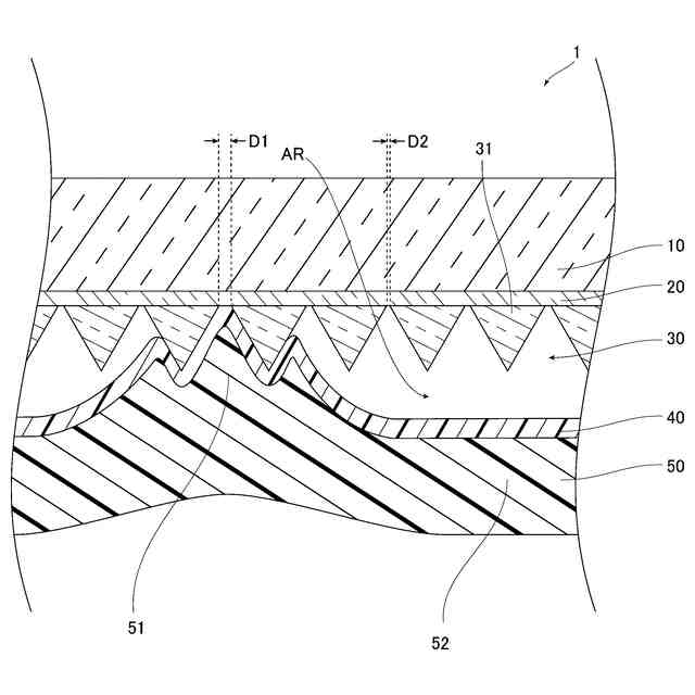
【解決手段】 カプセル型再帰反射シート1は、一方の面に親水基を有し表面以外に親水基を有さないオレフィン系樹脂を含有する基材層10と、基材層10の一方の面11に設けられる第1プライマー層20と、第1プライマー層20に固定され複数のプリズム31から成る再帰反射層30と、再帰反射層30側の面に親水基を有し表面以外に親水基を有さないオレフィン系樹脂を含有し、再帰反射層30との間に空隙ARを形成する結合材層50と、結合材層50の再帰反射層30側の面に設けられる第2プライマー層40と、を備え、結合材層50の結合部51は、結合部51上の第2プライマー層40が、一部のプリズム31に固定されると共にプリズム間から露出する第1プライマー層20に固定されることで、第1プライマー層20及び再帰反射層30に固定される。
【選択図】 図1
特許請求の範囲
【請求項1】
一方の面において親水基を有し表面以外において親水基を有さないオレフィン系樹脂を主剤として含有する基材層と、
前記基材層の前記一方の面に設けられる第1プライマー層と、
前記第1プライマー層の前記基材層側と反対側の面に固定され、互いに並列される複数のプリズムから成る再帰反射層と、
前記再帰反射層側の面において親水基を有し表面以外において親水基を有さないオレフィン系樹脂を主剤として含有し、前記再帰反射層に固定される結合部及び前記再帰反射層と離隔して対向する離隔部を含み、前記再帰反射層と前記離隔部との間に前記結合部で囲われるカプセル状の空隙を形成する結合材層と、
前記結合材層の前記再帰反射層側の面に設けられる第2プライマー層と、
を備え、
互いに隣り合う前記プリズムの少なくとも一部は、互いに離隔し、当該プリズム間から前記第1プライマー層が露出し、
前記結合部は、当該結合部上の前記第2プライマー層が、一部の前記プリズム及び前記第1プライマー層に固定されることで、前記第1プライマー層及び前記再帰反射層に固定される
ことを特徴とするカプセル型再帰反射シート。
続きを表示(約 310 文字)
【請求項2】
前記第1プライマー層及び前記第2プライマー層は、ウレタン系樹脂を主剤として含有する
ことを特徴とする請求項1に記載のカプセル型再帰反射シート。
【請求項3】
前記プリズムの少なくとも1つは、前記第1プライマー層側と反対側の表面の全てが、前記第2プライマー層で覆われる
ことを特徴とする請求項1に記載のカプセル型再帰反射シート。
【請求項4】
前記第2プライマー層が前記第1プライマー層に固定される位置の前記プリズム間の距離は、前記離隔部と対向する位置における前記プリズム間の距離よりも大きい
ことを特徴とする請求項1に記載のカプセル型再帰反射シート。
発明の詳細な説明
【技術分野】
【0001】
本発明は、カプセル型再帰反射シートに関する。
続きを表示(約 2,300 文字)
【背景技術】
【0002】
案内標識、交通標識、及び車両用ナンバープレート等には、夜間における視認性向上のため、再帰反射シートが用いられる場合がある。このような再帰反射シートとして、微小球型再帰反射シートや、キューブコーナー再帰反射シートが知られており、キューブコーナー再帰反射シートの1つとして、カプセル型再帰反射シートが挙げられる。下記特許文献1には、このようなカプセル型再帰反射シートが記載されている。このカプセル型再帰反射シートでは、それぞれのキューブコーナー型のプリズムと当該プリズムを保持する保持体層とが、一体形成により繋がった状態とされている。
【先行技術文献】
【特許文献】
【0003】
特開2001-290013号公報
【発明の概要】
【発明が解決しようとする課題】
【0004】
案内標識、交通標識、及び車両用ナンバープレート等において、一部の文字(例えば、数字や漢字)の視認性向上のため、当該文字が凸状にエンボス加工される場合がある。上記のように、案内標識、交通標識、及び車両用ナンバープレート等に再帰反射シートが用いられ、エンボス加工が施される場合、再帰反射シートが貼着された状態において金属板にエンボス加工が施される場合がある。従って、再帰反射シートは、柔軟性に富み、エンボス形状の保持性に優れることが好ましい。
【0005】
柔軟性に富むカプセル型再帰反射シートの構造として、それぞれのキューブコーナー型のプリズムが、一体成形により互いに繋がった状態とされず、個別に形成されて、基材層に個別に固定される構造が挙げられる。このような構造のカプセル型再帰反射シートは、それぞれのプリズムが一体成形で繋がって形成される場合の保持体層を含まず、柔軟性に富む再帰反射シートとし得る。しかし、このような構成のカプセル型再帰反射シートでは、保持体層を含みそれぞれのプリズムが一体成形で繋がっている場合と比べて、基材層からのプリズムの脱離が生じ易い。加えて、プリズムが一体成型で繋がっていない場合、独立して並列に並んだプリズムの間から基材層が僅かに露出する場合がある。この場合、カプセルを形成する際に、基材層と結合剤層とが接着不良を起こすことで、当該部位を起点とした層間はく離が生じ易い。このため、プリズムの脱離及び層間はく離を抑制した耐久性に優れるカプセル型再帰反射シートが求められている。
【0006】
そこで、本発明は、柔軟性に富み、エンボス形状の保持性に優れ、かつ耐久性に優れるカプセル型再帰反射シートを提供することを目的とする。
【課題を解決するための手段】
【0007】
上記目的の達成のため、本発明のカプセル型再帰反射シートは、一方の面において親水基を有し表面以外において親水基を有さないオレフィン系樹脂を主剤として含有する基材層と、前記基材層の前記一方の面に設けられる第1プライマー層と、前記第1プライマー層の前記基材層側と反対側の面に固定され、互いに並列される複数のプリズムから成る再帰反射層と、前記再帰反射層側の面において親水基を有し表面以外において親水基を有さないオレフィン系樹脂を主剤として含有し、前記再帰反射層に固定される結合部及び前記再帰反射層と離隔して対向する離隔部を含み、前記再帰反射層と前記離隔部との間に前記結合部で囲われるカプセル状の空隙を形成する結合材層と、前記結合材層の前記再帰反射層側の面に設けられる第2プライマー層と、を備え、互いに隣り合う前記プリズムの少なくとも一部は、互いに離隔し、当該プリズム間から前記第1プライマー層が露出し、前記結合部は、当該結合部上の前記第2プライマー層が、一部の前記プリズムに固定されると共に前記第1プライマー層に固定されることで、前記第1プライマー層及び前記再帰反射層に固定されることを特徴とするものである。
【0008】
このようなカプセル型再帰反射シートは、基材層及び結合材層がオレフィン系樹脂を主剤として含有するため、基材層や結合材層がアクリル系樹脂やウレタン系樹脂から成る場合と比べて、柔軟性に富み、かつ文字等のエンボス加工を施した際のエンボス形状の保持性に優れる。更に、再帰反射層の少なくとも一部のプリズムは互いに離隔して、プリズム間から第1プライマー層が露出する。従って、再帰反射層が平面状の保持体層と保持体層上に一体形成される複数のプリズムとから成る場合と比べて、柔軟性に富む。また、基材層は、一方の面に親水基を有するオレフィン系樹脂を主剤として含有するため、第1プライマー層と強固に接着し、第1プライマー層を介してプリズムと基材層とが強固に接着し得る。さらに、結合材層においても、再帰反射層側の面において親水基を有するオレフィン系樹脂を主剤として含有するため、第2プライマー層と強固に接着し、結合部が第2プライマー層を介してプリズム及び第1プライマー層に強固に接着し得る。従って、このようなカプセル型再帰反射シートは、柔軟性に富み、エンボス形状の保持性に優れ、かつ耐久性に優れ得る。
【0009】
また、前記第1プライマー層及び前記第2プライマー層は、ウレタン系樹脂を主剤として含有することが好ましい。
【0010】
第1、第2プライマー層がウレタン系樹脂を主剤として含有することで、基材層の一方の面に親水基を有するオレフィン系樹脂との接着力を向上させ得る。
(【0011】以降は省略されています)
この特許をJ-PlatPat(特許庁公式サイト)で参照する
関連特許
東レ株式会社
積層フィルム
2日前
アイカ工業株式会社
反射防止フィルム
8日前
日本電気株式会社
光集積回路素子
今日
スタンレー電気株式会社
照明装置
3日前
日東電工株式会社
調光フィルム
1日前
住友化学株式会社
積層体
今日
旭化成株式会社
成形体
7日前
日本精機株式会社
ヘッドアップディスプレイ装置
1日前
日本分光株式会社
赤外顕微鏡
7日前
旭化成株式会社
成形体
7日前
住友ベークライト株式会社
積層体の製造方法
1日前
キヤノン株式会社
画像表示装置
7日前
キヤノン株式会社
レンズ装置および撮像装置
1日前
キヤノン株式会社
レンズ装置および撮像装置
9日前
Orbray株式会社
MEMS光スイッチの制御方法
1日前
レーザーテック株式会社
検査装置及び検査方法
11日前
古河電気工業株式会社
光モジュール、光接続構造
1日前
キヤノン株式会社
表示装置
14日前
住友化学株式会社
偏光板及び画像表示装置
2日前
キヤノン株式会社
光学系及び撮像装置
15日前
住友ベークライト株式会社
光学シート
今日
京セラ株式会社
走査装置及び制御装置
今日
日東電工株式会社
積層光学部材及び光学装置
今日
京セラ株式会社
走査装置及び制御装置
今日
TDK株式会社
メタサーフェスレンズ
今日
住友化学株式会社
複合偏光板及び画像表示装置
9日前
セイコーエプソン株式会社
虚像表示装置
11日前
日本カーバイド工業株式会社
微小球型再帰反射シート
今日
日本カーバイド工業株式会社
微小球型再帰反射シート
今日
株式会社精工技研
光コネクタプラグおよびロック工具
2日前
住友ベークライト株式会社
光学性積層体
今日
国立大学法人徳島大学
光共振器、及び光周波数コム発生装置
1日前
国立大学法人徳島大学
光共振器、及び光周波数コム発生装置
1日前
住友ベークライト株式会社
光学性積層体
今日
エピフォトニクス株式会社
光導波路素子
8日前
KDDI株式会社
光増幅器
8日前
続きを見る
他の特許を見る