TOP
|
特許
|
意匠
|
商標
特許ウォッチ
Twitter
他の特許を見る
公開番号
2025149610
公報種別
公開特許公報(A)
公開日
2025-10-08
出願番号
2024050360
出願日
2024-03-26
発明の名称
高周波用電線
出願人
住友電気工業株式会社
代理人
個人
,
個人
主分類
H01B
9/00 20060101AFI20251001BHJP(基本的電気素子)
要約
【課題】導体の温度上昇による交流導体抵抗の増加を低減できる高周波用電線を提供する。
【解決手段】筒状または柱状の芯材と、前記芯材の外周を覆う導体層と、前記導体層の外周を覆う絶縁体と、を備え、前記芯材は樹脂の成形体によって形成されており、前記導体層は複数の素線によって形成されており、前記絶縁体の材料は樹脂であり、前記芯材の線膨張係数に対する前記絶縁体の線膨張係数の比が1.0以上1.4以下である、高周波用電線。
【選択図】図1
特許請求の範囲
【請求項1】
筒状または柱状の芯材と、
前記芯材の外周を覆う導体層と、
前記導体層の外周を覆う絶縁体と、を備え、
前記芯材は樹脂の成形体によって形成されており、
前記導体層は複数の素線によって形成されており、
前記絶縁体の材料は樹脂であり、
前記芯材の線膨張係数に対する前記絶縁体の線膨張係数の比が1.0以上1.4以下である、
高周波用電線。
続きを表示(約 290 文字)
【請求項2】
前記絶縁体の材料が架橋ポリエチレンである、請求項1に記載の高周波用電線。
【請求項3】
前記芯材の材料が架橋ポリエチレンまたはポリプロピレンである、請求項2に記載の高周波用電線。
【請求項4】
前記芯材の材料と前記絶縁体の材料とが同じである、請求項1に記載の高周波用電線。
【請求項5】
前記複数の素線のそれぞれの直径が0.5mm以下である、請求項1または請求項2に記載の高周波用電線。
【請求項6】
20kHz以上の高周波電流の送電に使用される、請求項1または請求項2に記載の高周波用電線。
発明の詳細な説明
【技術分野】
【0001】
本開示は、高周波用電線に関する。
続きを表示(約 1,300 文字)
【背景技術】
【0002】
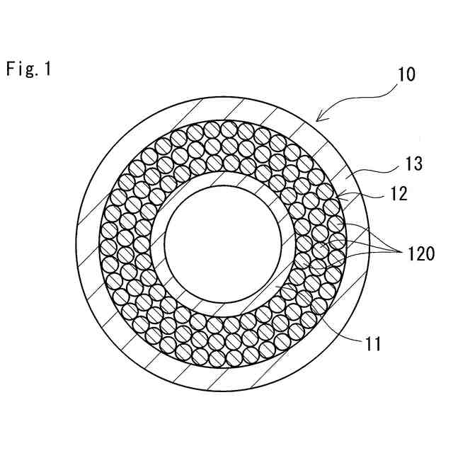
特許文献1および特許文献2は、高周波電流の送電に使用される高周波用電線に関する技術を開示する。一般に、高周波用電線は、中心から順に、芯材と、導体層と、絶縁体とを備える。芯材の形状は円筒状または円柱状である。導体層は、芯材の外周面に配置された複数の素線によって形成されている。絶縁体は、導体層の外周面に被覆されている。
【先行技術文献】
【特許文献】
【0003】
特開2023-90413号公報
特開2013-251101号公報
【発明の概要】
【発明が解決しようとする課題】
【0004】
高周波用電線に高周波電流が流れると、表皮効果によって導体層の表層部に電流が集中して流れる。その結果、実質的な交流導体抵抗が大きくなり、導体層の表層部の発熱が大きくなる。特に、高周波電流の周波数が高いほど、表皮効果がより顕著になる。導体層が発熱すると、芯材および絶縁体のそれぞれの温度が上昇し、芯材および絶縁体のそれぞれの長さが膨張する。芯材および絶縁体の温度上昇が大きいほど、芯材と絶縁体との熱膨張量の差に起因して導体層の変形が生じやすい。導体層の変形が生じると、表皮効果によって電流が流れる導体層の表層部の断面積が減少して、交流導体抵抗が増加する。
【0005】
本開示は、導体の温度上昇による交流導体抵抗の増加を低減できる高周波用電線を提供することを目的の一つとする。
【課題を解決するための手段】
【0006】
本開示の高周波用電線は、筒状または柱状の芯材と、前記芯材の外周を覆う導体層と、前記導体層の外周を覆う絶縁体と、を備える。前記芯材は樹脂の成形体によって形成されている。前記導体層は複数の素線によって形成されている。前記絶縁体の材料は樹脂である。前記芯材の線膨張係数に対する前記絶縁体の線膨張係数の比が1.0以上1.4以下である。
【発明の効果】
【0007】
本開示の高周波用電線は、導体の温度上昇による交流導体抵抗の増加を低減できる。
【図面の簡単な説明】
【0008】
図1は、実施形態に係る高周波用電線の一例を示す概略断面図である。
図2は、実施形態に係る高周波用電線の別の一例を示す断面図である。
図3は、実施形態に係る高周波用電線の断面の一部を拡大して示す部分断面図である。
図4は、実施形態に係る高周波用電線において導体層が変形した状態を示す部分断面図である。
【発明を実施するための形態】
【0009】
[本開示の実施形態の説明]
最初に本開示の実施態様を列記して説明する。
【0010】
(1)本開示の高周波用電線は、筒状または柱状の芯材と、前記芯材の外周を覆う導体層と、前記導体層の外周を覆う絶縁体と、を備える。前記芯材は樹脂の成形体によって形成されている。前記導体層は複数の素線によって形成されている。前記絶縁体の材料は樹脂である。前記芯材の線膨張係数に対する前記絶縁体の線膨張係数の比が1.0以上1.4以下である。
(【0011】以降は省略されています)
この特許をJ-PlatPat(特許庁公式サイト)で参照する
関連特許
住友電気工業株式会社
コンタクタ治具および検査治具
3日前
住友電気工業株式会社
樹脂組成物、電線、樹脂組成物の製造方法、および電線の製造方法
3日前
株式会社オートネットワーク技術研究所
車載用制御装置
4日前
株式会社オートネットワーク技術研究所
端子材料および電気接続端子
6日前
株式会社オートネットワーク技術研究所
端子金具、実装基板及び基板装置
5日前
株式会社オートネットワーク技術研究所
電気接続箱、及び電気接続箱の製造方法
5日前
住友電気工業株式会社
出力制御ユニット、電力変換装置、電力変換システム、電池残量管理方法およびコンピュータプログラム
3日前
株式会社オートネットワーク技術研究所
クランプ、ワイヤハーネス及びクランプセット
3日前
株式会社オートネットワーク技術研究所
車載更新システム、車載装置、及び車載ECU
6日前
株式会社オートネットワーク技術研究所
ワイヤハーネス
3日前
株式会社オートネットワーク技術研究所
ワイヤハーネス
3日前
株式会社オートネットワーク技術研究所
シールド導電路
5日前
個人
フレキシブル電気化学素子
10日前
株式会社ユーシン
操作装置
10日前
日新イオン機器株式会社
イオン源
6日前
太陽誘電株式会社
コイル部品
10日前
株式会社GSユアサ
蓄電設備
10日前
オムロン株式会社
電磁継電器
11日前
株式会社GSユアサ
蓄電設備
10日前
株式会社ホロン
冷陰極電子源
4日前
日東電工株式会社
積層体
11日前
トヨタ自動車株式会社
バッテリ
11日前
サクサ株式会社
電池の固定構造
10日前
トヨタ自動車株式会社
蓄電装置
10日前
ノリタケ株式会社
熱伝導シート
10日前
株式会社トクヤマ
シリコンエッチング液
4日前
株式会社トクヤマ
シリコンエッチング液
4日前
トヨタ自動車株式会社
電池パック
3日前
ベストテック株式会社
装置支持具
10日前
トヨタ自動車株式会社
電池パック
3日前
古河電気工業株式会社
端子
10日前
日本製紙株式会社
導電性フィルム
11日前
ローム株式会社
半導体装置
11日前
株式会社ダイヘン
搬送装置
10日前
日本製紙株式会社
導電性フィルム
11日前
東レエンジニアリング株式会社
実装装置
11日前
続きを見る
他の特許を見る