TOP
|
特許
|
意匠
|
商標
特許ウォッチ
Twitter
他の特許を見る
公開番号
2025150125
公報種別
公開特許公報(A)
公開日
2025-10-09
出願番号
2024050843
出願日
2024-03-27
発明の名称
食品工場の内装構造
出願人
フクビ化学工業株式会社
代理人
個人
,
個人
,
個人
主分類
E04F
13/08 20060101AFI20251002BHJP(建築物)
要約
【課題】高湿度環境下でも結露の発生を抑制できる食品工場の内装構造を提供する。
【解決手段】食品工場の内壁面に固定される下地フレームと、前記下地フレームに固定され、前記内壁面を覆うように配列される複数の内装用化粧材と、前記内壁面と前記内装用化粧材との間に配される樹脂シートと、を有し、前記内装用化粧材は、アルミニウムを含む基材層と、前記基材層の一面側に重ねて配され、親水性樹脂を含む厚みが1.5μm以上100μm以下の親水層と、を少なくとも有する。
【選択図】図2
特許請求の範囲
【請求項1】
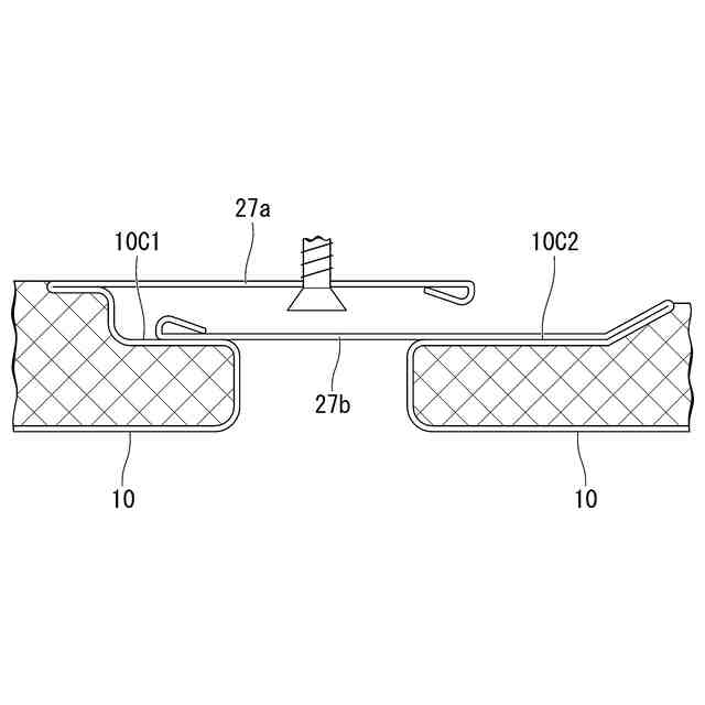
食品工場の内壁面に固定される下地フレームと、前記下地フレームに固定され、前記内壁面を覆うように配列される複数の内装用化粧材と、前記内壁面と前記内装用化粧材との間に配される樹脂シートと、を有し、
前記内装用化粧材は、アルミニウムを含む基材層と、前記基材層の一面側に重ねて配され、親水性樹脂を含む厚みが1.5μm以上100μm以下の親水層と、を少なくとも有する、食品工場の内装構造。
続きを表示(約 440 文字)
【請求項2】
前記内壁面は天井面であり、前記下地フレームは吊り部材を介して前記天井面から吊下されている、請求項1に記載の食品工場の内装構造。
【請求項3】
前記天井面と交差する側壁面と、前記内装用化粧材の端部との間には、廻り縁部材が配される、請求項2に記載の食品工場の内装構造。
【請求項4】
前記天井面は、水平面に対して傾斜している、請求項2に記載の食品工場の内装構造。
【請求項5】
前記内装用化粧材は、前記基材層の他面側に重ねて配され、発泡樹脂からなる断熱層を更に有する、請求項1から4のいずれか1項に記載の食品工場の内装構造。
【請求項6】
前記内装用化粧材は、前記親水層の接触角が45°以下である、請求項1から4のいずれか1項に記載の食品工場の内装構造。
【請求項7】
前記樹脂シートは、ポリエチレン樹脂シートである、請求項1から4のいずれか1項に記載の食品工場の内装構造。
発明の詳細な説明
【技術分野】
【0001】
本発明は、結露が生じやすい部位に好適な食品工場の内装構造に関する。
続きを表示(約 1,200 文字)
【背景技術】
【0002】
食品を加工、調理する工場、作業所(以下、単に食品工場と称する)では、多量に発生した水蒸気が天井面や側壁面で凝集して結露が生じる場合がある。こうした結露は、カビの発生の原因となる。また、空気中の汚染物質等を巻き込んで結露した水滴が落下することで、食品が汚染される懸念もある。こうした課題に対応するため、高湿度の環境においても結露の発生を抑制することができる内装用化粧材が知られている。
【0003】
例えば、特許文献1~4には、結露の発生を抑制できる浴室用の天井パネルが開示されている。これら天井パネルは、最表面に親水性被膜を形成することによって、高湿度の環境においても結露の発生を抑制できるとされている。
【先行技術文献】
【特許文献】
【0004】
特開昭55-139258号公報
特開昭55-139259号公報
特開2000-026634号公報
特許第4373717号公報
【発明の概要】
【発明が解決しようとする課題】
【0005】
しかしながら、特許文献1~4に開示されたような、従来の天井パネルは、結露防止機能が必ずしも充分ではなかった。このため、調理などによって多量の水蒸気が発生する食品工場では、十分な結露防止機能を果たすことがてきず、結露した水滴が食品等に落下してしまうという懸念は解消されていなかった。
【0006】
本発明は、上記課題に鑑みてなされたものであり、高湿度環境下でも結露の発生を抑制できる食品工場の内装構造を提供することを目的とする。
【課題を解決するための手段】
【0007】
本発明の内装用化粧材は、以下の構成を有する。
(1)本発明の第1態様に係る食品工場の内装構造は、食品工場の内壁面に固定される下地フレームと、前記下地フレームに固定され、前記内壁面を覆うように配列される複数の内装用化粧材と、前記内壁面と前記内装用化粧材との間に配される樹脂シートと、を有し、前記内装用化粧材は、アルミニウムを含む基材層と、前記基材層の一面側に重ねて配され、親水性樹脂を含む厚みが1.5μm以上100μm以下の親水層と、を少なくとも有する。
【0008】
(2)本発明の第2態様に係る食品工場の内装構造は、第1態様において、前記内壁面は天井面であり、前記下地フレームは吊り部材を介して前記天井面から吊下されている。
【0009】
(3)本発明の第2態様に係る食品工場の内装構造は、第2態様において、前記天井面と交差する側壁面と、前記内装用化粧材の端部との間には、廻り縁部材が配される。
【0010】
(4)本発明の第4態様に係る食品工場の内装構造は、第2態様において、前記天井面は、水平面に対して傾斜している。
(【0011】以降は省略されています)
この特許をJ-PlatPat(特許庁公式サイト)で参照する
関連特許
フクビ化学工業株式会社
食品工場の内装構造
1日前
フクビ化学工業株式会社
導光棒及び導光棒の製造方法
7日前
個人
接合構造
4日前
個人
屋台
21日前
個人
タッチミー
3日前
個人
野良猫ハウス
1か月前
個人
キャチクランプ
4か月前
個人
フェンス
1か月前
個人
転落防止用手摺
1か月前
個人
居住車両用駐車場
1か月前
個人
筋交自動設定装置
11日前
積水樹脂株式会社
柵体
1か月前
個人
地下型マンション
3か月前
個人
ベンリナアングル
3日前
ニチハ株式会社
建築板
1か月前
個人
鋼管結合資材
3か月前
個人
壁断熱パネル
4か月前
個人
熱抵抗多層断熱建材
1か月前
株式会社タナクロ
テント
3か月前
個人
補強部材
1か月前
個人
柵
2か月前
鹿島建設株式会社
壁体
1か月前
個人
身体用シェルター
11日前
個人
身体用シェルター
11日前
個人
循環流水式屋根融雪装置
3か月前
成友建設株式会社
建物
1か月前
三協立山株式会社
構造体
3か月前
株式会社熊谷組
木質材料
21日前
インターマン株式会社
天井構造
1か月前
株式会社熊谷組
吊り治具
8日前
個人
可搬型供養墓
9日前
三協立山株式会社
構造体
4か月前
株式会社熊谷組
床構成材
1日前
三協立山株式会社
構造体
11日前
三協立山株式会社
構造体
11日前
三協立山株式会社
構造体
11日前
続きを見る
他の特許を見る