TOP
|
特許
|
意匠
|
商標
特許ウォッチ
Twitter
他の特許を見る
10個以上の画像は省略されています。
公開番号
2025150137
公報種別
公開特許公報(A)
公開日
2025-10-09
出願番号
2024050860
出願日
2024-03-27
発明の名称
カーテンエアバッグ装置
出願人
豊田合成株式会社
代理人
弁理士法人明成国際特許事務所
主分類
B60R
21/232 20110101AFI20251002BHJP(車両一般)
要約
【課題】エアバッグの挿入口にインフレータを挿入する工程における手間を抑制する。
【解決手段】移動体用のカーテンエアバッグ装置は、インフレータから膨張用ガスを供給されることにより膨張し展開するエアバッグであって、インフレータが挿入される挿入口を有する、エアバッグと、挿入口が筒状に開口した開口状態を保持するように挿入口を補強する補強部と、を備える。
【選択図】図1
特許請求の範囲
【請求項1】
移動体用のカーテンエアバッグ装置であって、
インフレータから膨張用ガスを供給されることにより膨張し展開するエアバッグであって、前記インフレータが挿入される挿入口を有する、エアバッグと、
前記挿入口が筒状に開口した開口状態を保持するように前記挿入口を補強する補強部と、を備える、カーテンエアバッグ装置。
続きを表示(約 990 文字)
【請求項2】
請求項1に記載のカーテンエアバッグ装置であって、
前記補強部は、リング状部材によって構成され、
前記リング状部材の少なくとも一部は、前記挿入口内に配置されている、カーテンエアバッグ装置。
【請求項3】
請求項2に記載のカーテンエアバッグ装置であって、
前記リング状部材は、前記リング状部材の軸方向において、第1リング状部分と、前記第1リング状部分に接続された第2リング状部分と、を有し、
前記第1リング状部分は、前記挿入口を介して前記エアバッグ内に配置され、
前記第2リング状部分は、前記エアバッグ外に配置される、カーテンエアバッグ装置。
【請求項4】
請求項3に記載のカーテンエアバッグ装置であって、
前記第2リング状部分の側壁の外面には、凹部が設けられている、カーテンエアバッグ装置。
【請求項5】
請求項3に記載のカーテンエアバッグ装置であって、
前記第2リング状部分は、前記軸方向に見たときに、多角形状の外形を有する、カーテンエアバッグ装置。
【請求項6】
請求項2に記載のカーテンエアバッグ装置であって、
前記リング状部材は、両端を有するリング形状である、カーテンエアバッグ装置。
【請求項7】
請求項1に記載のカーテンエアバッグ装置であって、
前記補強部は、互いに重なった複数の基布の層によって構成されている、カーテンエアバッグ装置。
【請求項8】
請求項7に記載のカーテンエアバッグ装置であって、
前記補強部は、前記エアバッグのうち前記挿入口側の先端を含む口部に設けられ、
前記口部における前記基布の層の数は、前記エアバッグのうち前記口部とは異なる部分における前記基布の層の数よりも多い、カーテンエアバッグ装置。
【請求項9】
請求項1又は7に記載のカーテンエアバッグ装置であって、
前記補強部は、再生樹脂によって形成された基布の層を含む、カーテンエアバッグ装置。
【請求項10】
請求項1に記載のカーテンエアバッグ装置であって、
前記補強部は、硬化された樹脂製の基布の層を含む、カーテンエアバッグ装置。
発明の詳細な説明
【技術分野】
【0001】
本開示は、カーテンエアバッグ装置に関する。
続きを表示(約 2,900 文字)
【背景技術】
【0002】
移動体用のカーテンエアバッグ装置に関して、特許文献1には、エアバッグの基布によって形成された挿入口に、インフレータが挿入されることが開示されている。
【先行技術文献】
【特許文献】
【0003】
特開2012-232664号公報
【発明の概要】
【発明が解決しようとする課題】
【0004】
エアバッグにインフレータを挿入する挿入工程では、インフレータを挿入可能なように挿入口を広げつつ、広げられた挿入口にインフレータを挿入することを要する。この結果、挿入工程に手間が生じていた。
【課題を解決するための手段】
【0005】
本開示は、以下の形態として実現することが可能である。
【0006】
(1)本開示の一形態によれば、移動体用のカーテンエアバッグ装置が提供される。このカーテンエアバッグ装置は、インフレータから膨張用ガスを供給されることにより膨張し展開するエアバッグであって、前記インフレータが挿入される挿入口を有する、エアバッグと、前記挿入口が筒状に開口した開口状態を保持するように前記挿入口を補強する補強部と、を備える。
この形態によれば、補強部によって開口状態が保持されるので、挿入口にインフレータを挿入する挿入工程における手間を抑制できる。
(2)上記形態において、前記補強部は、リング状部材によって構成され、前記リング状部材の少なくとも一部は、前記挿入口内に配置されていてもよい。この形態によれば、リング状部材によって開口状態がより適切に保持されるので、挿入工程における手間を効果的に抑制できる。
(3)上記形態において、前記リング状部材は、前記リング状部材の軸方向において、第1リング状部分と、前記第1リング状部分に接続された第2リング状部分と、を有し、前記第1リング状部分は、前記挿入口を介して前記エアバッグ内に配置され、前記第2リング状部分は、前記エアバッグ外に配置されてもよい。この形態によれば、第2リング状部分を把持しながら第1リング状部分を挿入口からエアバッグ内に挿入することで、挿入口にリング状部材を容易に挿入できる。したがって、挿入口内にリング状部材を挿入する工程を簡略化できる。
(4)上記形態において、前記第2リング状部分の側壁の外面には、凹部が設けられていてもよい。この形態によれば、挿入口内にリング状部材を挿入する工程において、凹部を利用して第2リング状部分を把持することができ、作業性を向上できる。
(5)上記形態において、前記第2リング状部分は、前記軸方向に見たときに、多角形状を有していてもよい。この形態によれば、第2リング状部分が安定して把持されやすくなり、挿入口内にリング状部材を挿入する工程における作業性を向上できる。
(6)上記形態において、前記リング状部材は、両端を有するリング形状であってもよい。この形態によれば、挿入口内にリング状部材をより容易に配置できる。
(7)上記形態において、前記補強部は、互いに重なった複数の基布の層によって構成されていてもよい。この形態によれば、補強部をより簡易に構成できる。
(8)上記形態において、前記補強部は、前記エアバッグのうち前記挿入口側の先端を含む口部に設けられ、前記口部における前記基布の層の数は、前記エアバッグのうち前記口部とは異なる部分における前記基布の層の数よりも多くてもよい。この形態によれば、挿入口をより効果的に補強しつつ、エアバッグのうち口部とは異なる部分をより省スペースに構成できる。
(9)上記形態において、前記補強部は、再生樹脂によって形成された基布の層を含んでいてもよい。この形態によれば、再生樹脂によって形成された基布を有効に利用できる。
(10)上記形態において、前記エアバッグは、硬化された樹脂製の基布の層を含んでいてもよい。この形態によれば、補強部をより省スペースに構成できる。
本開示は、上述したカーテンエアバッグ装置としての形態以外にも、例えば、カーテンエアバッグ装置の製造方法などの種々の形態で実現することが可能である。
【図面の簡単な説明】
【0007】
第1実施形態における移動体用のカーテンエアバッグ装置の説明図である。
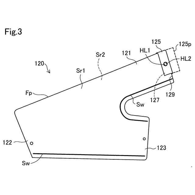
本体入口部の近傍を示す図である。
インナチューブの概略構成を説明する図である。
バッグ本体に対するインナチューブの配置を説明する図である。
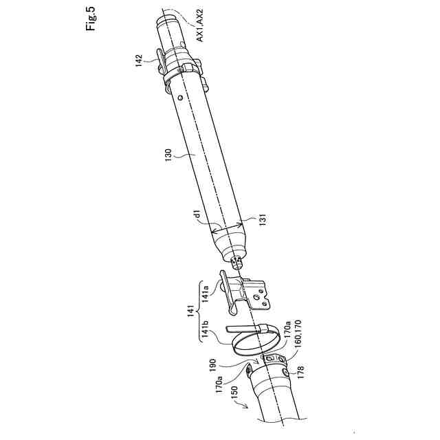
第1実施形態における受入部の近傍を示す分解斜視図である。
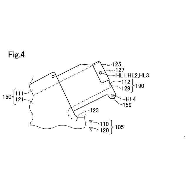
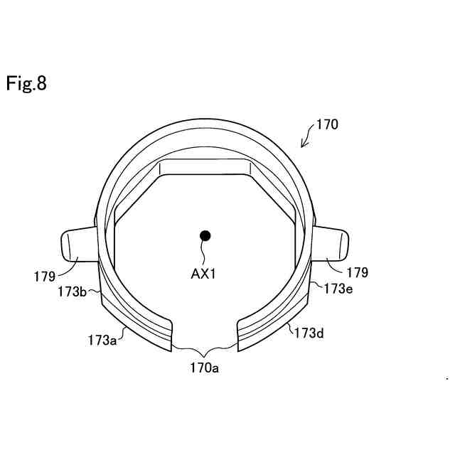
第1実施形態における受入部の近傍を示す正面図である。
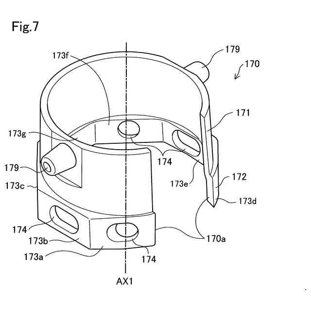
リング状部材の概略構成を示す第1の斜視図である。
リング状部材の概略構成を示す第2の斜視図である。
予備工程のフローチャートである。
挿入工程のフローチャートである。
第2実施形態における受入部の概略構成を示す図である。
第2実施形態におけるインナチューブの説明図である。
第3実施形態における受入部の説明図である。
【発明を実施するための形態】
【0008】
A.第1実施形態:
図1は、第1実施形態における移動体用のカーテンエアバッグ装置100の説明図である。図1には、移動体としての車両200に取り付けられる左右一対のカーテンエアバッグ装置100のうち、右のカーテンエアバッグ装置100が示されている。本実施形態における「左右」は、車両200の後方側から前方側に向かって車両200を見たときの左右を意味する。本実施形態における左右方向は、車幅方向に相当する。
【0009】
カーテンエアバッグ装置100は、エアバッグ105と、インフレータ130と、補強部160とを備える。エアバッグ105は、挿入口190を含む受入部150を有する。挿入口190には、インフレータ130の先端部131が挿入される。
【0010】
エアバッグ105は、カーテンエアバッグ装置100の作動時において、インフレータ130から膨張用ガスを供給されることにより、膨張し展開する。エアバッグ105が展開した状態のことを、展開状態ともいう。また、以下では、「カーテンエアバッグ装置100の作動時」のことを、単に、「作動時」ともいう。エアバッグ105は、カーテンエアバッグ装置100が作動していない通常時には、折り畳み状態を取る。折り畳み状態は、エアバッグ105が展開されておらず折り畳まれた状態を意味する。図1には、折り畳み状態におけるエアバッグ105fと、展開状態におけるエアバッグ105tとが示されている。具体的には、図1の矢印Afによって示すように、エアバッグ105は、展開状態から、下端を含む一部を上に向かって巻かれ、上端を含む他の一部をジグザグに折り畳まれることで折り畳み状態をとる。
(【0011】以降は省略されています)
この特許をJ-PlatPat(特許庁公式サイト)で参照する
関連特許
豊田合成株式会社
発光素子
1か月前
豊田合成株式会社
調光装置
5日前
豊田合成株式会社
殺菌装置
1か月前
豊田合成株式会社
表示装置
1か月前
豊田合成株式会社
操作装置
1か月前
豊田合成株式会社
着座装置
1か月前
豊田合成株式会社
半導体素子
1か月前
豊田合成株式会社
ガラスラン
17日前
豊田合成株式会社
ガラスラン
24日前
豊田合成株式会社
ガラスラン
17日前
豊田合成株式会社
流体殺菌装置
1か月前
豊田合成株式会社
車両用内装品
19日前
豊田合成株式会社
乗員保護装置
17日前
豊田合成株式会社
樹脂成形装置
25日前
豊田合成株式会社
流体殺菌装置
1か月前
豊田合成株式会社
車両用外装品
1か月前
豊田合成株式会社
流体殺菌装置
1か月前
豊田合成株式会社
車両用外装品
1か月前
豊田合成株式会社
車両用外装品
17日前
豊田合成株式会社
車載照明装置
1か月前
豊田合成株式会社
乗員保護装置
11日前
豊田合成株式会社
機器制御装置
17日前
豊田合成株式会社
流体殺菌装置
1か月前
豊田合成株式会社
流体殺菌装置
1か月前
豊田合成株式会社
車両用内装品
19日前
豊田合成株式会社
電動液体ポンプ
17日前
豊田合成株式会社
空調用レジスタ
18日前
豊田合成株式会社
空調用レジスタ
18日前
豊田合成株式会社
電動液体ポンプ
17日前
豊田合成株式会社
電動液体ポンプ
17日前
豊田合成株式会社
空調用レジスタ
18日前
豊田合成株式会社
立体エアバッグ
17日前
豊田合成株式会社
電動液体ポンプ
17日前
豊田合成株式会社
立体エアバッグ
1か月前
豊田合成株式会社
車両の前部構造
1か月前
豊田合成株式会社
ミスト噴射装置
1か月前
続きを見る
他の特許を見る