TOP
|
特許
|
意匠
|
商標
特許ウォッチ
Twitter
他の特許を見る
10個以上の画像は省略されています。
公開番号
2025150249
公報種別
公開特許公報(A)
公開日
2025-10-09
出願番号
2024051043
出願日
2024-03-27
発明の名称
粒子分離装置
出願人
京セラ株式会社
代理人
個人
,
個人
,
個人
,
個人
主分類
G01N
35/08 20060101AFI20251002BHJP(測定;試験)
要約
【課題】流路デバイスの流路内への液体の導入に要する消耗品を削減する。
【解決手段】粒子分離装置は、配置部と設置部と供給部と押圧部と洗浄部と制御部とを含む。流路デバイスは、本体部と第1給液部と第2給液部とを含む。本体部は、流路部と該流路部に各々通じた第1導入孔および第2導入孔とを含む。供給部は、ノズル部と、該ノズル部を移動させる機構と、該ノズルに液体の吸引と吐出を行わせる吸排部とを含む。吸排部は、ノズル部に、配置部の第1容器から第1液体を吸引させ、第1給液部の第1導入孔に接続した第1空間に第1液体を吐出させる。吸排部は、ノズル部に、第2給液部の第2導入孔に接続した第2空間に第2液体を吐出させる。押圧部は、流路デバイスが設置部に設置された状態で、第1給液部の第1可動部材を第1押圧部材で押させ、第2給液部の第2可動部材を第2押圧部材で押させる。洗浄部は、洗浄槽でノズル部が洗浄される。
【選択図】図1
特許請求の範囲
【請求項1】
配置部と、設置部と、供給部と、押圧部と、洗浄槽を含む洗浄部と、制御部と、を備え、
前記配置部は、第1液体が貯留された第1容器が配置される部分、を含み、
前記第1液体は、複数の第1粒子と、該複数の第1粒子よりも小さな複数の第2粒子と、を含み、
前記設置部は、流路デバイスが設置される部分、を含み、
前記流路デバイスは、本体部と、第1給液部と、第2給液部と、を備え、
前記本体部は、流路部と、複数の孔と、を有し、
前記流路部は、前記本体部の外面で開口しておらず、
前記複数の孔のそれぞれは、前記流路部に通じており且つ前記外面で開口しており、
前記複数の孔は、第1導入孔と、第2導入孔と、を含み、
前記第1導入孔は、前記外面のうちの第1方向の側の面において開口している第1導入口、を有し、
前記第2導入孔は、前記外面のうちの前記第1方向の側の面において開口している第2導入口、を有し、
前記流路部は、前記第2導入孔から第2液体が導入されるとともに前記第1導入孔から前記第1液体が導入されることで、前記複数の第1粒子と前記複数の第2粒子とを分離させるための複数の流路、を含み、
前記第1給液部は、第1筒状部と、第1可動部材と、を含み、
前記第1筒状部は、前記外面のうちの前記第1方向の側の面から前記第1方向に突き出ており、
前記第1筒状部は、前記第1導入口に接続している第1内部空間、を有し、
前記第1可動部材は、前記第1筒状部の内側に嵌まっており、
前記第1可動部材は、前記第1内部空間のうちの前記第1可動部材と前記本体部との間の第1空間に外部空間から前記第1液体を導入するための第1導入部を有し、
前記第2給液部は、第2筒状部と、第2可動部材と、を含み、
前記第2筒状部は、前記外面のうちの前記第1方向の側の面から前記第1方向に突き出ており、
前記第2筒状部は、前記第2導入口に接続している第2内部空間、を有し、
前記第2可動部材は、前記第2筒状部の内側に嵌まっており、
前記第2可動部材は、前記第2内部空間のうちの前記第2可動部材と前記本体部との間の第2空間に外部空間から前記第2液体を導入するための第2導入部を有し、
前記供給部は、ノズル部と、第1移動機構と、吸排部と、を含み、
前記第1移動機構は、前記ノズル部を移動させることで、前記ノズル部の先端部分を、第1領域と、第2領域と、第3領域と、第4領域と、を含む複数の領域の間で移動させ、
前記第1領域は、前記配置部に前記第1容器が配置された場合に前記第1容器内に位置しており、
前記第2領域は、前記設置部に前記流路デバイスが設置された場合に前記第1導入部内から前記第1空間内にかけて位置しており、
前記第3領域は、前記設置部に前記流路デバイスが設置された場合に前記第2導入部内から前記第2空間内にかけて位置しており、
前記第4領域は、前記洗浄槽内に位置しており、
前記吸排部は、前記ノズル部に液体を吸引させるとともに、前記ノズル部から液体を吐出させ、
前記供給部は、前記制御部による制御によって、第1供給動作と、第2供給動作と、を行い、
前記第1供給動作は、前記第1移動機構が前記ノズル部を移動させることで前記先端部分を前記第1領域に位置させるとともに、前記吸排部が前記ノズル部によって前記第1容器から前記第1液体を吸引させて保持させた後に、前記第1移動機構が前記ノズル部を移動させることで前記先端部分を前記第2領域に位置させるとともに、前記吸排部が前記ノズル部によって前記第1空間に前記第1液体を吐出させる動作、を含み、
前記第2供給動作は、前記第1移動機構が前記ノズル部を移動させることで前記先端部分を前記第3領域に位置させるとともに、前記ノズル部によって前記第2空間に前記第2液体を吐出させる動作、を含み、
前記押圧部は、第1押圧部材と、第2押圧部材と、駆動機構と、を含み、
前記押圧部は、第1押圧動作と、第2押圧動作と、を行い、
前記第1押圧動作は、前記駆動機構が前記設置部に設置された前記流路デバイスの前記第1可動部材を前記第1押圧部材によって前記第1導入口に向けて押させる動作、を含み、
前記第2押圧動作は、前記駆動機構が前記設置部に設置された前記流路デバイスの前記第2可動部材を前記第2押圧部材によって前記第2導入口に向けて押させる動作、を含み、
前記洗浄部は、前記洗浄槽内の前記第4領域に前記先端部分が位置している際に前記ノズル部を洗浄する洗浄処理が行われる部分である、粒子分離装置。
続きを表示(約 4,300 文字)
【請求項2】
請求項1に記載の粒子分離装置であって、
前記設置部は、第2方向において前記粒子分離装置を平面視した場合に、前記第2方向に垂直な第3方向において前記第1給液部と前記第2給液部とが並んでいる形態で前記流路デバイスが設置される構造を有し、
前記第2方向において前記粒子分離装置を平面視した場合に、前記配置部と前記洗浄槽とは、前記第3方向に交差している方向において並んでいる、粒子分離装置。
【請求項3】
請求項1に記載の粒子分離装置であって、
前記設置部は、第2方向において前記粒子分離装置を平面視した場合に、前記第2方向に垂直な第3方向において前記第1給液部と前記第2給液部とが並んでいる形態で前記流路デバイスが設置される構造を有し、
前記駆動機構は、第2移動機構を含み、
該第2移動機構は、前記流路デバイスが前記設置部に設置された状態で前記第2方向において前記粒子分離装置を平面視した場合に、前記第1押圧部材を、前記第1可動部と重なった第1押圧位置と、前記第3方向に交差している方向において前記第1給液部からずれた第1退避位置と、の間で移動させるとともに、前記第2押圧部材を、前記第2可動部と重なった第2押圧位置と、前記第3方向に交差している方向において前記第2給液部からずれた第2退避位置と、の間で移動させる、粒子分離装置。
【請求項4】
請求項3に記載の粒子分離装置であって、
前記第2移動機構は、第2A移動機構と、第2B移動機構と、を含み、
前記第2A移動機構は、前記第1押圧部材を前記第1押圧位置と前記第1退避位置との間で移動させ、
前記第2B移動機構は、前記第2押圧部材を前記第2押圧位置と前記第2退避位置との間で移動させる、粒子分離装置。
【請求項5】
請求項4に記載の粒子分離装置であって、
前記駆動機構は、第1押圧機構と、第2押圧機構と、を含み、
前記第1押圧機構は、前記流路デバイスが前記設置部に設置された状態において前記第1可動部材から前記第1導入口に向かう方向に前記第1押圧部材を移動させ、
前記第2押圧機構は、前記流路デバイスが前記設置部に設置された状態において前記第2可動部材から前記第2導入口に向かう方向に前記第2押圧部材を移動させ、
前記制御部は、前記流路デバイスが前記設置部に設置された状態において、前記供給部および前記押圧部のそれぞれの動作を制御することで、前記第2押圧機構によって前記第2給液部に第1導入動作を実行させながら、前記供給部によって前記第1給液部への前記第1液体の第1注入動作を実行させ、
前記第1導入動作は、前記第2押圧機構が前記第2押圧部材によって前記第2可動部材を前記第2導入口に向けて押させることで前記第2給液部によって前記第2空間内から前記第2導入孔を介して前記流路部内に前記第2液体を導入させる動作、を含み、
前記第1注入動作は、前記第1移動機構が前記ノズル部を移動させることで前記先端部分を前記第2領域に位置させるとともに、前記吸排部が前記ノズル部によって前記第1空間に前記第1液体を吐出させる動作、を含む、粒子分離装置。
【請求項6】
請求項1から請求項4の何れか1つの請求項に記載の粒子分離装置であって、
前記制御部は、前記第1容器が前記配置部に配置され且つ前記流路デバイスが前記設置部に設置された状態において、前記供給部、前記押圧部および前記洗浄部のそれぞれの動作を制御することで、
前記第2供給動作と、
該第2供給動作の後における第1導入動作と、
前記第2供給動作の後における前記供給部による第2注入動作と、
該第2注入動作の後における前記供給部による第1吸引動作と、
該第1吸引動作の後における前記供給部による第1注入動作と、
該第1注入動作の後における前記供給部による撹拌動作と、
前記第1導入動作の途中であって前記撹拌動作の後における前記押圧部による第2導入動作と、
前記撹拌動作の後における前記洗浄処理と、を前記粒子分離装置において実行させ、
前記第1導入動作は、前記駆動機構が前記第2押圧部材によって前記第2可動部材を前記第2導入口に向けて押させることで前記第2給液部によって前記第2空間内から前記第2導入孔を介して前記流路部内に前記第2液体を導入させる動作、を含み、
前記第2注入動作は、前記第1移動機構が前記ノズル部を移動させることで前記先端部分を前記第2領域に位置させるとともに、前記吸排部が前記ノズル部によって前記第1空間に前記第2液体を吐出させる動作、を含み、
前記第1吸引動作は、前記第1移動機構が前記ノズル部を移動させることで前記先端部分を前記第1領域に位置させるとともに、前記吸排部が前記ノズル部によって前記第1容器から前記第1液体を吸引させて保持させる動作、を含み、
前記第1注入動作は、前記第1移動機構が前記ノズル部を移動させることで前記先端部分を前記第2領域に位置させるとともに、前記吸排部が前記ノズル部によって前記第1空間に前記第1液体を吐出させる動作、を含み、
前記撹拌動作は、前記第2注入動作において前記ノズル部から前記第1空間に吐出された前記第2液体と、前記第1注入動作において前記ノズル部から前記第1空間に吐出された前記第1液体と、が混合された混合液について、前記吸排部が前記ノズル部によって前記第1空間内の前記混合液を吸引させる第1動作と、該第1動作の後に前記吸排部が前記ノズル部によって前記第1空間内に対して前記混合液を吐出させる第2動作と、によって前記混合液の撹拌を行う動作、を含み、
前記第2導入動作は、前記駆動機構が前記第1押圧部材によって前記第1可動部材を前記第1導入口に向けて押させることで前記第1給液部によって前記第1空間内から前記第1導入孔を介して前記流路部内に前記混合液を導入させる動作、を含む、粒子分離装置。
【請求項7】
請求項1から請求項4の何れか1つの請求項に記載の粒子分離装置であって、
前記制御部は、前記流路デバイスが前記設置部に設置された状態において、前記供給部、前記押圧部および前記洗浄部のそれぞれの動作を制御することで、前記粒子分離装置において、前記駆動機構が前記第1押圧部材によって前記第1可動部材を前記第1導入口に向けて押させているとともに前記第2押圧部材によって前記第2可動部材を前記第2導入口に向けて押させている際に、前記洗浄処理を実行させる、粒子分離装置。
【請求項8】
請求項1から請求項4の何れか1つの請求項に記載の粒子分離装置であって、
前記供給部は、第1切換部と、液体供給源と、を含み、
前記吸排部と、前記液体供給源と、前記ノズル部とは、前記第1切換部を介して接続されており、
前記液体供給源は、前記第2液体を保持している第1供給源、を含み、
前記第1切換部は、前記吸排部と前記ノズル部とが通じている第1流路状態と、前記吸排部と前記第1供給源とが通じている第2流路状態と、を含む複数の流路状態のうちの何れか1つの流路状態に選択的に設定し、
前記第1切換部が前記第1流路状態に設定している際に、前記吸排部が前記ノズル部によって液体を吸引させて保持させた後に、前記吸排部が前記ノズル部によって該液体を吐出させ、
前記第1切換部が前記第2流路状態に設定している際に、前記吸排部が前記第1供給源から前記第2液体を吸引して保持した後に、前記第1切換部が前記第1流路状態に設定している際に、前記吸排部が前記ノズル部によって前記第2液体を吐出させる、粒子分離装置。
【請求項9】
請求項8に記載の粒子分離装置であって、
前記液体供給源は、第1洗浄液を保持している第2供給源と、第2洗浄液を保持している第3供給源と、を含み、
前記複数の流路状態は、前記吸排部と前記第2供給源とが通じている第3流路状態と、前記吸排部と前記第3供給源とが通じている第4流路状態と、を含み、
前記第1切換部が前記第3流路状態に設定している際に、前記吸排部が前記第2供給源から前記第1洗浄液を吸引して保持した後に、前記第1切換部が前記第1流路状態に設定している際に、前記吸排部が前記ノズル部によって前記第1洗浄液を吐出させ、
前記第1切換部が前記第4流路状態に設定している際に、前記吸排部が前記第3供給源から前記第2洗浄液を吸引して保持した後に、前記第1切換部が前記第1流路状態に設定している際に、前記吸排部が前記ノズル部によって前記第2洗浄液を吐出させる、粒子分離装置。
【請求項10】
請求項9に記載の粒子分離装置であって、
前記洗浄部は、液体供給部と、液体排出部と、を含み、
前記液体供給部は、前記制御部による制御によって、前記洗浄槽内に第3洗浄液および第4洗浄液のうちの一方の液体を選択的に供給し、
前記液体排出部は、前記洗浄槽内から液体を排出し、
前記洗浄処理は、第1洗浄処理と、第2洗浄処理と、を含み、
前記第1洗浄処理は、前記吸排部が前記ノズル部によって前記第1洗浄液を吐出させるとともに前記液体排出部が前記洗浄槽内から液体を排出する動作と、前記液体供給部が前記洗浄槽内へ前記第3洗浄液を供給することで前記洗浄槽内に貯留された前記第3洗浄液に前記ノズル部を浸漬させるとともに前記液体排出部が前記洗浄槽内から液体を排出する動作と、を繰り返すことで実行され、
前記第2洗浄処理は、前記吸排部が前記ノズル部によって前記第2洗浄液を吐出させるとともに前記液体排出部が前記洗浄槽内から液体を排出する動作と、前記液体供給部が前記洗浄槽内へ前記第4洗浄液を供給することで前記洗浄槽内に貯留された前記第4洗浄液に前記ノズル部を浸漬させるとともに前記液体排出部が前記洗浄槽内から液体を排出する動作と、を繰り返すことで実行される、粒子分離装置。
(【請求項11】以降は省略されています)
発明の詳細な説明
【技術分野】
【0001】
本開示は、粒子分離装置に関する。
続きを表示(約 5,000 文字)
【背景技術】
【0002】
複数種の複数の粒子を含む第1液体と、この第1液体とは別の第2液体と、を流路デバイスに導入して、第1液体から特定の種の複数の粒子を分離する技術が知られている(例えば、特許文献1の記載を参照)。
【0003】
第1液体には、例えば、血液などの検体が適用される。第2液体には、例えば、生理食塩水などの緩衝液が適用される。流路デバイスには、例えば、微細な流路を有する各種のデバイスが適用される。
【先行技術文献】
【特許文献】
【0004】
国際公開第2023/189163号
【発明の概要】
【発明が解決しようとする課題】
【0005】
流路デバイスの流路内への液体の導入に要する消耗品を削減する点で改善の余地がある。
【課題を解決するための手段】
【0006】
粒子分離装置が開示される。
【0007】
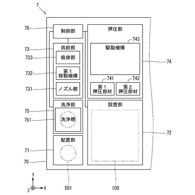
粒子分離装置の一態様は、配置部と、設置部と、供給部と、押圧部と、洗浄槽を含む洗浄部と、制御部と、を備えている。前記配置部は、第1液体が貯留された第1容器が配置される部分、を含む。前記第1液体は、複数の第1粒子と、該複数の第1粒子よりも小さな複数の第2粒子と、を含む。前記設置部は、流路デバイスが設置される部分、を含む。前記流路デバイスは、本体部と、第1給液部と、第2給液部と、を備えている。前記本体部は、流路部と、複数の孔と、を有する。前記流路部は、前記本体部の外面で開口していない。前記複数の孔のそれぞれは、前記流路部に通じており且つ前記外面で開口している。前記複数の孔は、第1導入孔と、第2導入孔と、を含む。前記第1導入孔は、前記外面のうちの第1方向の側の面において開口している第1導入口、を有する。前記第2導入孔は、前記外面のうちの前記第1方向の側の面において開口している第2導入口、を有する。前記流路部は、前記第2導入孔から第2液体が導入されるとともに前記第1導入孔から前記第1液体が導入されることで、前記複数の第1粒子と前記複数の第2粒子とを分離させるための複数の流路、を含む。前記第1給液部は、第1筒状部と、第1可動部材と、を含む。前記第1筒状部は、前記外面のうちの前記第1方向の側の面から前記第1方向に突き出ている。前記第1筒状部は、前記第1導入口に接続している第1内部空間、を有する。前記第1可動部材は、前記第1筒状部の内側に嵌まっている。前記第1可動部材は、前記第1内部空間のうちの前記第1可動部材と前記本体部との間の第1空間に外部空間から前記第1液体を導入するための第1導入部を有する。前記第2給液部は、第2筒状部と、第2可動部材と、を含む。前記第2筒状部は、前記外面のうちの前記第1方向の側の面から前記第1方向に突き出ている。前記第2筒状部は、前記第2導入口に接続している第2内部空間、を有する。前記第2可動部材は、前記第2筒状部の内側に嵌まっている。前記第2可動部材は、前記第2内部空間のうちの前記第2可動部材と前記本体部との間の第2空間に外部空間から前記第2液体を導入するための第2導入部を有する。前記供給部は、ノズル部と、第1移動機構と、吸排部と、を含む。前記第1移動機構は、前記ノズル部を移動させることで、前記ノズル部の先端部分を、第1領域と、第2領域と、第3領域と、第4領域と、を含む複数の領域の間で移動させる。前記第1領域は、前記配置部に前記第1容器が配置された場合に前記第1容器内に位置している。前記第2領域は、前記設置部に前記流路デバイスが設置された場合に前記第1導入部内から前記第1空間内にかけて位置している。前記第3領域は、前記設置部に前記流路デバイスが設置された場合に前記第2導入部内から前記第2空間内にかけて位置している。前記第4領域は、前記洗浄槽内に位置している。前記吸排部は、前記ノズル部に液体を吸引させるとともに、前記ノズル部から液体を吐出させる。前記供給部は、前記制御部による制御によって、第1供給動作と、第2供給動作と、を行う。前記第1供給動作は、前記第1移動機構が前記ノズル部を移動させることで前記先端部分を前記第1領域に位置させるとともに、前記吸排部が前記ノズル部によって前記第1容器から前記第1液体を吸引させて保持させた後に、前記第1移動機構が前記ノズル部を移動させることで前記先端部分を前記第2領域に位置させるとともに、前記吸排部が前記ノズル部によって前記第1空間に前記第1液体を吐出させる動作、を含む。前記第2供給動作は、前記第1移動機構が前記ノズル部を移動させることで前記先端部分を前記第3領域に位置させるとともに、前記ノズル部によって前記第2空間に前記第2液体を吐出させる動作、を含む。前記押圧部は、第1押圧部材と、第2押圧部材と、駆動機構と、を含む。前記押圧部は、第1押圧動作と、第2押圧動作と、を行う。前記第1押圧動作は、前記駆動機構が前記設置部に設置された前記流路デバイスの前記第1可動部材を前記第1押圧部材によって前記第1導入口に向けて押させる動作、を含む。前記第2押圧動作は、前記駆動機構が前記設置部に設置された前記流路デバイスの前記第2可動部材を前記第2押圧部材によって前記第2導入口に向けて押させる動作、を含む。前記洗浄部は、前記洗浄槽内の前記第4領域に前記先端部分が位置している際に前記ノズル部を洗浄する洗浄処理が行われる部分である。
【発明の効果】
【0008】
流路デバイスの流路内への液体の導入に要する消耗品を削減することができる。
【図面の簡単な説明】
【0009】
図1は、第1実施形態に係る粒子分離装置の概略構成の一例を模式的に示すブロック図である。
図2は、第1液体が貯留された第1容器の構成の一例を模式的に示す正面図である。
図3は、配置部の構成の一例を模式的に示す平面図である。
図4は、配置部の構成の一例を模式的に示す正面図である。
図5は、配置部に第1容器が配置された様子の一例を模式的に示す正面図である。
図6は、流路デバイスの構成の一例を模式的に示す平面図である。
図7は、流路デバイスの構成の一例を模式的に示す正面図である。
図8は、図6の位置VIII-VIIIにおいて流路デバイスを+Y方向に向かって見た仮想的な断面の一例を模式的に示す断面図である。
図9は、第1部分の構成の一例を模式的に示す平面図である。
図10は、第1部分の構成の一例を模式的に示す正面図である。
図11は、図9の位置IX-IXにおいて第1部分を-X方向に向かって見た仮想的な断面の一例を模式的に示す断面図である。
図12は、図9の位置XII-XIIにおいて第1部分を-X方向に向かって見た仮想的な断面の一例を模式的に示す断面図である。
図13は、第2部分の構成の一例を模式的に示す平面図である。
図14は、第3部分の構成の一例を模式的に示す平面図である。
図15は、流路デバイスにおける流路部および複数の孔の構成の一例を模式的に示す平面図である。
図16は、図15の矩形の一点鎖線で囲まれた領域XVIを示す平面図である。
図17は、設置部の構成の一例を模式的に示す平面図である。
図18は、図17の位置XVIII-XVIIIにおいて設置部を+X方向に向かって見た仮想的な断面の一例を模式的に示す断面図である。
図19は、設置部に流路デバイスが設置された様子の一例を模式的に示す平面図である。
図20は、供給部のうちのノズル部および吸排部の構成の一例を模式的に示す図である。
図21は、第1移動機構によるノズル部の移動を説明するための図である。
図22は、第1移動機構によるノズル部の移動を説明するための図である。
図23は、第1移動機構によるノズル部の移動を説明するための図である。
図24は、第1移動機構によるノズル部の移動を説明するための図である。
図25は、第1移動機構の構成の一例を模式的に示す正面図である。
図26は、第1移動機構の構成の一例を模式的に示す平面図である。
図27は、供給部においてノズル部によって第1液体と異なる液体を吐出させるための構成の一例を模式的に示す図である。
図28は、第1切換部および供給源の構成の一例を模式的に示す図である。
図29は、第1切換部および供給源の構成の他の一例を模式的に示す図である。
図30は、押圧部の概略的な構成の一例を概念的に示す図である。
図31は、押圧部の構成の一例を模式的に示す平面図である。
図32は、押圧部の構成の一例を模式的に示す平面図である。
図33は、粒子分離装置の動作中の状態の一例を模式的に示す図である。
図34は、洗浄部の概略的な構成の一例を模式的に示す正面図である。
図35は、制御部の概略的な構成の一例を模式的に示すブロック図である。
図36は、第2排出口および第3排出口のそれぞれに接続される構成の一例を模式的に示す図である。
図37は、粒子分離装置の動作の流れの一例を示す流れ図である。
図38は、粒子分離装置の動作途中の様子の一例を模式的に示す図である。
図39は、粒子分離装置の動作途中の様子の一例を模式的に示す図である。
図40は、流路部に第2液体を充填する工程の一例を説明するための模式図である。
図41は、流路部に第2液体を充填する工程の一例を説明するための模式図である。
図42は、流路部に第2液体を充填する工程の一例を説明するための模式図である。
図43は、粒子分離装置の動作途中の様子の一例を模式的に示す図である。
図44は、粒子分離装置の動作途中の様子の一例を模式的に示す図である。
図45は、粒子分離装置の動作途中の様子の一例を模式的に示す図である。
図46は、粒子分離装置の動作途中の様子の一例を模式的に示す図である。
図47は、粒子分離装置の動作途中の様子の一例を模式的に示す図である。
図48は、粒子分離装置の動作途中の様子の一例を模式的に示す図である。
図49は、粒子分離装置の動作途中の様子の一例を模式的に示す図である。
図50は、粒子分離装置の動作の流れの他の第1例を示す流れ図である。
図51は、粒子分離装置の動作の流れの他の第2例を示す流れ図である。
図52は、粒子分離装置の動作の流れの他の第3例を示す流れ図である。
図53は、第2排出口に接続される構成の他の一例を模式的に示す図である。
図54は、押圧部の概略的な構成の他の第1例を概念的に示す図である。
図55は、押圧部の構成の他の第1例を模式的に示す平面図である。
図56は、押圧部の概略的な構成の他の第2例を模式的に示す図である。
図57は、押圧部の構成の他の第2例を模式的に示す平面図である。
図58は、洗浄部の概略的な構成の他の一例を模式的に示す正面図である。
【発明を実施するための形態】
【0010】
複数種の複数の粒子を含む液体(第1液体ともいう)と、この第1液体とは別の液体(第2液体ともいう)とを流路デバイスに導入して、第1液体から特定の種の複数の粒子を分離する技術が知られている。ここで、第1液体には、例えば、血液などの検体が適用される。第2液体には、例えば、生理食塩水などの緩衝液が適用される。流路デバイスには、例えば、微細な流路を有する各種のデバイスが適用される。
(【0011】以降は省略されています)
この特許をJ-PlatPat(特許庁公式サイト)で参照する
関連特許
京セラ株式会社
蓄電装置
2日前
京セラ株式会社
弾性波装置
15日前
京セラ株式会社
粒子分離装置
2日前
京セラ株式会社
センサシステム
8日前
京セラ株式会社
静圧気体軸受装置
1日前
京セラ株式会社
配線基板及び電子装置
8日前
京セラ株式会社
走査装置及び制御装置
1日前
京セラ株式会社
走査装置及び制御装置
1日前
京セラ株式会社
配線基板及び電子装置
8日前
京セラ株式会社
コネクタ及び取付方法
3日前
京セラ株式会社
流路デバイスの準備方法
3日前
京セラ株式会社
太陽電池付きカーポート
1日前
京セラ株式会社
発光装置および照明装置
12日前
京セラ株式会社
太陽電池付きカーポート
1日前
京セラ株式会社
取付部材及びヘッド取付方法
9日前
京セラ株式会社
受電装置及び光給電システム
3日前
京セラ株式会社
フィルタデバイスおよび通信装置
8日前
京セラ株式会社
揺動装置、電磁波照射装置、及び制御装置
1日前
京セラ株式会社
光通信装置、光通信システム及び光照射素子
4日前
京セラ株式会社
ホルダ、切削工具、及び切削加工物の製造方法
2日前
京セラ株式会社
ノード、方法、プログラム及び分散台帳システム
3日前
京セラ株式会社
多層基板、フィルタモジュール、および通信装置
12日前
京セラ株式会社
プログラム、給電方法、給電装置及び光給電システム
2日前
京セラ株式会社
情報処理装置、情報処理システム、及び情報処理方法
3日前
京セラ株式会社
情報処理装置、情報処理システム、及び情報処理方法
3日前
京セラ株式会社
受発光センサ及び該受発光センサを備えた画像形成装置
1日前
京セラ株式会社
受発光センサ及び該受発光センサを備えた画像形成装置
1日前
京セラ株式会社
受発光センサ及び該受発光センサを備えた画像形成装置
1日前
京セラ株式会社
受発光センサ及び該受発光センサを備えた画像形成装置
1日前
京セラ株式会社
受発光センサ及び該受発光センサを備えた画像形成装置
1日前
京セラ株式会社
ダンパ部材、液体吐出ヘッド、液体吐出装置及び記録装置
2日前
京セラ株式会社
通信装置、暗号通信方法、プログラム及び暗号通信システム
2日前
京セラ株式会社
積層型電子部品
4日前
京セラ株式会社
導電部材、電気化学セル装置、モジュールおよびモジュール収容装置
1日前
京セラ株式会社
認識モデル、情報処理システム、情報処理方法、及び認識モデル生成方法
23日前
京セラ株式会社
電気化学セル、電気化学セル装置、モジュールおよびモジュール収容装置
1日前
続きを見る
他の特許を見る