TOP
|
特許
|
意匠
|
商標
特許ウォッチ
Twitter
他の特許を見る
10個以上の画像は省略されています。
公開番号
2025154418
公報種別
公開特許公報(A)
公開日
2025-10-10
出願番号
2024057411
出願日
2024-03-29
発明の名称
静圧気体軸受装置
出願人
京セラ株式会社
代理人
弁理士法人酒井国際特許事務所
,
弁理士法人ブナ国際特許事務所
主分類
F16C
32/06 20060101AFI20251002BHJP(機械要素または単位;機械または装置の効果的機能を生じ維持するための一般的手段)
要約
【課題】パッド面積を小さくしても振動が低減する静圧気体軸受装置を提供すること。
【解決手段】本開示に係る静圧気体軸受装置は、可動部材と固定部材とを備える。可動部材または固定部材の基体の軸受面には、凹部が位置し、凹部の底面には気体供給孔の開口部が位置している。凹部には、多孔質体が位置している。多孔質体の少なくとも底面は、凹部に接着されているか、または接触している。多孔質体の表面には、表面の中心領域から多孔質体の外周に到る第1溝が位置している。基体の軸受面の多孔質体の外側に、排気溝が位置している。
【選択図】図2A
特許請求の範囲
【請求項1】
可動部材と固定部材とを備え、
前記可動部材または前記固定部材の基体の軸受面には、凹部が位置し、該凹部の底面には気体供給孔の開口部が位置し、
前記凹部には、多孔質体が位置し、
前記多孔質体の少なくとも底面は、前記凹部に接着されているか、または接触しており、
前記多孔質体の表面には、該表面の中心領域から前記多孔質体の外周に到る第1溝が位置し、
前記基体の前記軸受面の前記多孔質体の外側に、排気溝が位置している、
静圧気体軸受装置。
続きを表示(約 700 文字)
【請求項2】
前記凹部を平面視した場合、前記気体供給孔の開口部の面積が、前記凹部の底面の面積よりも小さい、請求項1に記載の静圧気体軸受装置。
【請求項3】
前記多孔質体は、前記気体供給孔の開口部以外の前記凹部の全面に接着されている、請求項1または2に記載の静圧気体軸受装置。
【請求項4】
前記多孔質体の表面と前記基体の前記軸受面とが面一である、請求項1または2に記載の静圧気体軸受装置。
【請求項5】
前記多孔質体は、前記凹部が位置している部材と同じ材料である、請求項1または2に記載の静圧気体軸受装置。
【請求項6】
前記第1溝が少なくとも2つ位置しており、隣接する2本の前記第1溝によって形成される角は、同じ角度を有する、請求項1または2に記載の静圧気体軸受装置。
【請求項7】
前記多孔質体には、前記第1溝と交差する第1交差溝がさらに位置している、請求項1または2に記載の静圧気体軸受装置。
【請求項8】
前記多孔質体の表面の算術平均粗さRaは、前記第1溝の内壁面の算術平均粗さRaよりも小さい、請求項1または2に記載の静圧気体軸受装置。
【請求項9】
前記基体の前記軸受面には、前記第1溝と連通する第2溝が位置している、請求項1または2に記載の静圧気体軸受装置。
【請求項10】
前記基体の前記軸受面の算術平均粗さRaは、前記第2溝の内壁面の算術平均粗さRaよりも小さい、請求項1または2に記載の静圧気体軸受装置。
(【請求項11】以降は省略されています)
発明の詳細な説明
【技術分野】
【0001】
本開示は、静圧気体軸受装置に関する。
続きを表示(約 1,500 文字)
【背景技術】
【0002】
従来、高真空またはガス雰囲気などの特殊な環境下で使用され、かつ高精度な静圧気体軸受装置には、例えば、特許文献1および特許文献2に記載のように排気溝が含まれている。
【先行技術文献】
【特許文献】
【0003】
特開2011-149500号公報
特開2003-314549号公報
【発明の開示】
【発明が解決しようとする課題】
【0004】
このような排気溝を有する従来の静圧気体軸受装置は、装置の小型化、軽量化のために、パッド面積を小さくすることが求められる。加圧気体を摺動面に沿って分配する通気溝と加圧気体を排気する排気溝とを含めたパッド部分の面積を小さくすると、振動が大きくなるという問題があった。
【0005】
本開示の課題は、パッド面積を小さくしても振動が低減する静圧気体軸受装置を提供することである。
【課題を解決するための手段】
【0006】
本開示に係る静圧気体軸受装置は、可動部材と固定部材とを備える。可動部材または固定部材の基体の軸受面には、凹部が位置し、凹部の底面には気体供給孔の開口部が位置している。凹部には、多孔質体が位置している。多孔質体の少なくとも底面は、凹部に接着されているか、または接触している。多孔質体の表面には、表面の中心領域から多孔質体の外周に到る第1溝が位置している。基体の軸受面の多孔質体の外側に、排気溝が位置している。
【発明の効果】
【0007】
本開示に係る静圧気体軸受装置は、上記のような構成を有することによって、パッド面積を小さくしても振動が低減する。
【図面の簡単な説明】
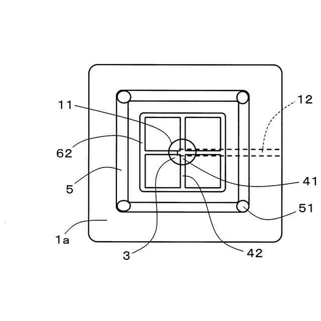
【0008】
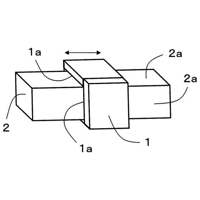
本開示の一実施形態に係る静圧気体軸受装置を、直線案内装置に設けた例を示す説明図である。
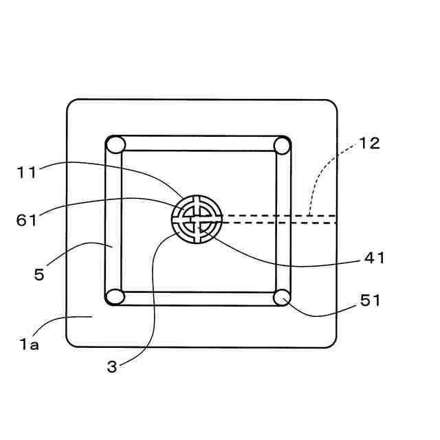
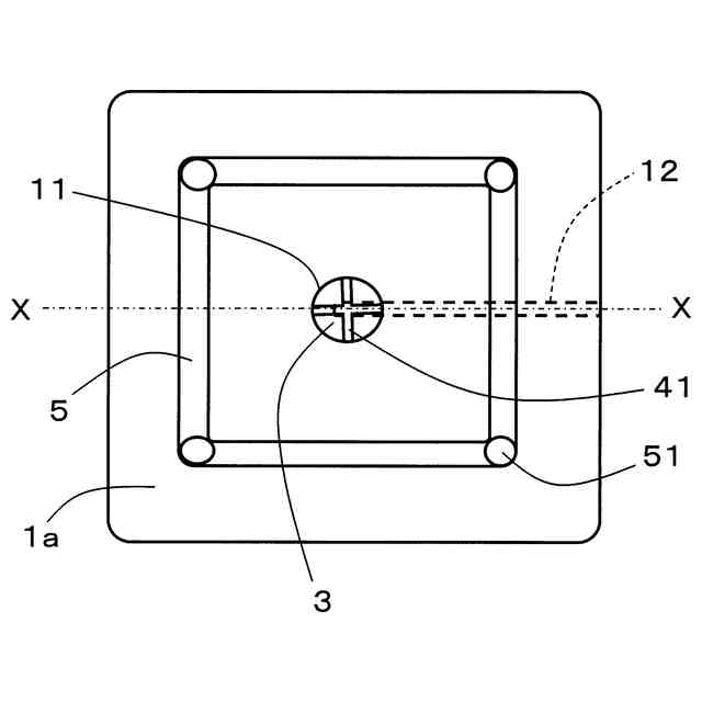
本開示の一実施形態に係る静圧気体軸受装置の要部を示す平面図である。
図2Aに記載のX-X線で切断した断面を示す説明図である。
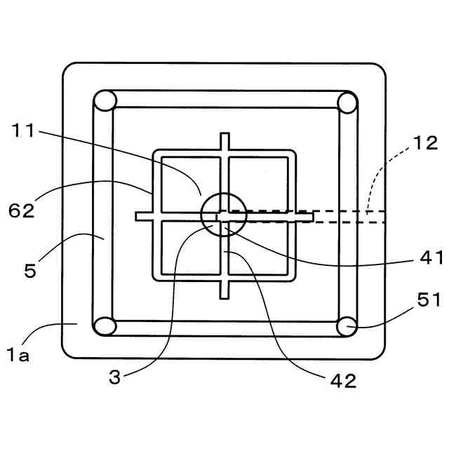
本開示の一実施形態に係る静圧気体軸受装置の要部の変形例を示す平面図である。
本開示の一実施形態に係る静圧気体軸受装置の要部の他の変形例を示す平面図である。
本開示の一実施形態に係る静圧気体軸受装置の要部のさらに他の変形例を示す平面図である。
本開示の一実施形態に係る静圧気体軸受装置の要部のさらに他の変形例を示す平面図である。
本開示の他の実施形態に係る静圧気体軸受装置の要部を示す平面図である。
【発明を実施するための形態】
【0009】
本開示の一実施形態に係る静圧気体軸受装置を、図1~4Cに基づいて説明する。図1は、本開示の一実施形態に係る静圧気体軸受装置を、直線案内装置に設けた例を示す説明図である。一実施形態に係る静圧気体軸受装置は、可動部材1と固定部材2とを備える。
【0010】
可動部材1は、略四角柱状を有する固定部材2を囲むように設けられている。可動部材1と固定部材2とは隙間を有するように位置しており、接していない。可動部材1の基体の軸受面1aまたは固定部材2の基体の軸受面2aから、圧縮気体を噴出させることによって静圧気体層が形成される。そのため、可動部材1と固定部材2とが非接触の状態で、別の駆動手段(図示せず)を用いて可動部材1を固定部材2に沿って移動させることができる。
(【0011】以降は省略されています)
この特許をJ-PlatPat(特許庁公式サイト)で参照する
関連特許
京セラ株式会社
刃物
1か月前
京セラ株式会社
蓄電装置
10日前
京セラ株式会社
二次電池
1か月前
京セラ株式会社
弾性波装置
23日前
京セラ株式会社
粒子分離装置
10日前
京セラ株式会社
センサシステム
16日前
京セラ株式会社
静圧気体軸受装置
9日前
京セラ株式会社
太陽電池モジュール
1か月前
京セラ株式会社
配線基板及び電子装置
16日前
京セラ株式会社
配線基板及び電子装置
16日前
京セラ株式会社
走査装置及び制御装置
9日前
京セラ株式会社
走査装置及び制御装置
9日前
京セラ株式会社
コネクタ及び取付方法
11日前
京セラ株式会社
太陽電池付きカーポート
9日前
京セラ株式会社
太陽電池付きカーポート
9日前
京セラ株式会社
発光装置および照明装置
20日前
京セラ株式会社
流路デバイスの準備方法
11日前
京セラ株式会社
半導体装置及びその製造方法
1か月前
京セラ株式会社
取付部材及びヘッド取付方法
17日前
京セラ株式会社
骨モデルおよび表示システム
1か月前
京セラ株式会社
受電装置及び光給電システム
11日前
京セラ株式会社
液体吐出ヘッドおよび記録装置
1か月前
京セラ株式会社
電源制御装置及び電源制御方法
1か月前
京セラ株式会社
電源制御装置及び電源制御方法
1か月前
京セラ株式会社
電源制御装置及び電源制御方法
1か月前
京セラ株式会社
フィルタデバイスおよび通信装置
16日前
京セラ株式会社
光センサおよび光センサの製造方法
5日前
京セラ株式会社
液滴吐出ヘッドおよび液滴吐出装置
1か月前
京セラ株式会社
電子部品搭載用基板及び電子モジュール
1か月前
京セラ株式会社
揺動装置、電磁波照射装置、及び制御装置
9日前
京セラ株式会社
異常検知装置、プログラム及び異常検知方法
2か月前
京セラ株式会社
異常検知装置、プログラム及び異常検知方法
2か月前
京セラ株式会社
光通信装置、光通信システム及び光照射素子
12日前
京セラ株式会社
異常検知装置、プログラム及び異常検知方法
2か月前
京セラ株式会社
情報処理装置及び学習モデル用データ生成方法
1か月前
京セラ株式会社
ホルダ、切削工具、及び切削加工物の製造方法
10日前
続きを見る
他の特許を見る