TOP
|
特許
|
意匠
|
商標
特許ウォッチ
Twitter
他の特許を見る
公開番号
2025146303
公報種別
公開特許公報(A)
公開日
2025-10-03
出願番号
2024046995
出願日
2024-03-22
発明の名称
センサシステム
出願人
京セラ株式会社
代理人
弁理士法人 HARAKENZO WORLD PATENT & TRADEMARK
主分類
A61B
5/107 20060101AFI20250926BHJP(医学または獣医学;衛生学)
要約
【課題】関節角度および関節近傍の筋肉の活動を簡便に検出する。
【解決手段】センサシステム(200)は、被検体の第1部位の姿勢を検出する第1検出部(101a)と、前記第1部位の筋肉の活動を検出する第2検出部(104)と、前記第1検出部(101a)および前記第2検出部(104)を前記第1部位に固定する第1固定部(19a)を有する第1装着部(1a)と、を備える。
【選択図】図4
特許請求の範囲
【請求項1】
被検体の第1部位の姿勢を検出する第1検出部と、
前記第1部位の筋肉の活動を検出する第2検出部と、
前記第1検出部および前記第2検出部を前記第1部位に固定する第1固定部を有する第1装着部と、
を備えるセンサシステム。
続きを表示(約 790 文字)
【請求項2】
前記第2検出部は、前記第1部位の皮膚に当接する面状電極を有しており、前記面状電極により前記第1部位の筋肉の活動を示す筋電位を検出する筋電センサである、
請求項1に記載のセンサシステム。
【請求項3】
前記面状電極は、可撓性を有する、
請求項2に記載のセンサシステム。
【請求項4】
前記面状電極は、複数であり、前記複数の面状電極のそれぞれは、前記第1部位における第1側および前記第1側と異なる第2側に当接する、
請求項2または3に記載のセンサシステム。
【請求項5】
前記第1装着部は帯形状である、
請求項1に記載のセンサシステム。
【請求項6】
前記第1検出部は、前記第1装着部に着脱自在に配されている、
請求項1に記載のセンサシステム。
【請求項7】
前記第1部位は、関節から第1方向に延在する部位である、
請求項1に記載のセンサシステム。
【請求項8】
前記第1装着部と通信可能である第1制御部をさらに備え、
前記第1制御部は、前記第1検出部から出力された第1検出データおよび前記第2検出部から出力された第2検出データの少なくともいずれかを解析する、
請求項1に記載のセンサシステム。
【請求項9】
前記被検体の第2部位の姿勢を検出する第3検出部と、
前記第3検出部を前記第2部位に固定する第2固定部を有する第2装着部と、
をさらに備える、
請求項1に記載のセンサシステム。
【請求項10】
前記第3検出部は、前記第2装着部に着脱自在に配されている、
請求項9に記載のセンサシステム。
(【請求項11】以降は省略されています)
発明の詳細な説明
【技術分野】
【0001】
本開示は、関節および筋肉の働き状態を検出するセンサシステムに関する。
続きを表示(約 1,200 文字)
【背景技術】
【0002】
特許文献1では、理学療法又はリハビリテーション部位の近くに加速度センサ、ジャイロスコープ、磁力計、または近接センサを配して、関節の理学療法およびリハビリテーションをモニタするためのシステムが開示されている。
【先行技術文献】
【特許文献】
【0003】
特表2020-507382号公報
【発明の概要】
【発明が解決しようとする課題】
【0004】
例えば、軽度の変形性膝関節症を罹患している患者に対して、症状の進行抑制および痛みの緩和のため、関節の可動域の維持および拡大と、当該関節の周囲の筋肉の筋力強化とを目的とした運動療法の実施が提案される。運動療法は、適切に実行されなければ症状を悪化させる可能性もある。それゆえ、運動療法は、関節角度および関節近傍の筋肉の活動を確認しながら行うことが望ましい。また、運動療法は、継続的に実行されなければ効果が低いため、関節角度および関節近傍の筋肉の活動を簡便に確認できることが望ましい。
【0005】
本開示の一態様は、関節角度および関節近傍の筋肉の活動を簡便に検出可能なセンサシステムを実現することを目的とする。
【課題を解決するための手段】
【0006】
上記の課題を解決するために、本開示の一態様に係るセンサシステムは、被検体の第1部位の姿勢を検出する第1検出部と、前記第1部位の筋肉の活動を検出する第2検出部と、前記第1検出部および前記第2検出部を前記第1部位に固定する第1固定部を有する第1装着部と、を備える。
【発明の効果】
【0007】
本開示の一態様によれば、関節角度および関節近傍の筋肉の活動を簡便に検出できる。
【図面の簡単な説明】
【0008】
本開示の一実施形態に係るセンサシステムの概略を示す図である。
第1装着部の外観の一例を示す図である。
第1装着部の外観の一例を示す図である。
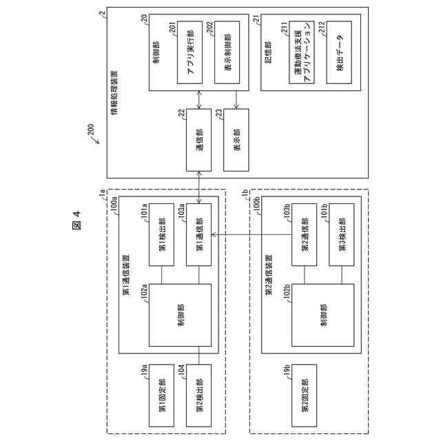
本開示の一実施形態に係るセンサシステムの構成の一例を示すブロック図である。
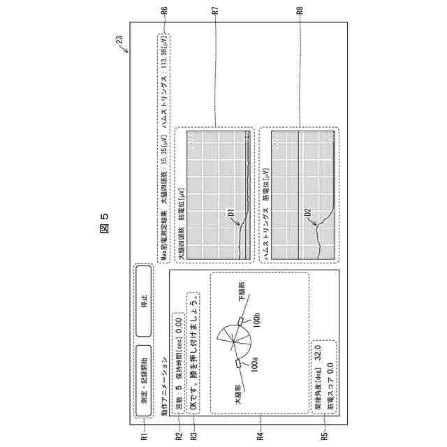
情報処理装置の表示部に表示される表示画面の一例を示す図である。
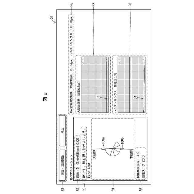
情報処理装置の表示部に表示される表示画面の別の一例を示す図である。
【発明を実施するための形態】
【0009】
〔実施形態〕
以下、本開示の一実施形態について、詳細に説明する。
【0010】
(センサシステム200の概要)
まず、図1は、本開示の一実施形態に係るセンサシステム200の概略について、図4を参照しつつ図1を用いて説明する。図1は、本開示の一実施形態に係るセンサシステム200の概略を示す図である。図4は、本開示の一実施形態に係るセンサシステム200の構成の一例を示すブロック図である。
(【0011】以降は省略されています)
この特許をJ-PlatPat(特許庁公式サイト)で参照する
関連特許
京セラ株式会社
刃物
1か月前
京セラ株式会社
二次電池
23日前
京セラ株式会社
弾性波装置
7日前
京セラ株式会社
センサシステム
今日
京セラ株式会社
太陽電池モジュール
16日前
京セラ株式会社
配線基板及び電子装置
今日
京セラ株式会社
配線基板及び電子装置
今日
京セラ株式会社
発光装置および照明装置
4日前
京セラ株式会社
骨モデルおよび表示システム
1か月前
京セラ株式会社
取付部材及びヘッド取付方法
1日前
京セラ株式会社
半導体装置及びその製造方法
23日前
京セラ株式会社
液体吐出ヘッドおよび記録装置
22日前
京セラ株式会社
電源制御装置及び電源制御方法
23日前
京セラ株式会社
電源制御装置及び電源制御方法
23日前
京セラ株式会社
電源制御装置及び電源制御方法
23日前
京セラ株式会社
フィルタデバイスおよび通信装置
今日
京セラ株式会社
液滴吐出ヘッドおよび液滴吐出装置
28日前
京セラ株式会社
電子部品搭載用基板及び電子モジュール
1か月前
京セラ株式会社
異常検知装置、プログラム及び異常検知方法
1か月前
京セラ株式会社
異常検知装置、プログラム及び異常検知方法
1か月前
京セラ株式会社
情報処理装置及び学習モデル用データ生成方法
23日前
京セラ株式会社
多層基板、フィルタモジュール、および通信装置
4日前
京セラ株式会社
情報処理方法、情報処理装置、及び情報処理システム
1か月前
京セラ株式会社
表示システム、表示制御装置及び表示制御プログラム
23日前
京セラ株式会社
表示システム、表示制御装置及び表示制御プログラム
23日前
京セラ株式会社
切削インサート、切削工具及び切削加工物の製造方法
22日前
国立研究開発法人産業技術総合研究所
光電子集積回路
1か月前
京セラ株式会社
膜付部材
1か月前
京セラ株式会社
疾患予測システム
22日前
京セラ株式会社
電気化学セル、電気化学セル装置、モジュールおよびモジュール収容装置
23日前
京セラ株式会社
認識モデル、情報処理システム、情報処理方法、及び認識モデル生成方法
15日前
京セラ株式会社
学習データ生成方法、学習済みモデル、情報処理装置、及び情報処理方法
1か月前
京セラ株式会社
提示システム、血中成分指標推定システム、提示方法、および制御プログラム
15日前
京セラ株式会社
液体吐出装置及び液体吐出方法
16日前
京セラ株式会社
電力管理装置及び電力管理方法
24日前
京セラ株式会社
情報処理装置及び情報処理方法
1か月前
続きを見る
他の特許を見る