TOP
|
特許
|
意匠
|
商標
特許ウォッチ
Twitter
他の特許を見る
公開番号
2025149515
公報種別
公開特許公報(A)
公開日
2025-10-08
出願番号
2024050221
出願日
2024-03-26
発明の名称
情報処理装置、情報処理システム、及び情報処理方法
出願人
京セラ株式会社
代理人
個人
,
個人
,
個人
,
個人
主分類
G08G
1/16 20060101AFI20251001BHJP(信号)
要約
【課題】死角範囲に起因する危険度の決定精度を向上できる情報処理装置、情報処理システム、及び情報処理方法を提供する。
【解決手段】情報処理装置10は、車両の周辺の地面及び対象物61~64を写した周辺画像を取得する取得部12と、車両の周辺の地面のうち対象物61~64によって隠されている死角範囲71~74に含まれる地面の面積に基づいて、死角範囲71~74に起因する、車両に対する危険度を決定する処理部14とを備える。
【選択図】図3
特許請求の範囲
【請求項1】
車両の周辺の地面及び対象物を写した周辺画像を取得する取得部と、
前記車両の周辺の地面のうち前記対象物によって隠されている死角範囲に含まれる地面の面積に基づいて、前記死角範囲に起因する、前記車両に対する危険度を決定する処理部と
を備える、情報処理装置。
続きを表示(約 640 文字)
【請求項2】
前記処理部は、前記車両と前記対象物との相対速度に更に基づいて、前記危険度を決定する、請求項1に記載の情報処理装置。
【請求項3】
前記処理部は、前記対象物の速度に更に基づいて、前記危険度を決定する、請求項1に記載の情報処理装置。
【請求項4】
前記処理部は、前記死角範囲に含まれる地面の面積に対する、前記対象物が地面を占めている面積の割合に更に基づいて、前記危険度を決定する、請求項1に記載の情報処理装置。
【請求項5】
前記処理部は、前記死角範囲に含まれる地面のうち前記車両が走行する路面に接続する路面の面積に更に基づいて、前記危険度を決定する、請求項1に記載の情報処理装置。
【請求項6】
前記取得部は、前記車両の周辺の地図情報を更に取得し、
前記処理部は、前記地図情報に更に基づいて、前記危険度を決定する、請求項1に記載の情報処理装置。
【請求項7】
請求項1から6までのいずれか一項に記載の情報処理装置と、前記周辺画像を撮影する撮影装置とを備える、情報処理システム。
【請求項8】
車両の周辺の地面及び対象物を写した周辺画像を取得することと、
前記車両の周辺の地面のうち前記対象物によって隠されている死角範囲に含まれる地面の面積に基づいて、前記死角範囲に起因する、前記車両に対する危険度を決定することと
を含む、情報処理方法。
発明の詳細な説明
【技術分野】
【0001】
本開示は、情報処理装置、情報処理システム、及び情報処理方法に関する。
続きを表示(約 1,100 文字)
【背景技術】
【0002】
従来、走行中の車両にとって危険が発生しそうな危険領域を車載カメラの画像から推定して危険度を予測する方法が知られている(特許文献1参照)。
【先行技術文献】
【特許文献】
【0003】
特開2017-162438号公報
【発明の概要】
【発明が解決しようとする課題】
【0004】
特許文献1に記載されている方法において、危険領域は車載カメラの画像中に存在する遮蔽物の領域の一部を含む。しかし、画像中の遮蔽物の存在を危険領域とみなしても、遮蔽物に隠されている死角範囲に起因する危険の可能性を表す度合い、すなわち危険度の決定精度を高めることが難しい。
【0005】
本開示の目的は、死角範囲に起因する危険度の決定精度を向上できる情報処理装置、情報処理システム、及び情報処理方法を提供することにある。
【課題を解決するための手段】
【0006】
本開示の一実施形態に係る情報処理装置は、車両の周辺の地面及び対象物を写した周辺画像を取得する取得部と、前記車両の周辺の地面のうち前記対象物によって隠されている死角範囲に含まれる地面の面積に基づいて、前記死角範囲に起因する、前記車両に対する危険度を決定する処理部とを備える。
【0007】
本開示の一実施形態に係る情報処理システムは、前記情報処理装置と、前記周辺画像を撮影する撮影装置とを備える。
【0008】
本開示の一実施形態に係る情報処理方法は、車両の周辺の地面及び対象物を写した周辺画像を取得することと、前記車両の周辺の地面のうち前記対象物によって隠されている死角範囲に含まれる地面の面積に基づいて、前記車両に対する危険度を決定することとを含む。
【発明の効果】
【0009】
本開示の一実施形態に係る情報処理装置、情報処理システム、及び情報処理方法によれば、死角範囲に起因する危険度の決定精度が向上する。
【図面の簡単な説明】
【0010】
一実施形態に係る情報処理システムの概略構成例を示すブロック図である。
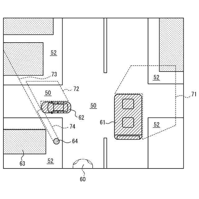
周辺画像の一例を示す図である。
周辺画像に写っている範囲の平面図である。
危険度を決定する手順例を含む情報処理方法のフローチャートである。
危険度を補正する手順例を含む情報処理方法のフローチャートである。
【発明を実施するための形態】
(【0011】以降は省略されています)
この特許をJ-PlatPat(特許庁公式サイト)で参照する
関連特許
京セラ株式会社
蓄電装置
4日前
京セラ株式会社
弾性波装置
17日前
京セラ株式会社
粒子分離装置
4日前
京セラ株式会社
センサシステム
10日前
京セラ株式会社
静圧気体軸受装置
3日前
京セラ株式会社
コネクタ及び取付方法
5日前
京セラ株式会社
走査装置及び制御装置
3日前
京セラ株式会社
走査装置及び制御装置
3日前
京セラ株式会社
配線基板及び電子装置
10日前
京セラ株式会社
配線基板及び電子装置
10日前
京セラ株式会社
太陽電池付きカーポート
3日前
京セラ株式会社
流路デバイスの準備方法
5日前
京セラ株式会社
発光装置および照明装置
14日前
京セラ株式会社
太陽電池付きカーポート
3日前
京セラ株式会社
取付部材及びヘッド取付方法
11日前
京セラ株式会社
受電装置及び光給電システム
5日前
京セラ株式会社
フィルタデバイスおよび通信装置
10日前
京セラ株式会社
揺動装置、電磁波照射装置、及び制御装置
3日前
京セラ株式会社
光通信装置、光通信システム及び光照射素子
6日前
京セラ株式会社
ホルダ、切削工具、及び切削加工物の製造方法
4日前
京セラ株式会社
多層基板、フィルタモジュール、および通信装置
14日前
京セラ株式会社
ノード、方法、プログラム及び分散台帳システム
5日前
京セラ株式会社
情報処理装置、情報処理システム、及び情報処理方法
5日前
京セラ株式会社
情報処理装置、情報処理システム、及び情報処理方法
5日前
京セラ株式会社
プログラム、給電方法、給電装置及び光給電システム
4日前
京セラ株式会社
受発光センサ及び該受発光センサを備えた画像形成装置
3日前
京セラ株式会社
受発光センサ及び該受発光センサを備えた画像形成装置
3日前
京セラ株式会社
受発光センサ及び該受発光センサを備えた画像形成装置
3日前
京セラ株式会社
受発光センサ及び該受発光センサを備えた画像形成装置
3日前
京セラ株式会社
受発光センサ及び該受発光センサを備えた画像形成装置
3日前
京セラ株式会社
ダンパ部材、液体吐出ヘッド、液体吐出装置及び記録装置
4日前
京セラ株式会社
通信装置、暗号通信方法、プログラム及び暗号通信システム
4日前
京セラ株式会社
積層型電子部品
6日前
京セラ株式会社
導電部材、電気化学セル装置、モジュールおよびモジュール収容装置
3日前
京セラ株式会社
電気化学セル、電気化学セル装置、モジュールおよびモジュール収容装置
3日前
京セラ株式会社
ノード、分散台帳取引方法、分散台帳取引プログラム及び分散台帳取引システム
5日前
続きを見る
他の特許を見る