TOP
|
特許
|
意匠
|
商標
特許ウォッチ
Twitter
他の特許を見る
10個以上の画像は省略されています。
公開番号
2025148718
公報種別
公開特許公報(A)
公開日
2025-10-08
出願番号
2024048977
出願日
2024-03-26
発明の名称
流路デバイスの準備方法
出願人
京セラ株式会社
代理人
個人
,
個人
,
個人
,
個人
主分類
G01N
35/08 20060101AFI20251001BHJP(測定;試験)
要約
【課題】流路デバイスの使用前の準備で流路部を液体で効率よく満たす。
【解決手段】本体部を備えた流路デバイスの準備方法は、第2A工程と第2B工程を含む第2工程と、第3工程とを有する。第2A工程では、第3排出孔から本体部の外部へ向けて流体が流れ得る第1開状態として、第1導入孔と第3流路を介して第1流路に液体を供給して、第1導入孔から第1流路を経て第3排出孔に至る第1領域を液体で満たす。第2B工程では、第3排出孔から本体部の外部へ向けた流体の流れが妨げられた第1閉状態に設定し、第1導入孔と第3流路を介して第1流路に液体を供給して、第1導入孔から第1流路を経て第1排出孔に至る第2領域を液体で満たす。第3工程では、第1導入孔と第3流路を介して第1流路に液体を供給しつつ、第2排出孔および複数の第2流路を介して第1流路から液体を吸引して、第1流路から各第2流路を経て第2排出孔に至る第3領域を液体で満たす。
【選択図】図13
特許請求の範囲
【請求項1】
流路デバイスの準備方法であって、
第1工程と、第2工程と、第3工程と、を有しており、
前記流路デバイスは、流路部と複数の孔とを有する本体部を備えており、
前記流路部は、前記本体部の外面において開口しておらず、
前記複数の孔のそれぞれは、前記流路部に通じており且つ前記外面においてそれぞれ開口しており、
前記流路部は、第1流路と、複数の第2流路と、第3流路と、第4流路と、第5流路と、を含み、
前記第1流路は、第1上流部と、該第1上流部とは逆側の第1下流部とを有し、
前記複数の第2流路のそれぞれは、前記第1流路のうちの前記第1上流部と前記第1下流部との間において前記第1流路に接続しており、
前記複数の第2流路のそれぞれは、前記第1流路よりも細く、かつ前記第1流路とは逆側の第2下流部を有し、
前記第3流路は、前記第1上流部に接続しており、
前記第4流路は、前記第1下流部に接続しており、
前記第5流路は、前記第1下流部に接続しており、
前記複数の孔は、第1導入孔と、第1排出孔と、第2排出孔と、第3排出孔と、を含み、
前記第1導入孔は、前記第3流路を介して前記第1上流部に接続しており、
前記第1排出孔は、前記第4流路を介して前記第1下流部に接続しており、
前記第2排出孔は、前記複数の第2流路のそれぞれにおける前記第2下流部に通じており、
前記第3排出孔は、前記第5流路を介して前記第1下流部に接続しており、
前記第1工程において、前記流路デバイスを配置し、
前記第1工程を実行した後に前記第2工程を実行するとともに、前記第2工程を実行した後に前記第3工程を実行し、
前記第2工程は、第2A工程と、第2B工程とを有し、
前記第2工程において、前記第2A工程を実行した後に前記第2B工程を実行するか、あるいは前記第2B工程を実行した後に前記第2A工程を実行し、
前記第2A工程において、前記第3排出孔から前記本体部の外部へ向けて流体が流れ得る第1開状態に設定して、液体供給機構によって前記第1導入孔および前記第3流路を介して前記第1流路に向けて液体を供給することで、前記第1導入孔から前記第3流路、前記第1流路および前記第5流路を経て前記第3排出孔に至る第1領域を前記液体で満たし、
前記第2B工程において、前記第3排出孔から前記本体部の外部へ向けた流体の流れが妨げられている第1閉状態に設定して、前記液体供給機構によって前記第1導入孔および前記第3流路を介して前記第1流路に向けて前記液体を供給することで、前記第1導入孔から前記第3流路、前記第1流路および前記第4流路を経て前記第1排出孔に至る第2領域を前記液体で満たし、
前記第3工程において、前記液体供給機構によって前記第1導入孔および前記第3流路を介して前記第1流路に向けて前記液体を供給するとともに、吸引機構によって前記第2排出孔および前記複数の第2流路を介して前記第1流路から前記液体を吸引することで、前記第1流路から前記複数の第2流路のそれぞれを経て前記第2排出孔に至る第3領域を前記液体で満たす、流路デバイスの準備方法。
続きを表示(約 3,100 文字)
【請求項2】
請求項1に記載の流路デバイスの準備方法であって、
前記第2A工程において、前記第1排出孔から前記本体部の外部へ向けた流体の流れが妨げられている第2閉状態に設定し、
前記第2B工程において、前記第1排出孔から前記本体部の外部へ向けて流体が流れ得る第2開状態に設定する、流路デバイスの準備方法。
【請求項3】
流路デバイスの準備方法であって、
第1工程と、第2工程と、第3工程と、を有しており、
前記流路デバイスは、流路部と複数の孔とを有する本体部を備えており、
前記流路部は、前記本体部の外面において開口しておらず、
前記複数の孔のそれぞれは、前記流路部に通じており且つ前記外面においてそれぞれ開口しており、
前記流路部は、第1流路と、複数の第2流路と、第3流路と、第4流路と、第5流路と、を含み、
前記第1流路は、第1上流部と、該第1上流部とは逆側の第1下流部とを有し、
前記複数の第2流路のそれぞれは、前記第1流路のうちの前記第1上流部と前記第1下流部との間において前記第1流路に接続しており、
前記複数の第2流路のそれぞれは、前記第1流路よりも細く、かつ前記第1流路とは逆側の第2下流部を有し、
前記第3流路は、前記第1上流部に接続しており、
前記第4流路は、前記第1下流部に接続しており、
前記第5流路は、前記第1下流部に接続しており、
前記複数の孔は、第1導入孔と、第1排出孔と、第2排出孔と、第3排出孔と、を含み、
前記第1導入孔は、前記第3流路を介して前記第1上流部に接続しており、
前記第1排出孔は、前記第4流路を介して前記第1下流部に接続しており、
前記第2排出孔は、前記複数の第2流路のそれぞれにおける前記第2下流部に通じており、
前記第3排出孔は、前記第5流路を介して前記第1下流部に接続しており、
前記第1工程において、前記流路デバイスを配置し、
前記第1工程を実行した後に前記第2工程を実行するとともに、前記第2工程を実行した後に前記第3工程を実行し、
前記第2工程は、第2A工程と、第2B工程とを有し、
前記第2工程において、前記第2A工程を実行した後に前記第2B工程を実行するか、あるいは前記第2B工程を実行した後に前記第2A工程を実行し、
前記第2A工程において、前記第1排出孔から前記本体部の外部へ向けた流体の流れが妨げられている第2閉状態に設定して、液体供給機構によって前記第1導入孔および前記第3流路を介して前記第1流路に向けて液体を供給することで、前記第1導入孔から前記第3流路、前記第1流路および前記第5流路を経て前記第3排出孔に至る第1領域を前記液体で満たし、
前記第2B工程において、前記第1排出孔から前記本体部の外部へ向けて流体が流れ得る第2開状態に設定して、前記液体供給機構によって前記第1導入孔および前記第3流路を介して前記第1流路に向けて前記液体を供給することで、前記第1導入孔から前記第3流路、前記第1流路および前記第4流路を経て前記第1排出孔に至る第2領域を前記液体で満たし、
前記第3工程において、前記液体供給機構によって前記第1導入孔および前記第3流路を介して前記第1流路に向けて前記液体を供給するとともに、吸引機構によって前記第2排出孔および前記複数の第2流路を介して前記第1流路から前記液体を吸引することで、前記第1流路から前記複数の第2流路のそれぞれを経て前記第2排出孔に至る第3領域を前記液体で満たす、流路デバイスの準備方法。
【請求項4】
請求項1または請求項2に記載の流路デバイスの準備方法であって、
前記第1工程において、前記第3排出孔に第1弁を含む第1開閉機構をつなげ、
前記第2A工程において、前記第1弁によって前記第1開状態に設定し、
前記第2B工程において、前記第1弁によって前記第1閉状態に設定する、流路デバイスの準備方法。
【請求項5】
請求項2または請求項3に記載の流路デバイスの準備方法であって、
前記外面は、第1方向の側に位置している第1面と、前記第1方向の逆の第2方向の側に位置している第2面と、を含み、
前記第1排出孔は、前記第1面において開口している開口を有し、
前記本体部は、前記第1排出孔の前記第2方向の側に位置しており且つ前記第2方向に凹んでいる凹状部を含み、
前記第1工程において、前記第1面が上向きとなる形態で前記流路デバイスを配置し、
前記第2A工程において、前記開口を第1所定部材によって塞ぐことで、前記第2閉状態に設定し、
前記第2B工程において、前記開口を前記第1所定部材で塞がないことで、前記第2開状態に設定する、流路デバイスの準備方法。
【請求項6】
請求項1から請求項3の何れか1つの請求項に記載の流路デバイスの準備方法であって、
前記第2A工程において、前記第2排出孔から前記本体部の外部へ向けた流体の流れが妨げられている第3閉状態に設定する、流路デバイスの準備方法。
【請求項7】
請求項1から請求項3の何れか1つの請求項に記載の流路デバイスの準備方法であって、
前記第2B工程において、前記第2排出孔から前記本体部の外部へ向けた流体の流れが妨げられている第3閉状態に設定する、流路デバイスの準備方法。
【請求項8】
請求項6に記載の流路デバイスの準備方法であって、
前記第1工程において、前記第2排出孔に流路切換部を介して前記吸引機構を接続し、
前記第2A工程および前記第2B工程のうちの1つ以上の工程において、前記第3閉状態に設定する場合に、前記流路切換部によって前記第3閉状態に設定し、
前記第3工程において、前記流路切換部によって、前記第2排出孔と前記吸引機構とが通じている吸引可能状態に設定する、流路デバイスの準備方法。
【請求項9】
請求項8に記載の流路デバイスの準備方法であって、
前記流路切換部は、第1流路切換機構と第2流路切換機構とを含み、
前記第1工程において、前記第2排出孔に前記第1流路切換機構が通じているとともに、該第1流路切換機構に前記第2流路切換機構が通じており、かつ該第2流路切換機構に前記吸引機構が通じている状態に設定し、
前記第2A工程および前記第2B工程のうちの1つ以上の工程において、前記第3閉状態に設定する場合に、前記第1流路切換機構および前記第2流路切換機構のそれぞれにおける流路の状態によって前記第3閉状態に設定し、
前記第3工程において、前記第1流路切換機構および前記第2流路切換機構のそれぞれにおける流路の状態によって、前記吸引可能状態に設定する、流路デバイスの準備方法。
【請求項10】
請求項1から請求項3の何れか1つの請求項に記載の流路デバイスの準備方法であって、
前記第2工程において、前記第2A工程を実行した後に前記第2B工程を実行する、流路デバイスの準備方法。
(【請求項11】以降は省略されています)
発明の詳細な説明
【技術分野】
【0001】
本開示は、流路デバイスの準備方法に関する。
続きを表示(約 5,100 文字)
【背景技術】
【0002】
複数種の複数の粒子を含む液体から特定の種の複数の粒子を他の種の複数の粒子と分離するために、分岐している複数の微細な流路を有する部分(流路部ともいう)を含んだ流路デバイスがある(例えば、特許文献1の記載を参照)。
【0003】
流路部は、例えば、主流路と、この主流路よりもそれぞれが細く且つこの主流路にそれぞれ接続した複数の分岐流路と、を有する。ここで、例えば、特定の種の粒子の径が他の種の粒子の径よりも大きく、複数の分岐流路のそれぞれの幅が、他の種の粒子の径よりも大きな場合には、他の種の複数の粒子を主流路から複数の分岐流路へ流入させることで主流路を流れる特定の種の複数の粒子と分離することが可能である。
【先行技術文献】
【特許文献】
【0004】
国際公開第2023/153331号
【発明の概要】
【発明が解決しようとする課題】
【0005】
流路デバイスについては、流路デバイスを使用する前の準備において、流路部を液体で効率よく満たす点で改善の余地がある。
【課題を解決するための手段】
【0006】
流路デバイスの準備方法が開示される。
【0007】
流路デバイスの準備方法の一態様は、第1工程と、第2工程と、第3工程と、を有する。前記流路デバイスは、流路部と複数の孔とを有する本体部を備えている。前記流路部は、前記本体部の外面において開口していない。前記複数の孔のそれぞれは、前記流路部に通じており且つ前記外面においてそれぞれ開口している。前記流路部は、第1流路と、複数の第2流路と、第3流路と、第4流路と、第5流路と、を含む。前記第1流路は、第1上流部と、該第1上流部とは逆側の第1下流部とを有する。前記複数の第2流路のそれぞれは、前記第1流路のうちの前記第1上流部と前記第1下流部との間において前記第1流路に接続している。前記複数の第2流路のそれぞれは、前記第1流路よりも細く、かつ前記第1流路とは逆側の第2下流部を有する。前記第3流路は、前記第1上流部に接続している。前記第4流路は、前記第1下流部に接続している。前記第5流路は、前記第1下流部に接続している。前記複数の孔は、第1導入孔と、第1排出孔と、第2排出孔と、第3排出孔と、を含む。前記第1導入孔は、前記第3流路を介して前記第1上流部に接続している。前記第1排出孔は、前記第4流路を介して前記第1下流部に接続している。前記第2排出孔は、前記複数の第2流路のそれぞれにおける前記第2下流部に通じている。前記第3排出孔は、前記第5流路を介して前記第1下流部に接続している。前記第1工程において、前記流路デバイスを配置する。前記第1工程を実行した後に前記第2工程を実行するとともに、前記第2工程を実行した後に前記第3工程を実行する。前記第2工程は、第2A工程と、第2B工程とを有する。前記第2工程において、前記第2A工程を実行した後に前記第2B工程を実行するか、あるいは前記第2B工程を実行した後に前記第2A工程を実行する。前記第2A工程において、前記第3排出孔から前記本体部の外部へ向けて流体が流れ得る第1開状態に設定して、液体供給機構によって前記第1導入孔および前記第3流路を介して前記第1流路に向けて液体を供給することで、前記第1導入孔から前記第3流路、前記第1流路および前記第5流路を経て前記第3排出孔に至る第1領域を前記液体で満たす。前記第2B工程において、前記第3排出孔から前記本体部の外部へ向けた流体の流れが妨げられている第1閉状態に設定して、前記液体供給機構によって前記第1導入孔および前記第3流路を介して前記第1流路に向けて前記液体を供給することで、前記第1導入孔から前記第3流路、前記第1流路および前記第4流路を経て前記第1排出孔に至る第2領域を前記液体で満たす。前記第3工程において、前記液体供給機構によって前記第1導入孔および前記第3流路を介して前記第1流路に向けて前記液体を供給するとともに、吸引機構によって前記第2排出孔および前記複数の第2流路を介して前記第1流路から前記液体を吸引することで、前記第1流路から前記複数の第2流路のそれぞれを経て前記第2排出孔に至る第3領域を前記液体で満たす。
【0008】
流路デバイスの準備方法の一態様は、第1工程と、第2工程と、第3工程と、を有する。前記流路デバイスは、流路部と複数の孔とを有する本体部を備えている。前記流路部は、前記本体部の外面において開口していない。前記複数の孔のそれぞれは、前記流路部に通じており且つ前記外面においてそれぞれ開口している。前記流路部は、第1流路と、複数の第2流路と、第3流路と、第4流路と、第5流路と、を含む。前記第1流路は、第1上流部と、該第1上流部とは逆側の第1下流部とを有する。前記複数の第2流路のそれぞれは、前記第1流路のうちの前記第1上流部と前記第1下流部との間において前記第1流路に接続している。前記複数の第2流路のそれぞれは、前記第1流路よりも細く、かつ前記第1流路とは逆側の第2下流部を有する。前記第3流路は、前記第1上流部に接続している。前記第4流路は、前記第1下流部に接続している。前記第5流路は、前記第1下流部に接続している。前記複数の孔は、第1導入孔と、第1排出孔と、第2排出孔と、第3排出孔と、を含む。前記第1導入孔は、前記第3流路を介して前記第1上流部に接続している。前記第1排出孔は、前記第4流路を介して前記第1下流部に接続している。前記第2排出孔は、前記複数の第2流路のそれぞれにおける前記第2下流部に通じている。前記第3排出孔は、前記第5流路を介して前記第1下流部に接続している。前記第1工程において、前記流路デバイスを配置する。前記第1工程を実行した後に前記第2工程を実行するとともに、前記第2工程を実行した後に前記第3工程を実行する。前記第2工程は、第2A工程と、第2B工程とを有する。前記第2工程において、前記第2A工程を実行した後に前記第2B工程を実行するか、あるいは前記第2B工程を実行した後に前記第2A工程を実行する。前記第2A工程において、前記第1排出孔から前記本体部の外部へ向けた流体の流れが妨げられている第2閉状態に設定して、液体供給機構によって前記第1導入孔および前記第3流路を介して前記第1流路に向けて液体を供給することで、前記第1導入孔から前記第3流路、前記第1流路および前記第5流路を経て前記第3排出孔に至る第1領域を前記液体で満たす。前記第2B工程において、前記第1排出孔から前記本体部の外部へ向けて流体が流れ得る第2開状態に設定して、前記液体供給機構によって前記第1導入孔および前記第3流路を介して前記第1流路に向けて前記液体を供給することで、前記第1導入孔から前記第3流路、前記第1流路および前記第4流路を経て前記第1排出孔に至る第2領域を前記液体で満たす。前記第3工程において、前記液体供給機構によって前記第1導入孔および前記第3流路を介して前記第1流路に向けて前記液体を供給するとともに、吸引機構によって前記第2排出孔および前記複数の第2流路を介して前記第1流路から前記液体を吸引することで、前記第1流路から前記複数の第2流路のそれぞれを経て前記第2排出孔に至る第3領域を前記液体で満たす。
【発明の効果】
【0009】
流路デバイスを使用する前の準備において、流路部を液体で効率よく満たすことができる。
【図面の簡単な説明】
【0010】
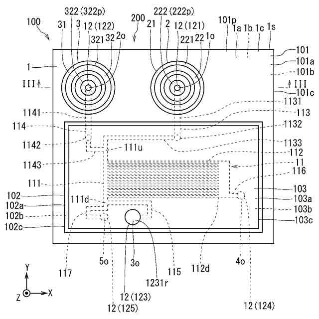
図1は、第1実施形態に係る流路デバイスの構成の一例を模式的に示す平面図である。
図2は、第1実施形態に係る流路デバイスの構成の一例を模式的に示す正面図である。
図3は、図1の位置III-IIIにおいて流路デバイスを+Y方向に向かって見た仮想的な断面の一例を模式的に示す断面図である。
図4は、第1部分の構成の一例を模式的に示す平面図である。
図5は、第1部分の構成の一例を模式的に示す正面図である。
図6は、図4の位置VI-VIにおいて第1部分を+X方向に向かって見た仮想的な断面の一例を模式的に示す断面図である。
図7は、図4の位置VII-VIIにおいて第1部分を+X方向に向かって見た仮想的な断面の一例を模式的に示す断面図である。
図8は、第2部分の構成の一例を模式的に示す平面図である。
図9は、第3部分の構成の一例を模式的に示す平面図である。
図10は、流路デバイスにおける流路部および複数の孔の構成の一例を模式的に示す平面図である。
図11は、図10の矩形の一点鎖線で囲まれた領域XIを示す平面図である。
図12は、流路デバイスを用いて第2液体から複数の第1粒子を複数の第2粒子と分離する処理の流れの一例を示す流れ図である。
図13は、準備工程における処理の流れの一例を示す流れ図である。
図14は、第2工程における処理の流れの一例を示す流れ図である。
図15は、準備工程の第1工程の一例を説明するための模式図である。
図16は、準備工程の第1工程の一例を説明するための模式図である。
図17は、準備工程の第1工程の一例を説明するための模式図である。
図18は、準備工程の第1工程の一例を説明するための模式図である。
図19は、準備工程の第1工程の一例を説明するための模式図である。
図20は、準備工程の第1工程の一例を説明するための模式図である。
図21は、準備工程の第2工程のうちの第2A工程における流路デバイスの状態の一例を模式的に示す図である。
図22は、準備工程の第2工程のうちの第2B工程における流路デバイスの状態の一例を模式的に示す図である。
図23は、準備工程の第3工程における流路デバイスの状態の一例を模式的に示す図である。
図24は、第2実施形態に係る第1工程の一例を説明するための模式図である。
図25は、第2実施形態に係る第2A工程における流路デバイスの状態の一例を模式的に示す図である。
図26は、第2実施形態に係る第2B工程における流路デバイスの状態の一例を模式的に示す図である。
図27は、第2実施形態に係る第3工程における流路デバイスの状態の一例を模式的に示す図である。
図28は、第3実施形態に係る準備工程の第1工程の一例を説明するための模式図である。
図29は、第3実施形態に係る第2A工程における流路デバイスの状態の一例を模式的に示す図である。
図30は、第3実施形態に係る第2B工程における流路デバイスの状態の一例を模式的に示す図である。
図31は、第3実施形態に係る第3工程における流路デバイスの状態の一例を模式的に示す図である。
図32は、第4実施形態に係る第2工程における処理の流れの一例を示す流れ図である。
図33は、第4実施形態に係る第2B工程における流路デバイスの状態の一例を模式的に示す図である。
図34は、第4実施形態に係る第2A工程における流路デバイスの状態の一例を模式的に示す図である。
図35は、流路デバイスの構成の他の一例を模式的に示す正面図である。
図36は、第1部分の構成の他の一例を模式的に示す平面図である。
図37は、第1部分の構成の他の一例を模式的に示す正面図である。
図38は、第3部分の構成の他の一例を模式的に示す平面図である。
図39は、準備工程の第1工程の他の第1例を説明するための模式図である。
図40は、準備工程の第1工程の他の第2例を説明するための模式図である。
図41は、準備工程の第1工程の他の第3例を説明するための模式図である。
図42は、準備工程の第1工程の他の第4例を説明するための模式図である。
図43は、流路デバイスにおける流路部および複数の孔の構成の別の一例を模式的に示す平面図である。
【発明を実施するための形態】
(【0011】以降は省略されています)
この特許をJ-PlatPat(特許庁公式サイト)で参照する
関連特許
京セラ株式会社
蓄電装置
7日前
京セラ株式会社
弾性波装置
20日前
京セラ株式会社
粒子分離装置
7日前
京セラ株式会社
センサシステム
13日前
京セラ株式会社
静圧気体軸受装置
6日前
京セラ株式会社
コネクタ及び取付方法
8日前
京セラ株式会社
走査装置及び制御装置
6日前
京セラ株式会社
配線基板及び電子装置
13日前
京セラ株式会社
配線基板及び電子装置
13日前
京セラ株式会社
走査装置及び制御装置
6日前
京セラ株式会社
発光装置および照明装置
17日前
京セラ株式会社
流路デバイスの準備方法
8日前
京セラ株式会社
太陽電池付きカーポート
6日前
京セラ株式会社
太陽電池付きカーポート
6日前
京セラ株式会社
受電装置及び光給電システム
8日前
京セラ株式会社
取付部材及びヘッド取付方法
14日前
京セラ株式会社
フィルタデバイスおよび通信装置
13日前
京セラ株式会社
光センサおよび光センサの製造方法
2日前
京セラ株式会社
揺動装置、電磁波照射装置、及び制御装置
6日前
京セラ株式会社
光通信装置、光通信システム及び光照射素子
9日前
京セラ株式会社
ホルダ、切削工具、及び切削加工物の製造方法
7日前
京セラ株式会社
ノード、方法、プログラム及び分散台帳システム
8日前
京セラ株式会社
多層基板、フィルタモジュール、および通信装置
17日前
京セラ株式会社
プログラム、給電方法、給電装置及び光給電システム
7日前
京セラ株式会社
情報処理装置、情報処理システム、及び情報処理方法
8日前
京セラ株式会社
情報処理装置、情報処理システム、及び情報処理方法
8日前
京セラ株式会社
受発光センサ及び該受発光センサを備えた画像形成装置
6日前
京セラ株式会社
受発光センサ及び該受発光センサを備えた画像形成装置
6日前
京セラ株式会社
受発光センサ及び該受発光センサを備えた画像形成装置
6日前
京セラ株式会社
受発光センサ及び該受発光センサを備えた画像形成装置
6日前
京セラ株式会社
受発光センサ及び該受発光センサを備えた画像形成装置
6日前
京セラ株式会社
ダンパ部材、液体吐出ヘッド、液体吐出装置及び記録装置
7日前
京セラ株式会社
通信装置、暗号通信方法、プログラム及び暗号通信システム
7日前
京セラ株式会社
積層型電子部品
9日前
京セラ株式会社
導電部材、電気化学セル装置、モジュールおよびモジュール収容装置
6日前
京セラ株式会社
ノード、分散台帳管理方法、分散台帳プログラム及び分散台帳システム
2日前
続きを見る
他の特許を見る