TOP
|
特許
|
意匠
|
商標
特許ウォッチ
Twitter
他の特許を見る
公開番号
2025146304
公報種別
公開特許公報(A)
公開日
2025-10-03
出願番号
2024046996
出願日
2024-03-22
発明の名称
フィルタデバイスおよび通信装置
出願人
京セラ株式会社
代理人
弁理士法人 HARAKENZO WORLD PATENT & TRADEMARK
主分類
H03H
7/01 20060101AFI20250926BHJP(基本電子回路)
要約
【課題】出力特性が向上したフィルタデバイスを実現する。
【解決手段】共通端子(10)に一方端(51a)が接続された第1インダクタ(51)の一方端における信号の伝搬方向である第1方向(71)と、共通端子と第2フィルタとの間の第2接続経路に一方端(52a)が接続された第2インダクタ(52)の一方端における信号の伝搬方向である第2方向(72)とは、互いに離れる方向である。
【選択図】図2
特許請求の範囲
【請求項1】
共通端子と、
第1端子と、
第2端子と、
前記共通端子と前記第1端子との間に接続された第1フィルタと、
前記共通端子と前記第2端子との間に接続された第2フィルタと、
前記共通端子と前記第1フィルタとの間の第1接続経路において、前記共通端子に一方端が接続され、前記第1フィルタに他方端が接続された第1インダクタと、
前記共通端子と前記第2フィルタとの間の第2接続経路に一方端が接続され、グランドに他方端が接続された第2インダクタと、
を有し、
前記第1インダクタの前記一方端における前記共通端子からの信号の伝搬方向である第1方向と、前記第2インダクタの前記一方端における前記共通端子からの信号の伝搬方向である第2方向とは、互いに離れる方向である、
フィルタデバイス。
続きを表示(約 990 文字)
【請求項2】
前記第1インダクタは、
インダクタンスを生じさせる第1インダクタンス部と、
前記第1インダクタンス部と前記共通端子とを接続する第1接続部と、
を備え、
前記第1方向は、前記第1接続部における信号の伝搬方向である、請求項1に記載のフィルタデバイス。
【請求項3】
前記第2インダクタは、
インダクタンスを生じさせる第2インダクタンス部と、
前記第2インダクタンス部と前記第2接続経路とを接続する第2接続部と、
を備え、
前記第2方向は、前記第2接続部における信号の伝搬方向である、請求項1に記載のフィルタデバイス。
【請求項4】
前記第1方向と前記第2方向とは、互いに90°以上離れる方向である、請求項1に記載のフィルタデバイス。
【請求項5】
前記第1方向と前記第2方向とは、互いに180°離れる方向である、請求項4に記載のフィルタデバイス。
【請求項6】
前記第1インダクタと前記第2インダクタの間に、他のキャパシタまたはインダクタを有しない、請求項1に記載のフィルタデバイス。
【請求項7】
前記第1インダクタおよび前記第2インダクタが形成される複数のインダクタ基板をさらに備え、
前記共通端子からの信号の伝搬方向において、前記複数のインダクタ基板のうち、前記第1インダクタの前記共通端子側の初層となるインダクタ基板と、前記第2インダクタの前記共通端子側の初層となるインダクタ基板とは、互いに異なる、請求項1に記載のフィルタデバイス。
【請求項8】
前記第1フィルタの通過帯域の中心周波数は、前記第2フィルタの通過帯域の中心周波数の半分以下である、請求項1に記載のフィルタデバイス。
【請求項9】
前記第1フィルタの通過帯域の中心周波数は3GHz未満であり、前記第2フィルタの通過帯域の中心周波数は3GHz以上である、請求項1に記載のフィルタデバイス。
【請求項10】
前記第2接続経路に複数の回路素子が配され、
前記第2インダクタおよび前記複数の回路素子は、整合回路を構成する、請求項1に記載のフィルタデバイス。
(【請求項11】以降は省略されています)
発明の詳細な説明
【技術分野】
【0001】
本開示は、フィルタデバイス、および当該フィルタデバイスを備える通信装置に関する。
続きを表示(約 1,300 文字)
【背景技術】
【0002】
特許文献1には、主伝搬経路とは別に副伝搬経路が形成されている高周波モジュールが開示されている。
【先行技術文献】
【特許文献】
【0003】
WO2015/104882
【発明の概要】
【発明が解決しようとする課題】
【0004】
本開示の一態様は、出力特性が向上したフィルタデバイスなどを実現する。
【課題を解決するための手段】
【0005】
上記の課題を解決するために、本開示の一態様に係るフィルタデバイスは、共通端子と、第1端子と、第2端子と、前記共通端子と前記第1端子との間に接続された第1フィルタと、前記共通端子と前記第2端子との間に接続された第2フィルタと、前記共通端子と前記第1フィルタとの間の第1接続経路において、前記共通端子に一方端が接続され、前記第1フィルタに他方端が接続された第1インダクタと、前記共通端子と前記第2フィルタとの間の第2接続経路に一方端が接続され、グランドに他方端が接続された第2インダクタと、を有し、前記第1インダクタの始点における前記共通端子からの信号の伝搬方向である第1方向と、前記第2インダクタの始点における前記共通端子からの信号の伝搬方向である第2方向とは、互いに離れる方向である。
【発明の効果】
【0006】
本開示の一態様によれば、出力特性が向上したフィルタデバイスなどを実現できる。
【図面の簡単な説明】
【0007】
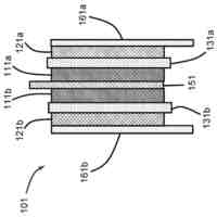
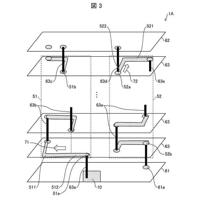
本開示の実施形態1に係るフィルタデバイスの一例を示す回路図である。
本開示の実施形態1に係るフィルタデバイスの構造の一例を示す分解斜視図である。
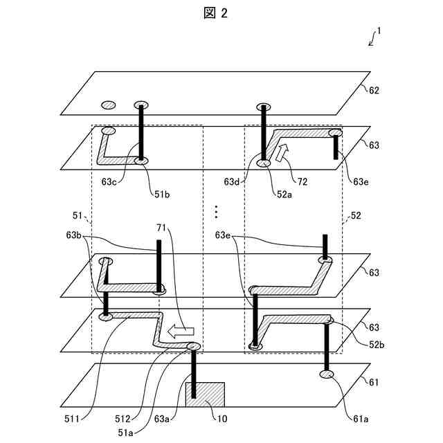
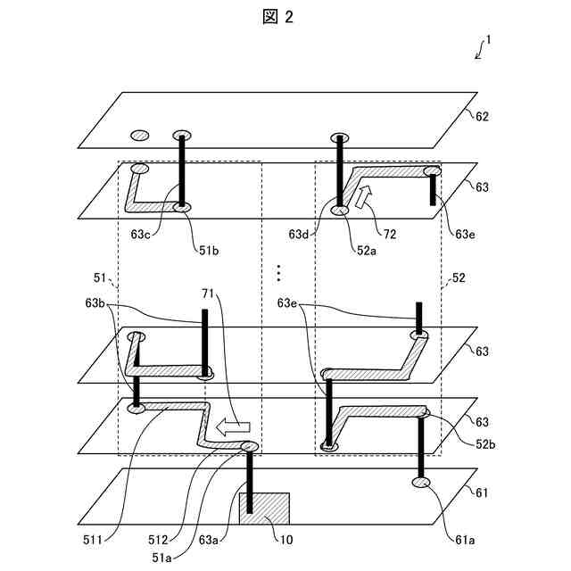
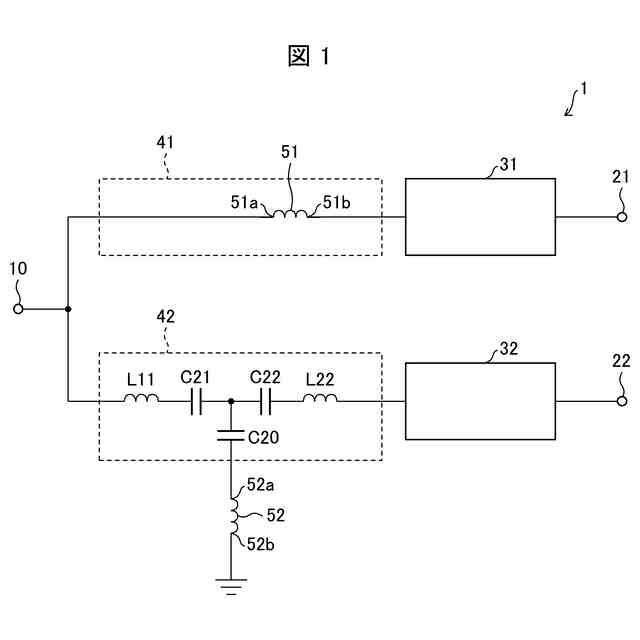
本開示の実施形態2に係るフィルタデバイスの構造の一例を示す分解斜視図である。
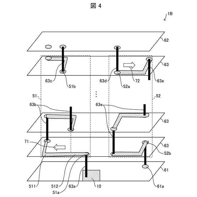
本開示の実施形態3に係るフィルタデバイスの構造の一例を示す分解斜視図である。
本開示の実施形態3に係るフィルタデバイス、および実施形態1に係るフィルタデバイスのそれぞれにおける、電流密度の分布の一例を示す図である。
本開示の実施形態3に係るフィルタデバイス、および実施形態1に係るフィルタデバイスのそれぞれの、第2端子における出力信号の一例を示すグラフである。
【発明を実施するための形態】
【0008】
〔実施形態1〕
以下、本開示の一実施形態について、詳細に説明する。
【0009】
図1は、本開示の実施形態1に係るフィルタデバイス1の一例を示す回路図である。図1に示すように、フィルタデバイス1は、共通端子10、第1端子21、第2端子22、第1フィルタ31、第2フィルタ32、第1接続経路41、第2接続経路42、第1インダクタ51および第2インダクタ52を備える。
【0010】
共通端子10は、フィルタデバイス1に信号が入力される入力端子である。第1端子21は、共通端子10に入力された信号の低周波成分が出力される出力端子である。第2端子22は、共通端子10に入力された信号の高周波成分が出力される出力端子である。
(【0011】以降は省略されています)
この特許をJ-PlatPat(特許庁公式サイト)で参照する
関連特許
京セラ株式会社
弾性波装置
7日前
京セラ株式会社
センサシステム
今日
京セラ株式会社
太陽電池モジュール
16日前
京セラ株式会社
配線基板及び電子装置
今日
京セラ株式会社
配線基板及び電子装置
今日
京セラ株式会社
発光装置および照明装置
4日前
京セラ株式会社
取付部材及びヘッド取付方法
1日前
京セラ株式会社
液体吐出ヘッドおよび記録装置
22日前
京セラ株式会社
フィルタデバイスおよび通信装置
今日
京セラ株式会社
多層基板、フィルタモジュール、および通信装置
4日前
京セラ株式会社
切削インサート、切削工具及び切削加工物の製造方法
22日前
京セラ株式会社
疾患予測システム
22日前
京セラ株式会社
認識モデル、情報処理システム、情報処理方法、及び認識モデル生成方法
15日前
京セラ株式会社
提示システム、血中成分指標推定システム、提示方法、および制御プログラム
15日前
京セラ株式会社
液体吐出装置及び液体吐出方法
16日前
京セラ株式会社
半導体基板、半導体デバイスの製造方法
8日前
京セラ株式会社
電子機器、電子機器の制御方法、及びプログラム
15日前
京セラ株式会社
電子機器、電子機器の制御方法、及びプログラム
16日前
京セラ株式会社
睡眠推定システム、睡眠推定方法、及びプログラム
2日前
京セラ株式会社
電力供給システム、電力供給方法、集合住宅及び複合需要家施設
今日
京セラ株式会社
中継ユーザ機器(UE)無線リソース制御(RRC)接続状態インジケータ
2日前
24エム・テクノロジーズ・インコーポレイテッド
シングルパウチバッテリセル及びその製造方法
8日前
エイブリック株式会社
増幅器
1日前
エイブリック株式会社
電圧検出器
1か月前
株式会社大真空
圧電振動デバイス
2か月前
日本電波工業株式会社
圧電デバイス
1か月前
ローム株式会社
オペアンプ
1か月前
ローム株式会社
オペアンプ
1か月前
株式会社トーキン
ノイズフィルタ
1か月前
ローム株式会社
オペアンプ
1か月前
株式会社村田製作所
増幅回路
1か月前
個人
誤り訂正装置及び誤り訂正方法
1か月前
株式会社半導体エネルギー研究所
駆動回路
4日前
三菱電機株式会社
半導体装置
1か月前
株式会社大真空
恒温槽型圧電発振器
1か月前
ローム株式会社
半導体集積回路
2か月前
続きを見る
他の特許を見る