TOP
|
特許
|
意匠
|
商標
特許ウォッチ
Twitter
他の特許を見る
10個以上の画像は省略されています。
公開番号
2025150292
公報種別
公開特許公報(A)
公開日
2025-10-09
出願番号
2024051102
出願日
2024-03-27
発明の名称
建物用パネル
出願人
大和ハウス工業株式会社
代理人
個人
主分類
E04C
2/296 20060101AFI20251002BHJP(建築物)
要約
【課題】パネル剛性やパネル強度を高めることができる建物用パネルを提供する。
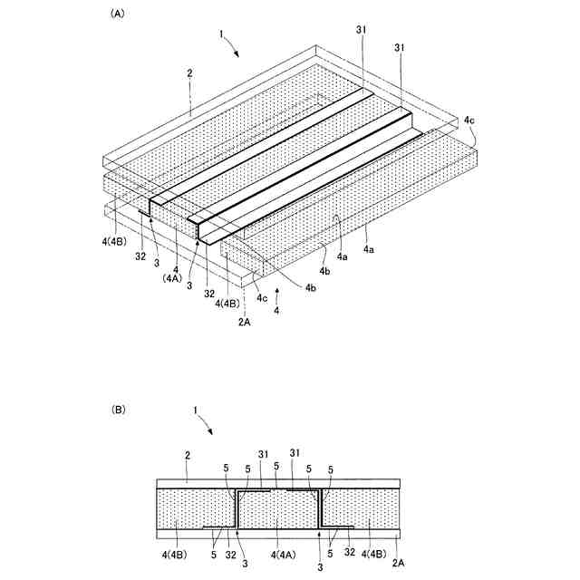
【解決手段】建物用パネル1は、板材2の片面側に板状断熱材4が当該板状断熱材4の側面4b、4bを対向させて2個以上配置されたものであり、2個の隣り合う板状断熱材4,4の対向する側面4b、4b間に、これら側面4b、4bに挟まれる、木材のヤング率よりも大きなヤング率を有する材料からなる薄板3を有しており、隣り合う一方の板状断熱材4Aの側面4bと薄板3の対向面とが接着剤5によって接着されるとともに、他方の板状断熱材4Bの側面4bと薄板3の対向面とが接着剤5によって接着されており、板材2と板状断熱材4との互いに接し合う面部分4aも、接着剤5によって互いに接着される。
【選択図】図1
特許請求の範囲
【請求項1】
板材の片面側に板状断熱材が当該板状断熱材の側面を対向させて2個以上配置された建物用パネルであって、
少なくとも2個の隣り合う上記板状断熱材の対向する上記側面間に、これら側面に挟まれる、木材のヤング率よりも大きなヤング率を有する材料からなる薄板を有しており、上記隣り合う板状断熱材のうち一方の上記板状断熱材の上記側面と当該側面に対向する上記薄板の対向面とが接着剤によって接着されるとともに、他方の上記板状断熱材の上記側面と当該側面に対向する上記薄板の対向面とが接着剤によって接着されており、
上記板材と上記板状断熱材との互いに接し合う面部分も、接着剤によって互いに接着されることを特徴とする建物用パネル。
続きを表示(約 1,300 文字)
【請求項2】
請求項1に記載の建物用パネルにおいて、上記薄板は、上記板材と上記隣り合う板状断熱材のうち一方の上記板状断熱材との間に折れ曲がって延びる第1折曲部を有しており、上記第1折曲部は、上記板材および上記一方の板状断熱材に、接着剤によって接着されることを特徴とする建物用パネル。
【請求項3】
請求項1または請求項2に記載の建物用パネルにおいて、上記板材に対向配置されて当該板材とで上記板状断熱材を挟む対向板材を有しており、上記対向板材と上記板状断熱材の互いに接し合う面部分も、接着剤によって互いに接着されることを特徴とする建物用パネル。
【請求項4】
請求項2に記載の建物用パネルにおいて、上記薄板は、上記他方の板状断熱材の上記板材が位置しない側に折れ曲がって延びる第2折曲部を有しており、上記第2折曲部は、上記他方の板状断熱材に、接着剤によって接着されることを特徴とする建物用パネル。
【請求項5】
請求項2に記載の建物用パネルにおいて、上記薄板は、上記一方の板状断熱材の上記板材が位置しない側に折れ曲がって延びる第2折曲部を有しており、上記第2折曲部は、上記一方の板状断熱材に、接着剤によって接着されることを特徴とする建物用パネル。
【請求項6】
請求項4に記載の建物用パネルにおいて、上記板材に対向配置されて当該板材とで上記板状断熱材を挟む対向板材を有しており、上記対向板材と上記板状断熱材の互いに接し合う面部分および上記対向板材と上記第2折曲部の互いに接し合う面部分も、接着剤によって互いに接着されることを特徴とする建物用パネル。
【請求項7】
請求項6に記載の建物用パネルにおいて、上記隣り合う板状断熱材の対向する側面は傾斜面になっており、当該傾斜面の上記側面に密着して上記薄板が位置し、当該薄板に対して上記第1折曲部および上記第2折曲部が90度よりも大きい角度をなして延びていることを特徴とする建物用パネル。
【請求項8】
請求項6また請求項7に記載の建物用パネルにおいて、上記薄板は、上記一方の板状断熱材の両側面に位置し、上記両側面の薄板が上記第1折曲部で繋がれており、上記両薄板が各々上記第2折曲部を有することを特徴とする建物用パネル。
【請求項9】
請求項5に記載の建物用パネルにおいて、上記板材に対向配置されて当該板材とで上記板状断熱材を挟む対向板材を有しており、上記対向板材と上記板状断熱材の互いに接し合う面部分および上記対向板材と上記第2折曲部の互いに接し合う面部分も、接着剤によって互いに接着されることを特徴とする建物用パネル。
【請求項10】
請求項9に記載の建物用パネルにおいて、上記隣り合う板状断熱材の対向する側面は傾斜面になっており、当該傾斜面の上記側面に密着して上記薄板が位置し、当該薄板に対して上記第1折曲部および上記第2折曲部が延びていることを特徴とする建物用パネル。
(【請求項11】以降は省略されています)
発明の詳細な説明
【技術分野】
【0001】
この発明は、床パネル、屋根パネル、壁パネル等の建物用パネルに関する。
続きを表示(約 1,700 文字)
【背景技術】
【0002】
特許文献1には、断熱かつ耐震性能を有する壁を現場で容易に形成するのを可能にする断熱耐震パネルが開示されている。この断熱耐震パネルは、矩形状の構造用面材と、この構造用面材の内側の面に固定され、左右の両端面が2つの柱にそれぞれ固定される断熱パネルとを備える。断熱パネルは、ビーズ法ポリスチレンフォームによる成形断熱材と、これよりも断熱性の高いボード状断熱材とを張り合わせて構成される。
【先行技術文献】
【特許文献】
【0003】
特許第7257721号公報
【発明の概要】
【発明が解決しようとする課題】
【0004】
しかしながら、特許文献1に開示された技術は、柱にそれぞれ固定される断熱パネルを備えるものの、断熱パネルが柱にどのように固定されるかは具体的ではなく、断熱パネルが柱から落ちない程度に付着していることを示しているに過ぎないと思われ、上記断熱パネルによる断熱耐震パネルの補強を意図していない。
【0005】
この発明は、パネル剛性やパネル強度を高めることができる建物用パネルを提供することを課題とする。
【課題を解決するための手段】
【0006】
この発明の建物用パネルは、上記の課題を解決するために、板材の片面側に板状断熱材が当該板状断熱材の側面を対向させて2個以上配置された建物用パネルであって、
少なくとも2個の隣り合う上記板状断熱材の対向する上記側面間に、これら側面に挟まれる、木材のヤング率よりも大きなヤング率を有する材料からなる薄板を有しており、上記隣り合う板状断熱材のうち一方の上記板状断熱材の上記側面と当該側面に対向する上記薄板の対向面とが接着剤によって接着されるとともに、他方の上記板状断熱材の上記側面と当該側面に対向する上記薄板の対向面とが接着剤によって接着されており、
上記板材と上記板状断熱材との互いに接し合う面部分も、接着剤によって互いに接着されることを特徴とする。
【0007】
上記の構成であれば、上記板材と上記板状断熱材とが上記接着剤によって相互に接着され、且つ、上記隣り合う板状断熱材同士も、上記薄板を挟んで上記接着剤によって固定されるので、上記薄板および上記板状断熱材が有する曲げ強さを利用して建物用パネルのパネル剛性やパネル強度を高めることができる。また、通常用いられる木製桟材の使用を無くせる或いは減らせるので、建物用パネルの軽量化や断熱性向上も図ることができる。
【0008】
上記薄板は、上記板材と上記隣り合う板状断熱材のうち一方の上記板状断熱材との間に折れ曲がって延びる第1折曲部を有しており、上記第1折曲部は、上記板材および上記一方の板状断熱材に、接着剤によって接着されてもよい。すなわち、断面L字形となるように上記薄板が上記第1折曲部を有することで、例えば、建物用パネルが床パネルとされる場合の当該建物用パネルの圧縮或いは引っ張りに対する剛性を高めることができる。
【0009】
これらの建物用パネルにおいて、上記板材に対向配置されて当該板材とで上記板状断熱材を挟む対向板材を有しており、上記対向板材と上記板状断熱材の互いに接し合う面部分も、接着剤によって互いに接着されてもよい。これによれば、上記対向板材が有する強さを利用して当該建物用パネルのパネル剛性やパネル強度をさらに高めることができる。
【0010】
上記薄板は、上記他方の板状断熱材の上記板材が位置しない側に折れ曲がって延びる第2折曲部を有しており、上記第2折曲部は、上記他方の板状断熱材に、接着剤によって接着されてもよい。すなわち、断面が階段形となるように上記薄板が上記第1折曲部および上記第2折曲部を有することにより、例えば、この建物用パネルが床パネルとされる場合の当該建物用パネルの圧縮および引っ張りに対する剛性を高めることができる。
(【0011】以降は省略されています)
この特許をJ-PlatPat(特許庁公式サイト)で参照する
関連特許
個人
接合構造
8日前
個人
タッチミー
7日前
個人
屋台
25日前
個人
野良猫ハウス
1か月前
個人
フェンス
1か月前
個人
転落防止用手摺
1か月前
個人
居住車両用駐車場
1か月前
積水樹脂株式会社
柵体
1か月前
個人
地下型マンション
3か月前
個人
ベンリナアングル
7日前
ニチハ株式会社
建築板
1か月前
個人
筋交自動設定装置
15日前
個人
鋼管結合資材
3か月前
個人
壁断熱パネル
4か月前
個人
熱抵抗多層断熱建材
1か月前
株式会社タナクロ
テント
3か月前
個人
補強部材
1か月前
個人
柵
2か月前
成友建設株式会社
建物
1か月前
個人
身体用シェルター
15日前
個人
循環流水式屋根融雪装置
3か月前
個人
身体用シェルター
15日前
鹿島建設株式会社
壁体
1か月前
株式会社熊谷組
木質材料
25日前
インターマン株式会社
天井構造
2か月前
株式会社熊谷組
床構成材
5日前
三協立山株式会社
構造体
4か月前
個人
可搬型供養墓
13日前
三協立山株式会社
構造体
15日前
イワブチ株式会社
組立柱
1か月前
三協立山株式会社
構造体
15日前
三協立山株式会社
構造体
15日前
株式会社熊谷組
吊り治具
12日前
三協立山株式会社
構造体
15日前
三協立山株式会社
構造体
15日前
三協立山株式会社
構造体
15日前
続きを見る
他の特許を見る