TOP
|
特許
|
意匠
|
商標
特許ウォッチ
Twitter
他の特許を見る
公開番号
2025151552
公報種別
公開特許公報(A)
公開日
2025-10-09
出願番号
2024053049
出願日
2024-03-28
発明の名称
絶縁材
出願人
株式会社タムラ製作所
代理人
弁理士法人樹之下知的財産事務所
主分類
H05K
3/28 20060101AFI20251002BHJP(他に分類されない電気技術)
要約
【課題】低熱膨張率であり、かつ耐電圧に優れる絶縁材を提供すること。
【解決手段】第一樹脂組成物からなる第一絶縁層1と、第一絶縁層1の少なくとも一方の表面に設けられている、第二樹脂組成物からなる第二絶縁層2とを備える絶縁材100であって、前記第一樹脂組成物が、無機フィラーを含有し、前記第二樹脂組成物が、無機フィラーを含有しない、絶縁材100。
【選択図】図1
特許請求の範囲
【請求項1】
第一樹脂組成物からなる第一絶縁層と、前記第一絶縁層の少なくとも一方の表面に設けられている、第二樹脂組成物からなる第二絶縁層とを備える絶縁材であって、
前記第一樹脂組成物が、無機フィラーを含有し、
前記第二樹脂組成物が、無機フィラーを含有しない、
絶縁材。
続きを表示(約 410 文字)
【請求項2】
請求項1に記載の絶縁材において、
前記第二絶縁層の厚みが、0.5μm以上10μm以下である、
絶縁材。
【請求項3】
請求項1または請求項2に記載の絶縁材において、
前記第一樹脂組成物は、前記第一樹脂組成物の全固形分に対して、20質量%以上70質量%以下の無機フィラーを含有する、
絶縁材。
【請求項4】
請求項1または請求項2に記載の絶縁材において、
前記無機フィラーが、シリカである、
絶縁材。
【請求項5】
請求項1または請求項2に記載の絶縁材において、
前記第一樹脂組成物が、ポリイミドを含有する、
絶縁材。
【請求項6】
請求項1または請求項2に記載の絶縁材において、
前記第二絶縁層は、前記第一絶縁層の両方の表面に設けられている、
絶縁材。
発明の詳細な説明
【技術分野】
【0001】
本発明は、絶縁材に関する。
続きを表示(約 1,700 文字)
【背景技術】
【0002】
電子機器の小型化および軽量化に伴い、フレキシブルプリント配線基板が広く用いられている。このフレキシブルプリント配線基板は、例えば、ポリイミド基材上にパターン形成された銅配線を被覆するようにカバーレイを積層することにより形成される。
例えば、特許文献1には、絶縁性、可撓性および光反射性を有するカバーフィルム、並びに、このカバーフィルムの一方の面に積層される接着層を備えるカバーレイが記載されている。このカバーレイでは、カバーフィルムが、基材層と、この基材層の他方の面側に積層される反射層とを含む。そして、この反射層が白色顔料を含有している。
【先行技術文献】
【特許文献】
【0003】
特開2016-48736号公報
【発明の概要】
【発明が解決しようとする課題】
【0004】
一方で、カバーレイには、低熱膨張率も要求されるようになった。そこで、カバーレイを形成するためのワニスに、無機フィラーを多量に配合することが考えられる。しかしながら、無機フィラーを多量に含むワニスを塗工し、硬化させると、耐電圧が低下してしまうという問題があった。
【0005】
本発明は、低熱膨張率であり、かつ耐電圧に優れる絶縁材を提供することを目的とする。
【課題を解決するための手段】
【0006】
本発明によれば、以下に示す絶縁材が提供される。
[1] 第一樹脂組成物からなる第一絶縁層と、前記第一絶縁層の少なくとも一方の表面に設けられている、第二樹脂組成物からなる第二絶縁層とを備える絶縁材であって、
前記第一樹脂組成物が、無機フィラーを含有し、
前記第二樹脂組成物が、無機フィラーを含有しない、
絶縁材。
[2] [1]に記載の絶縁材において、
前記第二絶縁層の厚みが、0.5μm以上10μm以下である、
絶縁材。
[3] [1]または[2]に記載の絶縁材において、
前記第一樹脂組成物は、前記第一樹脂組成物の全固形分に対して、20質量%以上60質量%以下の無機フィラーを含有する、
絶縁材。
[4] [1]から[3]のいずれかに記載の絶縁材において、
前記無機フィラーが、シリカである、
絶縁材。
[5] [1]から[4]のいずれかに記載の絶縁材において、
前記第一樹脂組成物が、ポリイミドを含有する、
絶縁材。
[6] [1]から[5]のいずれかに記載の絶縁材において、
前記第二絶縁層は、前記第一絶縁層の両方の表面に設けられている、
絶縁材。
【発明の効果】
【0007】
本発明の一態様によれば、低熱膨張率であり、かつ耐電圧に優れる絶縁材を提供できる。
【図面の簡単な説明】
【0008】
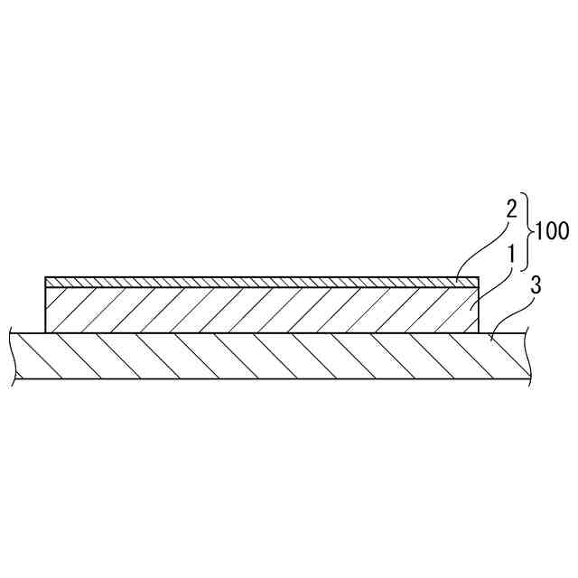
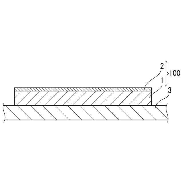
本発明の第一実施形態に係る絶縁材を示す断面図である。
本発明の第二実施形態に係る絶縁材を示す断面図である。
【発明を実施するための形態】
【0009】
[第一実施形態]
以下、本発明について実施形態を例に挙げて、図面に基づいて説明する。本発明は実施形態の内容に限定されない。なお、図面においては、説明を容易にするために拡大または縮小をして図示した部分がある。
【0010】
(絶縁材)
本実施形態に係る絶縁材100は、図1に示すように、第一樹脂組成物からなる第一絶縁層1と、第一絶縁層1の少なくとも一方の表面に設けられている、第二樹脂組成物からなる第二絶縁層2とを備えている。また、絶縁材100は、基板3の上に、設けられている。
そして、この第一樹脂組成物が、無機フィラーを含有し、この第二樹脂組成物が、無機フィラーを含有しないことが必要である。
(【0011】以降は省略されています)
この特許をJ-PlatPat(特許庁公式サイト)で参照する
関連特許
株式会社タムラ製作所
絶縁材
15日前
株式会社タムラ製作所
搬送加熱装置
14日前
株式会社タムラ製作所
反射材硬化物
14日前
株式会社タムラ製作所
反射材硬化物
14日前
株式会社タムラ製作所
反射材硬化物
14日前
株式会社タムラ製作所
リアクトルの製造方法
21日前
株式会社タムラ製作所
パワー半導体モジュール
15日前
株式会社タムラ製作所
情報通信システム及び情報通信装置
23日前
株式会社タムラ製作所
フラックス、ソルダペーストおよびプリント回路基板
14日前
株式会社タムラ製作所
樹脂フィルム、樹脂付き銅箔、多層配線基板、コイル構造体、および磁気デバイス
14日前
株式会社タムラ製作所
感光性樹脂組成物、感光性樹脂組成物の光硬化物及び当該光硬化物を有するプリント配線板
15日前
株式会社コロナ
電気機器
3か月前
個人
電子部品の実装方法
23日前
個人
非衝突型ガウス加速器
2か月前
日本精機株式会社
回路基板
1か月前
愛知電機株式会社
装柱金具
15日前
個人
電気式バーナー
7日前
イビデン株式会社
配線基板
16日前
日本放送協会
基板固定装置
1か月前
アイホン株式会社
電気機器
1か月前
キヤノン株式会社
電子機器
3か月前
アイホン株式会社
電気機器
2か月前
個人
節電材料
2か月前
キヤノン株式会社
電子機器
1か月前
メクテック株式会社
配線基板
2か月前
メクテック株式会社
配線基板
3か月前
マクセル株式会社
配列用マスク
3か月前
東レ株式会社
霧化状活性液体供給装置
1か月前
サクサ株式会社
筐体の壁掛け構造
1か月前
イビデン株式会社
プリント配線板
1か月前
株式会社デンソー
電子装置
16日前
イビデン株式会社
配線基板
2か月前
株式会社レクザム
剥離装置
15日前
イビデン株式会社
プリント配線板
3か月前
イビデン株式会社
配線基板
1か月前
サクサ株式会社
開き角度規制構造
14日前
続きを見る
他の特許を見る