TOP
|
特許
|
意匠
|
商標
特許ウォッチ
Twitter
他の特許を見る
公開番号
2025152062
公報種別
公開特許公報(A)
公開日
2025-10-09
出願番号
2024053778
出願日
2024-03-28
発明の名称
チューブポンプ
出願人
ケーピーエス工業株式会社
代理人
個人
,
個人
,
個人
,
個人
,
個人
,
個人
,
個人
,
個人
主分類
F04C
5/00 20060101AFI20251002BHJP(液体用容積形機械;液体または圧縮性流体用ポンプ)
要約
【課題】送液OFF操作時に生じる弾性チューブ内残圧による液漏れをできるだけ少なくすることができるチューブポンプを提供する。
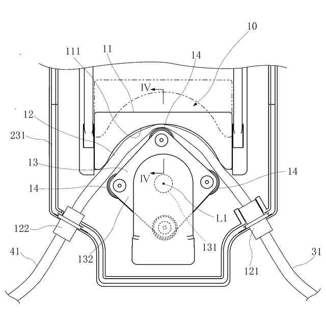
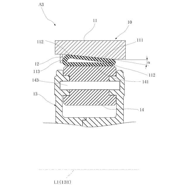
【解決手段】円弧内面状のガイド面111と、当該ガイド面111に沿わせて配置された弾性チューブ12と、上記ガイド面111を構成する円弧の中心位置を回転軸131として回転し、周方向等間隔に支持した複数のローラ14を有するロータ13と、を含み、ロータ13の回転により、ローラ14が上記ガイド面111との間の上記弾性チューブ12をしごき変形させるチューブポンプA1,A2,A3において、上記ガイド面111またはローラ14の外周面141は、ロータ13の回転軸131に沿う断面において、回転軸131の軸線L1に対して傾斜する傾斜部112,142を有している。
【選択図】 図4
特許請求の範囲
【請求項1】
円弧内面状のガイド面と、当該ガイド面に沿わせて配置された弾性チューブと、上記ガイド面を構成する円弧の中心位置を回転軸として回転し、周方向等間隔に支持した複数のローラを有するロータと、を含み、上記ロータの回転により、上記ローラが上記ガイド面との間の上記弾性チューブをしごき変形させるチューブポンプにおいて、
上記ガイド面または上記ローラの外周面は、上記ロータの回転軸に沿う断面において、上記回転軸の軸線に対して傾斜する傾斜部を有していることを特徴とする、チューブポンプ。
続きを表示(約 540 文字)
【請求項2】
上記傾斜部は、上記ガイド面に形成されており、当該ガイド面の上記回転軸の軸線方向一方側において当該一方側に向かうほど上記軸線までの距離が短くなる第1傾斜部と、当該ガイド面の上記回転軸の軸線方向他方側において当該他方側に向かうほど上記軸線までに距離が短くなる第2傾斜部とを含んでいる、請求項1に記載のチューブポンプ。
【請求項3】
上記傾斜部は、上記ローラの外周面に形成されており、当該外周面の上記回転軸の軸線方向一方側において当該一方側に向かうほど上記軸線までの距離が短くなる第1傾斜部と、当該外周面の上記回転軸の軸線方向他方側において当該他方側に向かうほど上記軸線までに距離が短くなる第2傾斜部とを含んでいる、請求項1に記載のチューブポンプ。
【請求項4】
上記傾斜部の傾斜角度は、2~6°であり、好ましくは3~4°である、請求項1に記載のチューブポンプ。
【請求項5】
上記弾性チューブの入口側が輸液チューブを介して麻酔液容器に接続され、上記弾性チューブの出口側が輸液チューブを介して注射針に接続され、フートペダルにより上記ロータの回転がON/OFF操作される、請求項1ないし4のいずれかに記載のチューブポンプ。
発明の詳細な説明
【技術分野】
【0001】
本発明は、チューブポンプに関し、例えば、下肢静脈瘤の治療時等にTLA麻酔を施行するのに好適なチューブポンプに関する。
続きを表示(約 1,500 文字)
【背景技術】
【0002】
チューブポンプの代表的な構成は、例えば特許文献1に示されているように、円弧内面状のガイド面に沿わせて弾性チューブを配置し、ガイド面を構成する円弧の中心位置を回転軸として回転するロータに周方向等間隔に支持させた複数のローラにより、ガイド面との間の弾性チューブをしごき変形させるようになっている。ローラの押圧力により弾性チューブに形成される狭窄部がロータの回転により送液方向前方に移動することにより、弾性チューブ内の液体の送液が行われる。
【0003】
この種のチューブポンプをTLA麻酔施行に用いる場合、弾性チューブの入口側が輸液チューブを介して麻酔液容器に接続されるとともに、弾性チューブの出口側が輸液チューブを介して注射針に接続される。このチューブポンプによる送液は、例えばフートペダルによりON/OFF操作される。すなわち、フートペダルのON操作により上記ロータが所定回転数で回転し、OFF操作により上記ロータが停止する。
【0004】
ところで、この種のチューブポンプは、フートペダルをOFF操作してロータの回転を停止させても、弾性チューブ内の残圧による出口側からの余分な送液がなされてしまうという宿命がある。たとえば、この種のチューブポンプを用いたTLA麻酔施行の現場では、注射針を患者の下肢から引き抜いてフートペダルをOFF操作しても、数秒間注射針の先端から麻酔液が漏れ続けるという現象が起こる。このようなことは、医療行為現場が麻酔液で汚れることになるし、麻酔液の無駄にもつながるので好ましいことではない。
【先行技術文献】
【特許文献】
【0005】
WO 2017/159841号公報
【発明の概要】
【発明が解決しようとする課題】
【0006】
本発明は、上記した事情のもとで考え出されたものであって、送液OFF操作時に生じる弾性チューブ内残圧による液漏れをできるだけ少なくすることができるチューブポンプを提供することをその課題としている。
【課題を解決するための手段】
【0007】
上記課題を解決するため、本発明では、次の技術的手段を採用した。
【0008】
すなわち、本発明によって提供されるチューブポンプは、円弧内面状のガイド面と、当該ガイド面に沿わせて配置された弾性チューブと、上記ガイド面を構成する円弧の中心位置を回転軸として回転し、周方向等間隔に支持した複数のローラを有するロータと、を含み、上記ロータの回転により、上記ローラが上記ガイド面との間の上記弾性チューブをしごき変形させるチューブポンプにおいて、上記ガイド面または上記ローラの外周面は、上記ロータの回転軸に沿う断面において、上記回転軸の軸線に対して傾斜する傾斜部を有していることを特徴とする。
【0009】
好ましい実施の形態では、上記傾斜部は、上記ガイド面に形成されており、当該ガイド面の上記回転軸の軸線方向一方側において当該一方側に向かうほど上記軸線までの距離が短くなる第1傾斜部と、当該ガイド面の上記回転軸の軸線方向他方側において当該他方側に向かうほど上記軸線までに距離が短くなる第2傾斜部とを含んでいる。
【0010】
好ましい実施の形態では、上記傾斜部は、上記ローラの外周面に形成されており、当該外周面の上記回転軸の軸線方向一方側において当該一方側に向かうほど上記軸線までの距離が短くなる第1傾斜部と、当該外周面の上記回転軸の軸線方向他方側において当該他方側に向かうほど上記軸線までに距離が短くなる第2傾斜部とを含んでいる。
(【0011】以降は省略されています)
この特許をJ-PlatPat(特許庁公式サイト)で参照する
関連特許
個人
海流製造装置。
1か月前
株式会社スギノマシン
圧縮機
9日前
株式会社ツインバード
送風装置
29日前
株式会社ツインバード
送風装置
29日前
カヤバ株式会社
電動ポンプ
2か月前
日機装株式会社
遠心ポンプ
1日前
株式会社不二越
蓄圧装置
2か月前
ビッグボーン株式会社
送風装置
1か月前
株式会社ノーリツ
ロータリ圧縮機
1か月前
株式会社酉島製作所
ポンプ
3か月前
株式会社不二越
ベーンポンプ
2か月前
小倉クラッチ株式会社
ルーツブロア
2か月前
株式会社坂製作所
スクロール圧縮機
3か月前
樫山工業株式会社
真空ポンプ
10日前
株式会社ノーリツ
ロータリー圧縮機
3か月前
サンデン株式会社
スクロール圧縮機
15日前
サンデン株式会社
スクロール圧縮機
15日前
サンデン株式会社
スクロール圧縮機
15日前
エドワーズ株式会社
真空ポンプ
23日前
株式会社チロル
送風機、送風機付衣服
1か月前
株式会社島津製作所
真空ポンプ
1か月前
株式会社島津製作所
真空ポンプ
29日前
株式会社豊田自動織機
流体機械
1か月前
株式会社アイシン
ポンプケース
22日前
株式会社ナノバブル研究所
気液駆動装置
23日前
NTN株式会社
電動オイルポンプ
16日前
株式会社豊田自動織機
電動圧縮機
3か月前
株式会社豊田自動織機
電動圧縮機
1か月前
株式会社豊田自動織機
電動圧縮機
1か月前
株式会社豊田自動織機
電動圧縮機
1か月前
已久工業股ふん有限公司
空気圧縮機構造
2か月前
株式会社豊田自動織機
電動圧縮機
2か月前
株式会社豊田自動織機
遠心圧縮機
4か月前
株式会社豊田自動織機
電動圧縮機
1か月前
株式会社豊田自動織機
電動圧縮機
1か月前
株式会社豊田自動織機
電動圧縮機
2か月前
続きを見る
他の特許を見る