TOP
|
特許
|
意匠
|
商標
特許ウォッチ
Twitter
他の特許を見る
10個以上の画像は省略されています。
公開番号
2025152211
公報種別
公開特許公報(A)
公開日
2025-10-09
出願番号
2024054001
出願日
2024-03-28
発明の名称
ステアリング装置用パッド
出願人
豊田合成株式会社
代理人
個人
主分類
B60Q
3/283 20170101AFI20251002BHJP(車両一般)
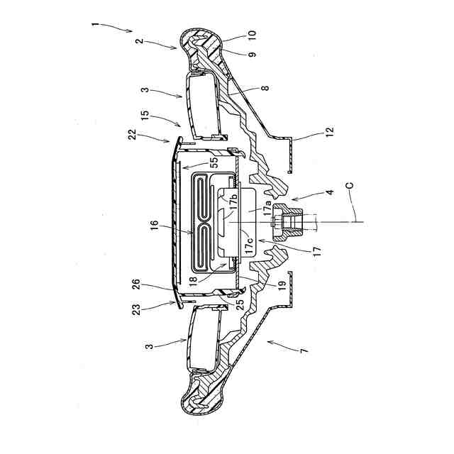
要約
【課題】意匠性を良好としていても、部品点数の増加を抑制できて、軽量化やコスト低減を実現可能なステアリング装置用パッドを提供すること。
【解決手段】ステアリング装置1におけるボス部4の上面側に配設されて、ボス部を覆う天井壁部26の領域に、意匠部45を配設させる構成のステアリング装置用パッド22である。パッド本体23と、パッド本体における天井壁部の裏面側に配設される光源部55と、を備える。天井壁部が、透光率を異ならせた低透光部51と高透光部52とを備える。高透光部が、光源部から照射される光を透過可能として、意匠部を構成している
【選択図】図4
特許請求の範囲
【請求項1】
ステアリング装置におけるボス部の上面側に配設されて、該ボス部を覆う天井壁部の領域に、意匠部を配設させる構成のステアリング装置用パッドであって、
パッド本体と、
該パッド本体における前記天井壁部の裏面側に配設されて、前記意匠部を照射可能に構成される光源部と、
を備える構成とされ、
前記天井壁部が、透光率を異ならせた低透光部と高透光部とを備え、
前記高透光部が、前記光源部から照射される光を透過可能として、前記意匠部を構成していることを特徴とするステアリング装置用パッド。
続きを表示(約 790 文字)
【請求項2】
前記天井壁部が、透光層と、該透光層の表面側に配設される非透光層と、を積層させて構成されるとともに、該非透光層を切り抜くようにして形成される開口部を、備える構成とされ、
該開口部と前記透光層とが、前記高透光部を構成していることを特徴とする請求項1に記載のステアリング装置用パッド。
【請求項3】
前記パッド本体が、透光性を有する基材から形成され、
前記非透光層が、前記天井壁部の表面を覆うように、薄膜状に形成されていることを特徴とする請求項2に記載のステアリング装置用パッド。
【請求項4】
前記基材が、白濁色に着色されていることを特徴とする請求項3に記載のステアリング装置用パッド。
【請求項5】
前記天井壁部が、表面側を、全面にわたって、コート層によって覆われていることを特徴とする請求項2乃至4のいずれか1項に記載のステアリング装置用パッド。
【請求項6】
前記光源部が、基板と、該基板に取り付けられて点灯時に可視光を発光する可視光光源と、該可視光光源から発光される可視光を偏向させつつ拡散させる導光体と、を備え、
該導光体が、前記開口部の下方の領域を全面にわたって覆うように、配設され、
前記可視光光源が、前記導光体の側方に、配設されていることを特徴とする請求項1に記載のステアリング装置用パッド。
【請求項7】
前記ボス部の内部に、折り畳まれたエアバッグが収納され、
前記天井壁部が、前記エアバッグの膨張時に、所定位置に配置される破断予定部を破断させることにより、複数の扉部を開かせるような構成とされ、
前記破断予定部が、前記光源部を迂回するように、形成されていることを特徴とする請求項6に記載のステアリング装置用パッド。
発明の詳細な説明
【技術分野】
【0001】
本発明は、ステアリング装置におけるボス部の上面側に配設されて、ボス部を覆う天井壁部の領域に、意匠部を配設させる構成のステアリング装置用パッドに関する。
続きを表示(約 1,500 文字)
【背景技術】
【0002】
従来、ステアリング装置(ステアリングホイール)用のパッドとしては、天井壁部の領域に、意匠部としての装飾体を有するとともに、この装飾体を光らせることができる構成のものがあった(例えば、特許文献1参照)。
【先行技術文献】
【特許文献】
【0003】
特開2008-238879公報
【発明の概要】
【発明が解決しようとする課題】
【0004】
しかし、従来のパッドでは、パッドと別体の装飾体を天井壁部に取り付ける構成とされ、さらに、この装飾体を光らせるための光源も配設されていることから、部品点数が多く、軽量化、製造工数やコストの低減等に、改善の余地があった。
【0005】
本発明は、上述の課題を解決するものであり、意匠性を良好としていても、部品点数の増加を抑制できて、軽量化やコスト低減を実現可能なステアリング装置用パッドを提供することを目的とする。
【課題を解決するための手段】
【0006】
本発明に係るステアリング装置用パッドは、ステアリング装置におけるボス部の上面側に配設されて、ボス部を覆う天井壁部の領域に、意匠部を配設させる構成のステアリング装置用パッドであって、
パッド本体と、
パッド本体における天井壁部の裏面側に配設されて、意匠部を照射可能に構成される光源部と、
を備える構成とされ、
天井壁部が、透光率を異ならせた低透光部と高透光部とを備え、
高透光部が、光源部から照射される光を透過可能として、意匠部を構成していることを特徴とする。
【0007】
本発明のステアリング装置用パッドでは、パッド本体における天井壁部が、透光率を異ならせた低透光部と高透光部とを備える構成とされて、高透光部が、天井壁部の裏面側に配設される光源部から照射される光を透過可能に構成されている。そして、この高透光部が、天井壁部の領域に配設される意匠部を、構成している。すなわち、本発明のステアリング装置用パッドでは、天井壁部の一部を、高透光部(意匠部)としており、装飾用に別体の部材を取り付けるような構成ではなく、また、この高透光部から構成される意匠部を、所定時に光らせることができる。そのため、部品点数の増大を抑制して、軽量化も図ることができる。
【0008】
したがって、本発明のステアリング装置用パッドでは、意匠性を良好としていても、部品点数の増加を抑制できて、軽量化やコスト低減を実現することができる。
【0009】
具体的には、本発明のステアリング装置用パッドにおいて、天井壁部を、透光層と、透光層の表面側に配設される非透光層と、を積層させて構成するとともに、非透光層を切り抜くようにして形成される開口部を備える構成とし、
開口部と透光層とにより、高透光部を構成することが、好ましい。
【0010】
ステアリング装置用パッドをこのような構成とすれば、透光層の表面側に積層されている非透光層を、単に切り抜くようにして、開口部を形成するだけで、高透光部(すなわち、意匠部)を、形成できることから、簡便な構成とすることができて、製造が容易となる。また、光源部による照射時に、光源部から発光される可視光を、透光層内を拡散させるようにして、開口部から放射させることができることから、開口部(すなわち、意匠部)をムラなく光らせることができる。
(【0011】以降は省略されています)
この特許をJ-PlatPat(特許庁公式サイト)で参照する
関連特許
豊田合成株式会社
発光素子
1か月前
豊田合成株式会社
調光装置
4日前
豊田合成株式会社
殺菌装置
1か月前
豊田合成株式会社
表示装置
1か月前
豊田合成株式会社
操作装置
1か月前
豊田合成株式会社
着座装置
1か月前
豊田合成株式会社
半導体素子
1か月前
豊田合成株式会社
ガラスラン
16日前
豊田合成株式会社
ガラスラン
23日前
豊田合成株式会社
ガラスラン
16日前
豊田合成株式会社
流体殺菌装置
1か月前
豊田合成株式会社
車両用内装品
18日前
豊田合成株式会社
乗員保護装置
16日前
豊田合成株式会社
樹脂成形装置
24日前
豊田合成株式会社
流体殺菌装置
1か月前
豊田合成株式会社
車両用外装品
1か月前
豊田合成株式会社
流体殺菌装置
1か月前
豊田合成株式会社
車両用外装品
1か月前
豊田合成株式会社
車両用外装品
16日前
豊田合成株式会社
車載照明装置
1か月前
豊田合成株式会社
乗員保護装置
10日前
豊田合成株式会社
機器制御装置
16日前
豊田合成株式会社
流体殺菌装置
1か月前
豊田合成株式会社
流体殺菌装置
1か月前
豊田合成株式会社
車両用内装品
18日前
豊田合成株式会社
電動液体ポンプ
16日前
豊田合成株式会社
空調用レジスタ
17日前
豊田合成株式会社
空調用レジスタ
17日前
豊田合成株式会社
電動液体ポンプ
16日前
豊田合成株式会社
電動液体ポンプ
16日前
豊田合成株式会社
空調用レジスタ
17日前
豊田合成株式会社
立体エアバッグ
16日前
豊田合成株式会社
電動液体ポンプ
16日前
豊田合成株式会社
立体エアバッグ
1か月前
豊田合成株式会社
車両の前部構造
1か月前
豊田合成株式会社
ミスト噴射装置
1か月前
続きを見る
他の特許を見る