TOP
|
特許
|
意匠
|
商標
特許ウォッチ
Twitter
他の特許を見る
公開番号
2025152399
公報種別
公開特許公報(A)
公開日
2025-10-09
出願番号
2024054273
出願日
2024-03-28
発明の名称
コネクタ装置
出願人
株式会社オートネットワーク技術研究所
,
住友電装株式会社
,
住友電気工業株式会社
代理人
弁理士法人グランダム特許事務所
主分類
H01R
13/631 20060101AFI20251002BHJP(基本的電気素子)
要約
【課題】電気接続箱が収容されている筐体の大型化を回避する。
【解決手段】コネクタ装置は、筐体11と、筐体11内に収容された電気接続箱20と、電気接続箱20に接続された状態で筐体11に取り付けられた第1コネクタ30と、筐体11の外部から第1コネクタ30に接続される第2コネクタ60と、を備え、第1コネクタ30は第1端子金具40を有し、第2コネクタ60は、第1端子金具40に接続される第2端子金具66を有し、第1端子金具40は、一対の弾性接触片44と、一対の弾性接触片44を一体的に相対変位させるクリップ50と、を有し、第2端子金具66は、一対の弾性接触片44の間に挿入されるタブ68を有する。
【選択図】図1
特許請求の範囲
【請求項1】
筐体と、
前記筐体内に収容された電気接続箱と、
前記電気接続箱に接続された状態で前記筐体に取り付けられた第1コネクタと、
前記筐体の外部から前記第1コネクタに接続される第2コネクタと、を備え、
前記第1コネクタは、第1端子金具を有し、
前記第2コネクタは、前記第1端子金具に接続される第2端子金具を有し、
前記第1端子金具と前記第2端子金具のうち一方は、一対の弾性接触片と、前記一対の弾性接触片を一体的に相対変位させるクリップと、を有し、
前記第1端子金具と前記第2端子金具のうち他方は、前記一対の弾性接触片の間に挿入されるタブを有するコネクタ装置。
続きを表示(約 440 文字)
【請求項2】
前記一対の弾性接触片は、前記タブの挿入方向と同じ方向へ片持ち状に延出した形状であり、
前記クリップは、基部と、前記基部から前記タブの挿入方向とは反対側へ片持ち状に延出した一対の挟持部とを有し、
前記基部は、前記一対の弾性接触片の延出端よりも延出方向前方に位置し、
前記一対の挟持部は、前記一対の弾性接触片を挟むように配置されている請求項1に記載のコネクタ装置。
【請求項3】
前記一対の弾性接触片は、前記タブと接触する一対の接点部を有し、
前記クリップは、基部と、前記基部から前記タブの挿入方向とは反対側へ片持ち状に延出した一対の挟持部とを有し、
前記一対の挟持部が、前記一対の接点部に当接している請求項1又は請求項2に記載のコネクタ装置。
【請求項4】
前記接点部は、凹部を有しており、
前記挟持部が、前記凹部内において前記接点部に当接している請求項3に記載のコネクタ装置。
発明の詳細な説明
【技術分野】
【0001】
本開示は、コネクタ装置に関するものである。
続きを表示(約 1,900 文字)
【背景技術】
【0002】
特許文献1には、筐体に対して外部から取り付けられるコネクタと、筐体の内部に配置された相手側コネクタとを有する装置が開示されている。コネクタを筐体に取り付けることによって、コネクタの端子と相手側コネクタの端子とが接続される。
【先行技術文献】
【特許文献】
【0003】
特開2015-072795号公報
【発明の概要】
【発明が解決しようとする課題】
【0004】
この種の装置においては、コネクタは筐体の外部にボルト締め等によって固定され、相手側コネクタは、筐体内に固定した電気接続箱に取り付けられる。このような構造の場合、コネクタの端子と相手側コネクタの端子との間で位置ずれが生じることがある。端子間の位置ずれを吸収する手段としては、筐体の内部において、相手側コネクタと電気接続箱との間に位置ずれ吸収部材を介在させることが考えられる。しかし、このような方法では、筐体内に位置ずれ吸収部材を収容するためのスペースが必要となるため、筐体が大型化するという問題がある。
【0005】
本開示のコネクタ装置は、上記のような事情に基づいて完成されたものであって、電気接続箱が収容されている筐体の大型化を回避することを目的とする。
【課題を解決するための手段】
【0006】
本開示のコネクタ装置は、
筐体と、
前記筐体内に収容された電気接続箱と、
前記電気接続箱に接続された状態で前記筐体に取り付けられた第1コネクタと、
前記筐体の外部から前記第1コネクタに接続される第2コネクタと、を備え、
前記第1コネクタは、第1端子金具を有し、
前記第2コネクタは、前記第1端子金具に接続される第2端子金具を有し、
前記第1端子金具と前記第2端子金具のうち一方は、一対の弾性接触片と、前記一対の弾性接触片を一体的に相対変位させるクリップと、を有し、
前記第1端子金具と前記第2端子金具のうち他方は、前記一対の弾性接触片の間に挿入されるタブを有する。
【発明の効果】
【0007】
本開示によれば、電気接続箱が収容されている筐体の大型化を回避できる。
【図面の簡単な説明】
【0008】
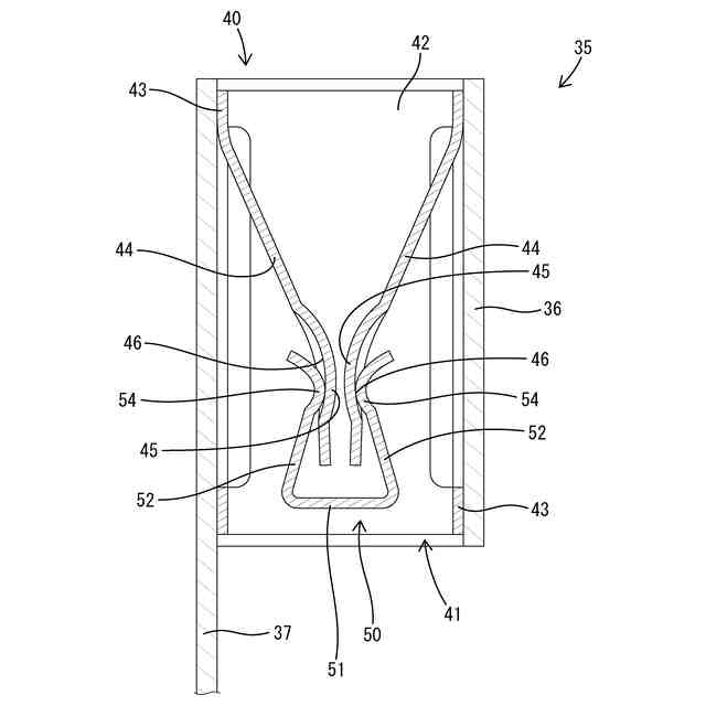
図1は、実施例1のコネクタ装置の断面図である。
図2は、第1端子金具の断面図である。
【発明を実施するための形態】
【0009】
[本開示の実施形態の説明]
最初に本開示の実施形態を列記して説明する。下記の複数の形態例を、矛盾を生じない範囲で任意に組み合わせたものも、発明を実施するための形態に含まれる。
本開示のコネクタ装置は、
(1)筐体と、前記筐体内に収容された電気接続箱と、前記電気接続箱に接続された状態で前記筐体に取り付けられた第1コネクタと、前記筐体の外部から前記第1コネクタに接続される第2コネクタと、を備え、前記第1コネクタは、第1端子金具を有し、前記第2コネクタは、前記第1端子金具に接続される第2端子金具を有し、前記第1端子金具と前記第2端子金具のうち一方は、一対の弾性接触片と、前記一対の弾性接触片を一体的に相対変位させるクリップと、を有し、前記第1端子金具と前記第2端子金具のうち他方は、前記一対の弾性接触片の間に挿入されるタブを有する。この構成によれば、第1端子金具と第2端子金具が弾性接触片の弾性変位方向へ位置ずれした状態で接続された場合には、一対の弾性接触片がタブを挟み込んだ状態で変位することによって、位置ずれが吸収される。一対の弾性接触片はクリップによって一体的に変位するので、弾性接触片とタブとの間の接触圧は、所期の値に保持される。クリップは、第1端子金具又は第2端子金具に設けられているので、第1コネクタと電気接続箱との間に位置ずれ吸収部材を介在させる必要がない。したがって、筐体の大型化を回避することができる。
【0010】
(2)前記一対の弾性接触片は、前記タブの挿入方向と同じ方向へ片持ち状に延出した形状であり、前記クリップは、基部と、前記基部から前記タブの挿入方向とは反対側へ片持ち状に延出した一対の挟持部とを有し、前記基部は、前記一対の弾性接触片の延出端よりも延出方向前方に位置し、前記一対の挟持部は、前記一対の弾性接触片を挟むように配置されていることが好ましい。この構成によれば、タブとクリップが干渉することを防止できる。
(【0011】以降は省略されています)
この特許をJ-PlatPat(特許庁公式サイト)で参照する
関連特許
日本発條株式会社
積層体
20日前
個人
フレキシブル電気化学素子
9日前
ローム株式会社
半導体装置
16日前
ローム株式会社
半導体装置
18日前
個人
防雪防塵カバー
20日前
株式会社ユーシン
操作装置
9日前
ローム株式会社
半導体装置
18日前
ローム株式会社
半導体装置
11日前
日新イオン機器株式会社
イオン源
5日前
ローム株式会社
半導体装置
18日前
オムロン株式会社
電磁継電器
10日前
株式会社ホロン
冷陰極電子源
16日前
株式会社GSユアサ
蓄電装置
16日前
株式会社ホロン
冷陰極電子源
3日前
太陽誘電株式会社
全固体電池
16日前
個人
半導体パッケージ用ガラス基板
19日前
株式会社GSユアサ
蓄電設備
9日前
株式会社GSユアサ
蓄電設備
9日前
太陽誘電株式会社
コイル部品
9日前
株式会社GSユアサ
蓄電装置
20日前
サクサ株式会社
電池の固定構造
9日前
トヨタ自動車株式会社
二次電池
20日前
トヨタ自動車株式会社
バッテリ
10日前
ノリタケ株式会社
熱伝導シート
9日前
日本特殊陶業株式会社
保持装置
18日前
ローム株式会社
電子装置
20日前
日東電工株式会社
積層体
10日前
日本特殊陶業株式会社
保持装置
16日前
日本特殊陶業株式会社
保持装置
20日前
日本特殊陶業株式会社
保持装置
16日前
TDK株式会社
電子部品
16日前
トヨタ自動車株式会社
蓄電装置
9日前
矢崎総業株式会社
コネクタ
23日前
日本特殊陶業株式会社
電極
16日前
日本特殊陶業株式会社
電極
16日前
ベストテック株式会社
装置支持具
9日前
続きを見る
他の特許を見る