TOP
|
特許
|
意匠
|
商標
特許ウォッチ
Twitter
他の特許を見る
公開番号
2025152787
公報種別
公開特許公報(A)
公開日
2025-10-10
出願番号
2024054861
出願日
2024-03-28
発明の名称
圧縮機
出願人
株式会社富士通ゼネラル
代理人
弁理士法人酒井国際特許事務所
主分類
F04B
39/00 20060101AFI20251002BHJP(液体用容積形機械;液体または圧縮性流体用ポンプ)
要約
【課題】圧縮機本体容器からアキュムレータ容器にアキュムレータ接続管を介して伝わる振動を小さくする。
【解決手段】圧縮機は、冷媒を圧縮する圧縮部と、圧縮部を駆動するモータと、圧縮部及び前記モータを内部に収容する圧縮機本体容器と、圧縮部に冷媒を導入するように圧縮機本体容器に接続されるアキュムレータ容器と、を備える。アキュムレータ容器は、圧縮機本体容器に接続されるアキュムレータ接続管を有する。アキュムレータ接続管は、アキュムレータ容器の外側にアキュムレータ接続管が露出する露出部を有する。アキュムレータ容器には、露出部の長さをアキュムレータ接続管の外径の1/2倍以上短くする調整部が設けられる。
【選択図】図3
特許請求の範囲
【請求項1】
冷媒を圧縮する圧縮部と、前記圧縮部を駆動するモータと、前記圧縮部及び前記モータを内部に収容する圧縮機本体容器と、
前記圧縮部に冷媒を導入するように前記圧縮機本体容器に接続されるアキュムレータ容器と、を備え、
前記アキュムレータ容器は、前記圧縮機本体容器に接続されるアキュムレータ接続管を有し、
前記アキュムレータ接続管は、前記アキュムレータ容器の外側に当該アキュムレータ接続管が露出する露出部を有し、
前記アキュムレータ容器には、前記露出部の長さを前記アキュムレータ接続管の外径の1/2倍以上短くする調整部が設けられる、圧縮機。
続きを表示(約 700 文字)
【請求項2】
前記アキュムレータ容器は、前記アキュムレータ接続管が貫通する貫通穴と、前記貫通穴から前記アキュムレータ容器の外側に延ばされて前記アキュムレータ接続管を保持する筒状部材と、有し、
前記調整部は、前記筒状部材を含む、
請求項1に記載の圧縮機。
【請求項3】
前記アキュムレータ接続管は、第1アキュムレータ接続管と、前記第1アキュムレータ接続管よりも前記露出部の長さが長い第2アキュムレータ接続管と、を含み、
前記調整部は、前記第2アキュムレータ接続管に設けられる、
請求項1に記載の圧縮機。
【請求項4】
前記第1アキュムレータ接続管には、他の前記調整部が設けられ、
前記第2アキュムレータ接続管の前記調整部の長さは、前記第1アキュムレータ接続管の他の前記調整部よりも長い、
請求項3に記載の圧縮機。
【請求項5】
前記アキュムレータ容器は、前記第1アキュムレータ接続管が貫通する第1貫通穴と、前記第2アキュムレータ接続管が貫通する第2貫通穴と、前記第2貫通穴の周囲が前記第1貫通穴よりも下方へ膨出された膨出部と、を有し、
前記調整部は、前記膨出部を含む、
請求項3に記載の圧縮機。
【請求項6】
前記アキュムレータ接続管は、銅、または銅を主成分とする合金によって形成されている、
請求項1に記載の圧縮機。
【請求項7】
前記筒状部材は、鉄、または鉄を主成分とする合金によって形成されている、
請求項2に記載の圧縮機。
発明の詳細な説明
【技術分野】
【0001】
本発明は、圧縮機に関する。
続きを表示(約 1,700 文字)
【背景技術】
【0002】
圧縮機としては、冷媒を圧縮する圧縮部と、圧縮部を駆動するモータと、圧縮部及びモータを内部に収容する圧縮機本体容器と、圧縮部に冷媒を導入するように圧縮機本体容器に接続されるアキュムレータ容器と、を備えるものが知られている。この種の圧縮機におけるアキュムレータ容器は、アキュムレータ容器から延ばされて圧縮機本体容器に接続されるアキュムレータ接続管と、アキュムレータ接続管が貫通する貫通穴と、を有する。
【先行技術文献】
【特許文献】
【0003】
特開2016-50684号公報
【発明の概要】
【発明が解決しようとする課題】
【0004】
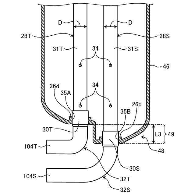
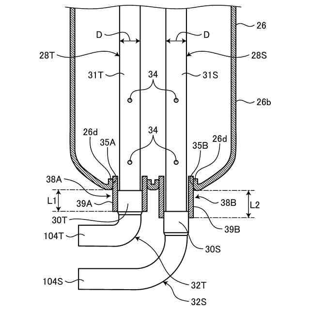
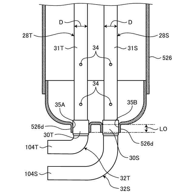
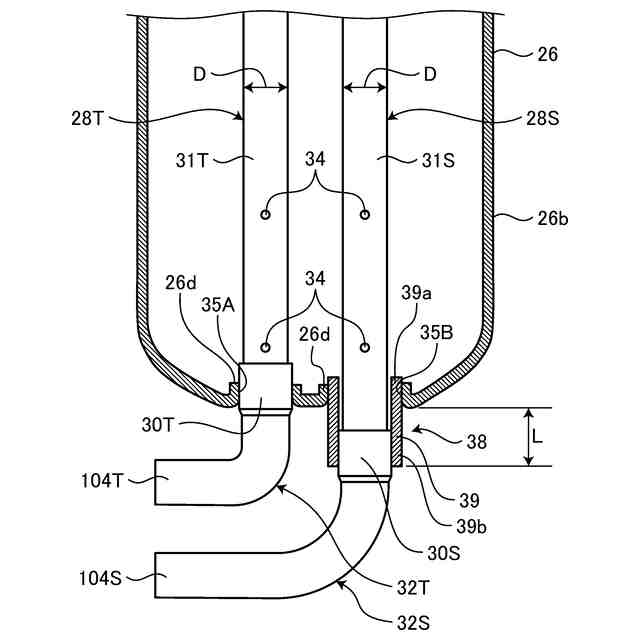
上述したアキュムレータ容器のアキュムレータ接続管は、アキュムレータ容器の外側にアキュムレータ接続管が露出する露出部を有しており、圧縮機本体容器に生じた振動が露出部を介してアキュムレータ容器に伝わる問題がある。このため、アキュムレータ接続管の露出部の長さを短くし、露出部の剛性を高めることにより、圧縮機本体容器からアキュムレータ容器に伝わる振動を小さくすることが考えられる。
【0005】
特に2シリンダ型の圧縮機の場合、2つのアキュムレータ接続管を配置するために、一方のアキュムレータ接続管よりも他方のアキュムレータ接続管の露出部の長さが長くなる。露出部の長さが長い一方のアキュムレータ接続管は、他方のアキュムレータ接続管と比べて露出部の剛性が低いので、この一方のアキュムレータ接続管の露出部を介して圧縮機本体容器からアキュムレータ容器に振動が伝わりやすい。そのため、圧縮機の運転時におけるモータの回転数の範囲内でアキュムレータ容器の振動が問題となりやすい。
【0006】
アキュムレータ接続管の露出長さを短くするため、例えば、バーリング加工によってアキュムレータ容器の貫通穴の周囲に、アキュムレータ容器の外側に向かって立ち上がるように筒状部(バーリング部)を形成することが考えられる。しかし、この場合、筒状部が立ち上がる長さを、アキュムレータ接続管の管径以上に大きくすると、筒状部の肉厚が薄くなり、機械的強度を十分に確保できず、貫通穴に通されたアキュムレータ接続管を適切に固定できない。
【0007】
開示の技術は、上記に鑑みてなされたものであって、圧縮機本体容器からアキュムレータ容器にアキュムレータ接続管を介して伝わる振動を小さくできる圧縮機を提供することを目的とする。
【課題を解決するための手段】
【0008】
本願の開示する圧縮機の一態様は、冷媒を圧縮する圧縮部と、圧縮部を駆動するモータと、圧縮部及びモータを内部に収容する圧縮機本体容器と、圧縮部に冷媒を導入するように圧縮機本体容器に接続されるアキュムレータ容器と、を備える。アキュムレータ容器は、圧縮機本体容器に接続されるアキュムレータ接続管を有する。アキュムレータ接続管は、アキュムレータ容器の外側にアキュムレータ接続管が露出する露出部を有する。アキュムレータ容器には、露出部の長さをアキュムレータ接続管の外径の1/2倍以上短くする調整部が設けられる。
【発明の効果】
【0009】
本願の開示する圧縮機の一態様によれば、圧縮機本体容器からアキュムレータ容器にアキュムレータ接続管を介して伝わる振動を小さくできる。
【図面の簡単な説明】
【0010】
図1は、実施例1の圧縮機を示す縦断面図である。
図2は、実施例1の圧縮機の圧縮部を示す分解斜視図である。
図3は、実施例1の圧縮機におけるアキュムレータ容器の要部を示す縦断面図である。
図4は、比較例の圧縮機におけるアキュムレータ容器の要部を示す縦断面図である。
図5は、実施例2の圧縮機におけるアキュムレータ容器の要部を示す縦断面図である。
図6は、実施例3の圧縮機におけるアキュムレータ容器の要部を示す縦断面図である。
【発明を実施するための形態】
(【0011】以降は省略されています)
この特許をJ-PlatPat(特許庁公式サイト)で参照する
関連特許
個人
海流製造装置。
1か月前
株式会社スギノマシン
圧縮機
9日前
株式会社ツインバード
送風装置
29日前
株式会社ツインバード
送風装置
29日前
カヤバ株式会社
電動ポンプ
2か月前
日機装株式会社
遠心ポンプ
1日前
株式会社不二越
蓄圧装置
2か月前
ビッグボーン株式会社
送風装置
1か月前
株式会社ノーリツ
ロータリ圧縮機
1か月前
株式会社酉島製作所
ポンプ
3か月前
株式会社不二越
ベーンポンプ
2か月前
小倉クラッチ株式会社
ルーツブロア
2か月前
株式会社坂製作所
スクロール圧縮機
3か月前
樫山工業株式会社
真空ポンプ
10日前
株式会社ノーリツ
ロータリー圧縮機
3か月前
サンデン株式会社
スクロール圧縮機
15日前
サンデン株式会社
スクロール圧縮機
15日前
サンデン株式会社
スクロール圧縮機
15日前
エドワーズ株式会社
真空ポンプ
23日前
株式会社チロル
送風機、送風機付衣服
1か月前
株式会社島津製作所
真空ポンプ
1か月前
株式会社島津製作所
真空ポンプ
29日前
株式会社豊田自動織機
流体機械
1か月前
株式会社アイシン
ポンプケース
22日前
株式会社ナノバブル研究所
気液駆動装置
23日前
NTN株式会社
電動オイルポンプ
16日前
株式会社豊田自動織機
電動圧縮機
3か月前
株式会社豊田自動織機
電動圧縮機
1か月前
株式会社豊田自動織機
電動圧縮機
1か月前
株式会社豊田自動織機
電動圧縮機
1か月前
已久工業股ふん有限公司
空気圧縮機構造
2か月前
株式会社豊田自動織機
電動圧縮機
2か月前
株式会社豊田自動織機
遠心圧縮機
4か月前
株式会社豊田自動織機
電動圧縮機
1か月前
株式会社豊田自動織機
電動圧縮機
1か月前
株式会社豊田自動織機
電動圧縮機
2か月前
続きを見る
他の特許を見る