TOP
|
特許
|
意匠
|
商標
特許ウォッチ
Twitter
他の特許を見る
10個以上の画像は省略されています。
公開番号
2025153145
公報種別
公開特許公報(A)
公開日
2025-10-10
出願番号
2024055461
出願日
2024-03-29
発明の名称
運転支援装置
出願人
株式会社アドヴィックス
,
トヨタ自動車株式会社
代理人
個人
,
個人
主分類
B60W
30/00 20060101AFI20251002BHJP(車両一般)
要約
【課題】オフロードでの車両の走破性を高めることができるようにすること。
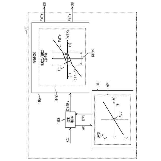
【解決手段】運転支援装置60は、機能部として、加速度特性マップMP1を記憶する記憶部101と、加速度特性マップMP1に基づいて、アクセル開度ACに応じた車両の加速度DVSを要求加速度DVSRqとして導出する要求導出部103と、要求加速度DVSRqに基づいた指令値を、駆動装置20及び制動装置30に送信する指令処理部105と、を備えている。指令処理部105は、要求加速度DVSRqが加速度範囲RDVSに含まれる場合に、指令駆動力FdTr及び指令制動力FbTrの何れもが0(零)よりも大きいこと、及び、指令駆動力FdTrと指令制動力FbTrとの差が要求加速度DVSRqに応じた値であることを満たすように、指令駆動力FdTr及び指令制動力FbTrを導出する。
【選択図】図2
特許請求の範囲
【請求項1】
車両の加速度を調整するために操作される操作部材と、前記車両の駆動力を調整する駆動装置と、前記車両の制動力を調整する制動装置と、を備える車両に適用され、
前記操作部材の操作量と前記車両の加速度との関係を示す加速度特性を記憶する記憶部と、
前記加速度特性に基づいて、前記操作量に応じた前記車両の加速度を要求加速度として導出する要求導出部と、
前記要求加速度に応じた指令値を、前記駆動装置及び前記制動装置に送信する指令処理部と、を備え、
前記指令処理部は、前記要求加速度が所定の加速度範囲に含まれる場合に、前記駆動力の指令値及び前記制動力の指令値の何れもが0(零)よりも大きいこと、及び、前記駆動力の指令値と前記制動力の指令値との差が前記要求加速度に応じた値であることを満たすように、前記駆動力の指令値及び前記制動力の指令値を導出する
運転支援装置。
続きを表示(約 290 文字)
【請求項2】
前記加速度範囲は、0(零)を含む前記車両の加速度の範囲であり、
前記指令処理部は、
前記要求加速度が前記加速度範囲に含まれるとともに、当該要求加速度が0(零)よりも大きい場合には、前記駆動力の指令値が前記制動力の指令値よりも大きくなるように、前記駆動力の指令値及び前記制動力の指令値を導出し、
前記要求加速度が前記加速度範囲に含まれるとともに、当該要求加速度が0(零)よりも小さい場合には、前記制動力の指令値が前記駆動力の指令値よりも大きくなるように、前記駆動力の指令値及び前記制動力の指令値を導出する
請求項1に記載の運転支援装置。
発明の詳細な説明
【技術分野】
【0001】
本発明は、車両の運転者による車両の運転を支援する運転支援装置に関する。
続きを表示(約 1,900 文字)
【背景技術】
【0002】
特許文献1は、車両がオフロードを走行する際に車輪の制動力を調整するトラクション制御装置の一例を開示している。
【先行技術文献】
【特許文献】
【0003】
特開2004-90886号公報
【発明の概要】
【発明が解決しようとする課題】
【0004】
オフロードでの車両の走破性を高めるための車両の運転の技術として、アクセルペダルとブレーキペダルとの双方を同時に操作する同時操作が知られている。同時操作は、右足でアクセルペダルを操作しつつ左足でブレーキペダルを操作する運転技術である。運転者は、同時操作を行うことによって車両の駆動力と制動力とを同時に調整できる。しかし、車両にオフロードを走行させるに際して、車両の運転の上手な上級運転者は同時操作を行うことは可能であるものの、上級運転者以外の運転者では同時操作を行うことが困難である。
【課題を解決するための手段】
【0005】
上記課題を解決するための運転支援装置は、車両の加速度を調整するために操作される操作部材と、前記車両の駆動力を調整する駆動装置と、前記車両の制動力を調整する制動装置と、を備える車両に適用される。当該運転支援装置は、前記操作部材の操作量と前記車両の加速度との関係を示す加速度特性を記憶する記憶部と、前記加速度特性に基づいて、前記操作量に応じた前記車両の加速度を要求加速度として導出する要求導出部と、前記要求加速度に応じた指令値を、前記駆動装置及び前記制動装置に送信する指令処理部と、を備えている。前記指令処理部は、前記要求加速度が所定の加速度範囲に含まれる場合に、前記駆動力の指令値及び前記制動力の指令値の何れもが0(零)よりも大きいこと、及び、前記駆動力の指令値と前記制動力の指令値との差が前記要求加速度に応じた値であることを満たすように、前記駆動力の指令値及び前記制動力の指令値を導出する。
【発明の効果】
【0006】
上記運転支援装置は、オフロードでの車両の走破性を高めることができるという効果を奏する。
【図面の簡単な説明】
【0007】
図1は、実施形態の運転支援装置を備える車両の概略を示す構成図である。
図2は、図1の運転支援装置の機能構成を示すブロック図である。
図3は、図1の運転支援装置の処理回路が実行する一連の処理を示すフローチャートである。
図4は、登坂路で停止している車両を発進させる様子を示す模式図である。
図5は、登坂路で停止している車両を発進させる際のタイミングチャートである。
図6は、降坂路で車両を停止させる様子を示す模式図である。
図7は、降坂路で車両を停止させる際のタイミングチャートである。
図8は、図2に示した加速度特性マップの変更例を示す図である。
図9は、加減速操作モード専用の操作部材を車両が備えている場合における加速度特性マップの一例を示す図である。
【発明を実施するための形態】
【0008】
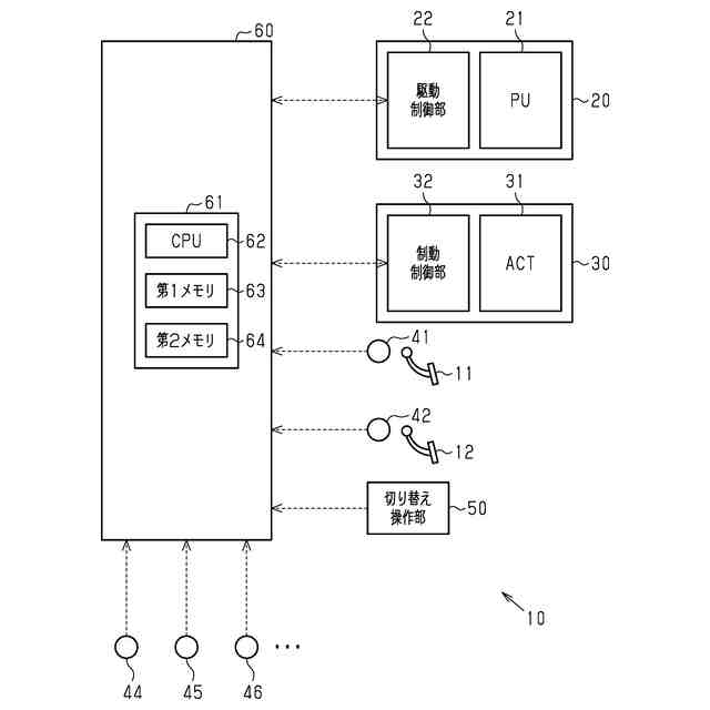
以下、運転支援装置の一実施形態を図1から図7に従って説明する。
<車両の概略構成>
図1は、運転支援装置60を備える車両10の概略を示している。車両10は、アクセルペダル11と、ブレーキペダル12と、駆動装置20と、制動装置30と、複数種類のセンサと、切り替え操作部50と、を備えている。
【0009】
駆動装置20は車両10の駆動力Fdを調整する。駆動装置20は、パワーユニット21と、パワーユニット21を制御する駆動制御部22と、を備えている。パワーユニット21は、エンジン及び駆動モータのうち少なくとも1つを有している。駆動制御部22の一例は電子制御装置である。駆動制御部22は、パワーユニット21を作動させることによって車両10の駆動力Fdを制御する。また、駆動制御部22は、車内ネットワークを介して運転支援装置60と各種の情報及び指令を送受信できるように構成されている。
【0010】
制動装置30は車両10の制動力Fbを調整する。制動装置30は、制動アクチュエータ31と、制動アクチュエータ31を制御する制動制御部32と、を備えている。制動制御部32の一例は電子制御装置である。制動制御部32は、制動アクチュエータ31を作動させることによって車両10の制動力Fbを制御する。また、制動制御部32は、車内ネットワークを介して運転支援装置60と各種の情報及び指令を送受信できるように構成されている。
(【0011】以降は省略されています)
この特許をJ-PlatPat(特許庁公式サイト)で参照する
関連特許
個人
カーテント
4か月前
個人
タイヤレバー
2か月前
個人
前輪キャスター
1か月前
個人
上部一体型自動車
10日前
個人
ホイルのボルト締結
3か月前
個人
車輪清掃装置
4か月前
個人
タイヤ脱落防止構造
1か月前
個人
ルーフ付きトライク
2か月前
井関農機株式会社
作業車両
4か月前
日本精機株式会社
表示装置
1か月前
個人
マスタシリンダ
17日前
日本精機株式会社
表示装置
2か月前
個人
車両通過構造物
2か月前
井関農機株式会社
作業車両
4か月前
日本精機株式会社
表示装置
2か月前
日本精機株式会社
表示装置
2か月前
個人
キャンピングトライク
3か月前
個人
キャンピングトレーラー
3か月前
個人
車両用スリップ防止装置
3か月前
個人
ワイパーゴム性能保持具
4か月前
個人
乗合路線バスの客室装置
2か月前
個人
アクセルのソフトウェア
3か月前
日本精機株式会社
車載表示装置
3か月前
日本精機株式会社
車室演出装置
1か月前
株式会社ニフコ
収納装置
1か月前
株式会社豊田自動織機
産業車両
2か月前
個人
円湾曲ホイール及び球体輪
2か月前
日本精機株式会社
画像投映装置
6日前
株式会社ニフコ
保持装置
3か月前
株式会社ニフコ
照明装置
1か月前
個人
車載小物入れ兼雨傘収納具
3か月前
日本精機株式会社
車載表示装置
25日前
個人
音声ガイド、音声サービス
2か月前
日本精機株式会社
車両用表示装置
6日前
日本精機株式会社
車両用投影装置
24日前
日本精機株式会社
車両用投影装置
4か月前
続きを見る
他の特許を見る