TOP
|
特許
|
意匠
|
商標
特許ウォッチ
Twitter
他の特許を見る
公開番号
2025153670
公報種別
公開特許公報(A)
公開日
2025-10-10
出願番号
2024056264
出願日
2024-03-29
発明の名称
電動ポンプ
出願人
ニデックパワートレインシステムズ株式会社
代理人
個人
,
個人
,
個人
,
個人
主分類
F04C
15/00 20060101AFI20251002BHJP(液体用容積形機械;液体または圧縮性流体用ポンプ)
要約
【課題】モータ部の冷却効率を高めることができる電動ポンプを提供する。
【解決手段】本発明の電動ポンプの一つの態様は、中心軸線を中心として回転可能なシャフトを有するモータ部と、シャフトの軸方向一方側の端部に連結され、モータ部の動力により駆動されて流体を圧送するポンプ部と、モータ部、およびポンプ部を収容するハウジングと、を備える。ハウジングには、モータ部を配置するモータ室と、ポンプ部を配置するポンプ室と、流体をポンプ室からモータ室に流入させる供給経路と、流体をモータ室からポンプ室に戻す戻し経路と、が設けられる。シャフトは、第1開口部においてモータ室に開口し第2開口部においてポンプ室に開口する中空部を有する。ポンプ部は、外部から流体を吸い込む吸入口と、流体を外部に吐出する吐出口と、を有する。ハウジングは、第2開口部と吸入口とを繋ぐ流路部を有する。戻し経路は、中空部、および流路部に設けられる。
【選択図】図1
特許請求の範囲
【請求項1】
中心軸線を中心として回転可能なシャフトを有するモータ部と、
前記シャフトの軸方向一方側の端部に連結され、前記モータ部の動力により駆動されて流体を圧送するポンプ部と、
前記モータ部、および前記ポンプ部を収容するハウジングと、を備え、
前記ハウジングには、
前記モータ部を配置するモータ室と、
前記ポンプ部を配置するポンプ室と、
前記流体を前記ポンプ室から前記モータ室に流入させる供給経路と、
前記流体を前記モータ室から前記ポンプ室に戻す戻し経路と、が設けられ、
前記シャフトは、第1開口部において前記モータ室に開口し第2開口部において前記ポンプ室に開口する中空部を有し、
前記ポンプ部は、
外部から前記流体を吸い込む吸入口と、
前記流体を外部に吐出する吐出口と、を有し、
前記ハウジングは、前記第2開口部と前記吸入口とを繋ぐ流路部を有し、
前記戻し経路は、前記中空部、および前記流路部に設けられる、
電動ポンプ。
続きを表示(約 1,100 文字)
【請求項2】
前記ハウジングは、前記ポンプ室を軸方向一方側から覆う内壁面を有し、
前記内壁面には、
前記第2開口部に対向する第1凹部と、
前記第1凹部の径方向外側に位置し前記吸入口に繋がる第2凹部と、
径方向に沿って延びて前記第1凹部と前記第2凹部とを繋ぐ第1溝部と、が設けられ、
前記流路部は、前記第1凹部、前記第2凹部、および前記第1溝部を有する、
請求項1に記載の電動ポンプ。
【請求項3】
前記第1溝部と前記第2凹部との接続部は、前記第1溝部における前記吸入口の開口部よりも下側に位置する、
請求項2に記載の電動ポンプ。
【請求項4】
前記ポンプ部は、前記吐出口に繋がり前記流体を圧送する圧縮室を有し、
前記供給経路は、前記圧縮室に接続される、
請求項1に記載の電動ポンプ。
【請求項5】
前記ハウジングは、軸方向と交差する方向に延びて前記モータ室と前記ポンプ室とを隔てる底壁部を有し、
前記底壁部には、軸方向に延びて前記モータ室と前記ポンプ室とを繋ぐシャフト支持孔が設けられ、
前記シャフト支持孔は、内周面において前記シャフトを回転可能に支持し、
前記供給経路の少なくとも一部は、前記シャフト支持孔の内周面と前記シャフトの外周面との間に設けられる、
請求項4に記載の電動ポンプ。
【請求項6】
前記底壁部の軸方向一方側を向く面には、
前記圧縮室の内壁部の少なくとも一部を構成する第3凹部と、
前記第3凹部と前記シャフト支持孔の内周面とを繋ぐ第2溝部と、が設けられ、
前記供給経路の少なくとも一部は、前記第2溝部の内部に設けられる、
請求項5に記載の電動ポンプ。
【請求項7】
前記ハウジングは、
前記モータ部を径方向外側から囲む筒状部と、
前記筒状部の軸方向他方側の端部に連結され前記筒状部の軸方向他方側の開口を覆う蓋部と、を有し、
前記供給経路の少なくとも一部は、前記筒状部と前記蓋部との間の隙間に設けられる、請求項5に記載の電動ポンプ。
【請求項8】
前記ポンプ室に配置され前記モータ部を制御する制御部を備え、
前記制御部の少なくとも一部は、前記第1開口部よりも下側に位置する、
請求項1に記載の電動ポンプ。
【請求項9】
前記制御部は、前記第1開口部と軸方向に対向する、
請求項8に記載の電動ポンプ。
【請求項10】
前記戻し経路の流路断面積は、前記供給経路の流路断面積よりも大きい、
請求項1~9の何れか一項に記載の電動ポンプ。
発明の詳細な説明
【技術分野】
【0001】
本発明は、電動ポンプに関する。
続きを表示(約 1,600 文字)
【背景技術】
【0002】
従来、ポンプ部と、ポンプ部を回転させるモータとを備えた電動ポンプでは、モータの温度上昇が問題となることがあった。特許文献1には、モータに供給された流体をシャフトの中空部を通して再びポンプ部に戻す電動ポンプが開示されている。
【先行技術文献】
【特許文献】
【0003】
特表2022-539958号公報
【発明の概要】
【発明が解決しようとする課題】
【0004】
従来の電動ポンプでは、中空シャフトの中空部がポンプ部の吐出口に繋がっていた。吐出口では流体の圧力が高まっている。このため、従来構造では流体がポンプ部に戻りにくく、流体の循環が円滑に行われにくいという問題があった。
【0005】
本発明の一つの態様は、上記事情に鑑みて、モータ部の冷却効率を高めることができる電動ポンプを提供することを目的の一つとする。
【課題を解決するための手段】
【0006】
本発明の電動ポンプの一つの態様は、中心軸線を中心として回転可能なシャフトを有するモータ部と、前記シャフトの軸方向一方側の端部に連結され、前記モータ部の動力により駆動されて流体を圧送するポンプ部と、前記モータ部、および前記ポンプ部を収容するハウジングと、を備える。前記ハウジングには、前記モータ部を配置するモータ室と、前記ポンプ部を配置するポンプ室と、前記流体を前記ポンプ室から前記モータ室に流入させる供給経路と、前記流体を前記モータ室から前記ポンプ室に戻す戻し経路と、が設けられる。前記シャフトは、第1開口部において前記モータ室に開口し第2開口部において前記ポンプ室に開口する中空部を有する。前記ポンプ部は、外部から前記流体を吸い込む吸入口と、前記流体を外部に吐出する吐出口と、を有する。前記ハウジングは、前記第2開口部と前記吸入口とを繋ぐ流路部を有する。前記戻し経路は、前記中空部、および前記流路部に設けられる。
【発明の効果】
【0007】
本発明の一つの態様によれば、モータ部の冷却効率を高めることができる電動ポンプを提供することができる。
【図面の簡単な説明】
【0008】
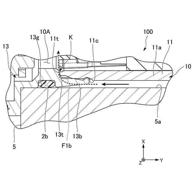
図1は、一実施形態の電動ポンプの断面図である。
図2は、一実施形態の底壁部の第1対向面の正面図である。
図3は、一実施形態のポンプカバーの第2対向面(内側面)の正面図である。
図4は、一実施形態の電動ポンプの部分断面図である。
【発明を実施するための形態】
【0009】
以下の説明において図には、XYZ座標系を示す。Y軸は、以下に説明する実施形態の中心軸線Jが延びる方向を示している。各図に示す中心軸線Jは、仮想軸線である。以下の説明では、中心軸線Jが延びる方向、つまりY軸と平行な方向を「軸方向」と呼ぶ。軸方向YのうちY軸の矢印が向く側(+Y側)は軸方向一方側であり、軸方向YのうちY軸の矢印が向く側と逆側(-Y側)は軸方向他方側である。中心軸線Jを中心とする径方向を単に「径方向」と呼ぶ。中心軸線Jを中心とする周方向を単に「周方向」と呼ぶ。また、Z軸は、一実施形態の電動ポンプ100が取り付けられた状態における上下方向を示す。上下方向ZのうちZ軸の矢印が向く側(+Z側)は上側であり、上下方向ZのうちZ軸の矢印が向く側と逆側(-Z側)は下側である。X軸は、軸方向Yおよび上下方向Zの両方と直交する方向を示す。
【0010】
なお、以下に説明する上下方向Zに対する電動ポンプ100の姿勢は一例であり、実際の配置関係等は、これらの名称で示される配置関係等以外の配置関係等であってもよい。
(【0011】以降は省略されています)
この特許をJ-PlatPat(特許庁公式サイト)で参照する
関連特許
個人
海流製造装置。
1か月前
株式会社スギノマシン
圧縮機
9日前
株式会社ツインバード
送風装置
29日前
株式会社ツインバード
送風装置
29日前
日機装株式会社
遠心ポンプ
1日前
カヤバ株式会社
電動ポンプ
2か月前
ビッグボーン株式会社
送風装置
1か月前
株式会社不二越
蓄圧装置
2か月前
株式会社酉島製作所
ポンプ
3か月前
株式会社ノーリツ
ロータリ圧縮機
1か月前
小倉クラッチ株式会社
ルーツブロア
2か月前
サンデン株式会社
スクロール圧縮機
15日前
株式会社ノーリツ
ロータリー圧縮機
3か月前
株式会社坂製作所
スクロール圧縮機
3か月前
サンデン株式会社
スクロール圧縮機
15日前
サンデン株式会社
スクロール圧縮機
15日前
株式会社不二越
ベーンポンプ
2か月前
樫山工業株式会社
真空ポンプ
10日前
株式会社島津製作所
真空ポンプ
29日前
株式会社チロル
送風機、送風機付衣服
1か月前
エドワーズ株式会社
真空ポンプ
23日前
株式会社島津製作所
真空ポンプ
1か月前
株式会社アイシン
ポンプケース
22日前
株式会社豊田自動織機
流体機械
1か月前
株式会社豊田自動織機
電動圧縮機
1か月前
已久工業股ふん有限公司
空気圧縮機構造
2か月前
株式会社豊田自動織機
電動圧縮機
2か月前
株式会社豊田自動織機
電動圧縮機
3か月前
株式会社豊田自動織機
電動圧縮機
2か月前
株式会社豊田自動織機
電動圧縮機
1か月前
株式会社豊田自動織機
電動圧縮機
2か月前
株式会社豊田自動織機
電動圧縮機
1か月前
株式会社豊田自動織機
電動圧縮機
1か月前
株式会社ナノバブル研究所
気液駆動装置
23日前
株式会社豊田自動織機
電動圧縮機
1か月前
NTN株式会社
電動オイルポンプ
16日前
続きを見る
他の特許を見る