TOP
|
特許
|
意匠
|
商標
特許ウォッチ
Twitter
他の特許を見る
10個以上の画像は省略されています。
公開番号
2025154038
公報種別
公開特許公報(A)
公開日
2025-10-10
出願番号
2024056816
出願日
2024-03-29
発明の名称
液冷式スクリュ圧縮機
出願人
コベルコ・コンプレッサ株式会社
代理人
個人
,
個人
,
個人
主分類
F04C
18/16 20060101AFI20251002BHJP(液体用容積形機械;液体または圧縮性流体用ポンプ)
要約
【課題】液冷式スクリュ圧縮機の冷却性及びシール性を改善する。
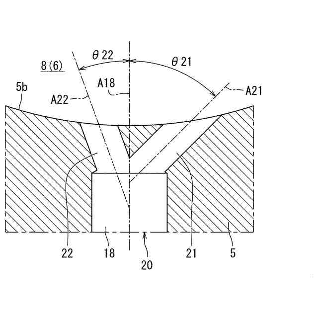
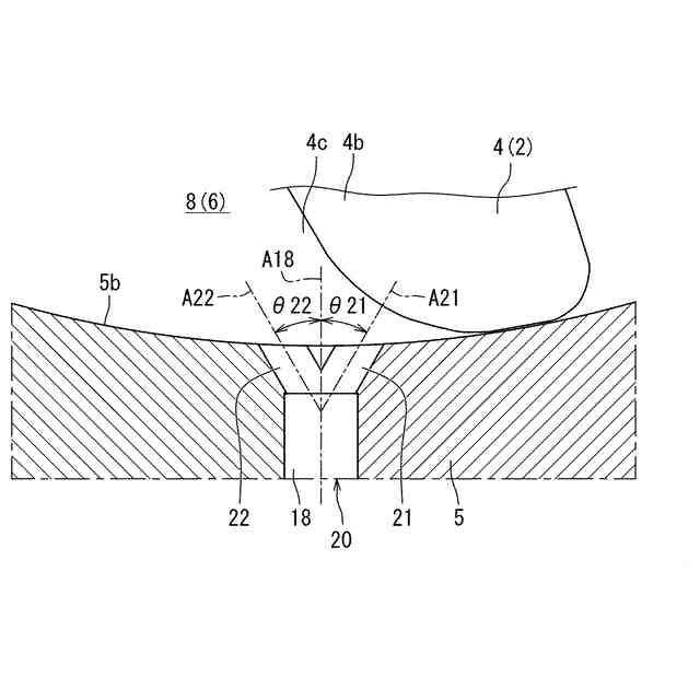
【解決手段】スクリュ圧縮機1が、複数の歯溝4cを有する少なくとも1つのスクリュロータ2と、スクリュロータ2が収容されるロータ室6を有するロータケーシング5と、ロータ室6に液体を供給すべく、ロータケーシング5に設けられた給液路16と、給液路16よりも断面積が小さく、給液路16の液体流れ方向における下流端部に接続され、ロータ室6に開口する複数の給液孔21,22と、を備える。給液路16の下流端部における中心軸を基準軸線A18とする。少なくとも1つの給液孔21,22の中心軸A21,A22が、給液路16との接続部からロータ室6に向かうほど基準軸線A18から遠ざかるようにして基準軸線A18に対して傾斜して延在する。複数の給液孔21,22の中心軸A21,A22が、液体流れ方向における下流側で互いに交差しないように延在する。
【選択図】図7
特許請求の範囲
【請求項1】
複数の歯溝を有する少なくとも1つのスクリュロータと、
前記スクリュロータが収容されるロータ室を有するロータケーシングと、
前記ロータ室に液体を供給すべく、前記ロータケーシングに設けられた給液路と、
前記給液路よりも断面積が小さく、前記給液路の液体流れ方向における下流端部に接続され、前記ロータ室に開口する複数の給液孔と、
を備え、
前記給液路の前記下流端部における中心軸を基準軸線とした場合において、少なくとも1つの前記給液孔の中心軸が、前記給液路との接続部から前記ロータ室に向かうほど前記基準軸線から遠ざかるようにして前記基準軸線に対して傾斜して延在し、且つ前記複数の給液孔の前記中心軸が、前記液体流れ方向における下流側で互いに交差しないように延在する、
液冷式スクリュ圧縮機。
続きを表示(約 660 文字)
【請求項2】
前記複数の給液孔の前記中心軸が全て、前記基準軸線に対して傾斜して延在する、
請求項1に記載の液冷式スクリュ圧縮機。
【請求項3】
少なくとも1つの前記給液孔の中心軸が、前記基準軸線から前記基準軸線の軸直交方向に離れた位置で前記基準軸線と平行に延在する、
請求項1に記載の液冷式スクリュ圧縮機。
【請求項4】
前記ロータケーシングが、前記ロータ室に開口し且つ前記給液路に連通する取付穴を有し、
前記給液孔は、前記ロータケーシングとは別体であり且つ前記取付穴に装着されたノズル部材に形成されている、
請求項1から3のいずれか1項に記載の液冷式スクリュ圧縮機。
【請求項5】
前記給液路が、前記液体流れ方向の上流側部分を構成する共通部と、前記共通部から分岐して前記下流端部を構成する複数の分岐部とを含み、
前記ロータケーシングには、1つの前記分岐部とこれに接続された前記複数の給液孔とで1組を成す複数組のノズル構造が設けられている、
請求項1から3のいずれか1項に記載の液冷式スクリュ圧縮機。
【請求項6】
前記複数組のノズル構造が、前記スクリュロータの異なる歯溝に前記液体を供給する、
請求項5に記載の液冷式スクリュ圧縮機。
【請求項7】
前記複数組のノズル構造が、前記スクリュロータの同じ歯溝に前記液体を供給する、
請求項5に記載の液冷式スクリュ圧縮機。
発明の詳細な説明
【技術分野】
【0001】
本発明は、液冷式スクリュ圧縮機に関する。
続きを表示(約 1,200 文字)
【背景技術】
【0002】
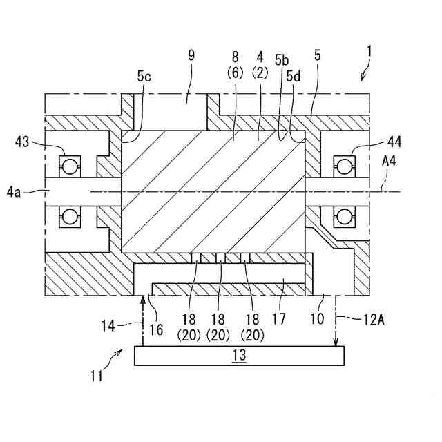
特許文献1は、一対のスクリュロータが収容されるロータ室を有するロータケーシングを備えた液冷式スクリュ圧縮機を開示している。冷却及びシールのため、ロータケーシングには、ロータ室に液体を噴射する給液孔が設けられている。給液孔は、給液ラインからの分岐点からロータ室の中心軸に向かって径方向に延在している。
【先行技術文献】
【特許文献】
【0003】
特開2020-33993号公報
【発明の概要】
【発明が解決しようとする課題】
【0004】
給液孔が上記のように配置されると、ロータ室に噴射された液体が圧縮空間の全体に行き渡りにくい。液冷式スクリュ圧縮機の冷却性及びシール性には、改善の余地がある。
【0005】
本発明は、液冷式スクリュ圧縮機の冷却性及びシール性を改善することを課題とする。
【課題を解決するための手段】
【0006】
本発明の一態様は、複数の歯溝を有する少なくとも1つのスクリュロータと、前記スクリュロータが収容されるロータ室を有するロータケーシングと、前記ロータ室に液体を供給すべく、前記ロータケーシングに設けられた給液路と、前記給液路よりも断面積が小さく、前記給液路の液体流れ方向における下流端部に接続され、前記ロータ室に開口する複数の給液孔と、を備え、前記給液路の前記下流端部における中心軸を基準軸線とした場合において、少なくとも1つの前記給液孔の中心軸が、前記給液路との接続部から前記ロータ室に向かうほど前記基準軸線から遠ざかるようにして前記基準軸線に対して傾斜して延在し、且つ前記複数の給液孔の前記中心軸が、前記液体流れ方向における下流側で互いに交差しないように延在する、液冷式スクリュ圧縮機を提供する。
【0007】
上記構成によれば、液体が、給液路から複数の給液孔に分流し、複数の給液孔それぞれからロータ室に供給される。少なくとも1つの給液孔の中心軸が、基準軸線から遠ざかるようにして基準軸線に対して傾斜して延在する。このため、液体が、圧縮空間に広く行き渡る。また、複数の給液孔の中心軸は、下流側で互いに交差しないように延在する。このため、複数の給液孔からロータ室内に供給された液体が、互いに交差又は衝突せず、圧縮空間に広く行き渡る。
【0008】
前記複数の給液孔の前記中心軸が全て、前記基準軸線に対して傾斜して延在してもよい。
【0009】
上記構成によれば、液体が圧縮空間に一層広く行き渡る。
【0010】
少なくとも1つの前記給液孔の中心軸が、前記基準軸線から前記基準軸線の軸直交方向に離れた位置で前記基準軸線と平行に延在してもよい。
(【0011】以降は省略されています)
特許ウォッチbot のツイートを見る
この特許をJ-PlatPat(特許庁公式サイト)で参照する
関連特許
個人
圧縮機
5か月前
個人
海流製造装置。
1か月前
株式会社スギノマシン
圧縮機
10日前
株式会社ツインバード
送風装置
1か月前
ダイニチ工業株式会社
空調装置
4か月前
株式会社ツインバード
送風装置
1か月前
日機装株式会社
遠心ポンプ
2日前
カヤバ株式会社
電動ポンプ
2か月前
株式会社不二越
蓄圧装置
2か月前
ビッグボーン株式会社
送風装置
1か月前
株式会社酉島製作所
ポンプ
5か月前
株式会社ノーリツ
ロータリ圧縮機
1か月前
株式会社酉島製作所
ポンプ
3か月前
個人
携帯型扇風機用の送風ノズル
4か月前
株式会社ニクニ
液封式ポンプ装置
4か月前
株式会社不二越
ベーンポンプ
2か月前
株式会社坂製作所
スクロール圧縮機
3か月前
サンデン株式会社
スクロール圧縮機
16日前
株式会社ノーリツ
ロータリー圧縮機
3か月前
小倉クラッチ株式会社
ルーツブロア
2か月前
サンデン株式会社
スクロール圧縮機
16日前
樫山工業株式会社
真空ポンプ
11日前
株式会社不二越
油圧ユニット
4か月前
サンデン株式会社
スクロール圧縮機
16日前
株式会社島津製作所
真空ポンプ
1か月前
株式会社コスメック
ピストン型ポンプ
4か月前
個人
連結式螺旋翼体及び流体移送装置
4か月前
エドワーズ株式会社
真空ポンプ
24日前
株式会社豊田自動織機
流体機械
1か月前
株式会社アイシン
ポンプケース
23日前
株式会社チロル
送風機、送風機付衣服
1か月前
株式会社島津製作所
真空ポンプ
1か月前
株式会社豊田自動織機
電動圧縮機
1か月前
株式会社豊田自動織機
電動圧縮機
1か月前
株式会社豊田自動織機
電動圧縮機
1か月前
株式会社ナノバブル研究所
気液駆動装置
24日前
続きを見る
他の特許を見る