TOP
|
特許
|
意匠
|
商標
特許ウォッチ
Twitter
他の特許を見る
10個以上の画像は省略されています。
公開番号
2025154286
公報種別
公開特許公報(A)
公開日
2025-10-10
出願番号
2024057201
出願日
2024-03-29
発明の名称
ポンプ
出願人
ニデックパワートレインシステムズ株式会社
代理人
個人
,
個人
,
個人
,
個人
主分類
F04D
29/58 20060101AFI20251002BHJP(液体用容積形機械;液体または圧縮性流体用ポンプ)
要約
【課題】固定シャフトの放熱性を向上できる構造を有するポンプを提供する。
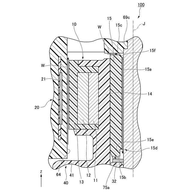
【解決手段】ポンプ100は、中心軸線Jを中心として回転可能なロータ10と、ロータと隙間を介して径方向に対向するステータと、ロータの軸方向一方側に繋がるインペラ部40と、ロータを内部に収容するロータ収容部を有するハウジング50と、軸方向に延び、ロータを回転可能に支持する固定シャフト30と、を備える。ハウジングは、ロータを軸方向一方側から支持するロータ支持部75と、インペラ部を内部に収容し、内部がロータ収容部の内部と繋がるインペラ収容部53と、インペラ収容部の内部に開口する第1吸入口部74aと、を有する。インペラ部は、軸方向一方側に開口する第2吸入口部44を有する。固定シャフトの一部は、第2吸入口部に露出する。
【選択図】図9
特許請求の範囲
【請求項1】
中心軸線を中心として回転可能なロータと、
前記ロータと隙間を介して径方向に対向するステータと、
前記ロータの軸方向一方側に繋がるインペラ部と、
前記ロータを内部に収容するロータ収容部を有するハウジングと、
軸方向に延び、前記ロータを回転可能に支持する固定シャフトと、
を備え、
前記ハウジングは、
前記ロータを軸方向一方側から支持するロータ支持部と、
前記インペラ部を内部に収容し、内部が前記ロータ収容部の内部と繋がるインペラ収容部と、
前記インペラ収容部の内部に開口する第1吸入口部と、
を有し、
前記インペラ部は、軸方向一方側に開口する第2吸入口部を有し、
前記固定シャフトの一部は、前記第2吸入口部に露出する、ポンプ。
続きを表示(約 780 文字)
【請求項2】
前記ロータ支持部は、前記ロータ支持部を軸方向に貫通する貫通孔を有し、
前記固定シャフトの少なくとも一部は、軸方向に見て、前記貫通孔と重なる、請求項1に記載のポンプ。
【請求項3】
前記貫通孔の内径は、前記固定シャフトの外径よりも大きく、
前記固定シャフトの全体は、軸方向に見て、前記貫通孔と重なる、請求項2に記載のポンプ。
【請求項4】
前記固定シャフトの軸方向一方側の端部は、前記貫通孔内に位置する、請求項3に記載のポンプ。
【請求項5】
前記固定シャフトは、前記貫通孔内に通され、
前記固定シャフトの軸方向一方側の端部は、前記貫通孔よりも軸方向一方側に位置する、請求項3に記載のポンプ。
【請求項6】
前記ロータ支持部は、
前記ロータを支持する支持本体部と、
前記支持本体部と前記インペラ収容部の内面とを繋ぐ複数の脚部と、
を有し、
前記貫通孔は、前記支持本体部に設けられる、請求項2に記載のポンプ。
【請求項7】
前記脚部は、前記第1吸入口部の内部に面する曲面を有する、
、請求項6に記載のポンプ。
【請求項8】
前記第2吸入口部は、前記第1吸入口部の軸方向他方側に配置される、請求項1から7のいずれか一項に記載のポンプ。
【請求項9】
前記固定シャフトは、前記固定シャフトのうち前記第2吸入口部に露出する部分に設けられた凹部を有する、請求項1から7のいずれか一項に記載のポンプ。
【請求項10】
前記凹部は、前記固定シャフトの軸方向一方側の端面から軸方向他方側に窪む、請求項9に記載のポンプ。
(【請求項11】以降は省略されています)
発明の詳細な説明
【技術分野】
【0001】
本発明は、ポンプに関する。
続きを表示(約 1,700 文字)
【背景技術】
【0002】
従来、固定シャフトである支軸を軸として回転するロータを備えるポンプが知られている(例えば、特許文献1)。
【先行技術文献】
【特許文献】
【0003】
国際公開第2012/042971号
【発明の概要】
【発明が解決しようとする課題】
【0004】
上記のようなポンプにおいては、固定シャフトとロータとの間に摩擦による熱が生じる問題あった。そのため、上記のようなポンプにおいては、固定シャフトの放熱性の向上が求められていた。
【0005】
本発明は、上記事情に鑑みて、固定シャフトの放熱性を向上できる構造を有するポンプを提供することを目的の一つとする。
【課題を解決するための手段】
【0006】
本発明のポンプの一つの態様は、中心軸線を中心として回転可能なロータと、前記ロータと隙間を介して径方向に対向するステータと、前記ロータの軸方向一方側に繋がるインペラ部と、前記ロータを内部に収容するロータ収容部を有するハウジングと、軸方向に延び、前記ロータを回転可能に支持する固定シャフトと、を備える。前記ハウジングは、前記ロータを軸方向一方側から支持するロータ支持部と、前記インペラ部を内部に収容し、内部が前記ロータ収容部の内部と繋がるインペラ収容部と、前記インペラ収容部の内部に開口する第1吸入口部と、を有する。前記インペラ部は、軸方向一方側に開口する第2吸入口部を有する。前記固定シャフトの一部は、前記第2吸入口部に露出する。
【発明の効果】
【0007】
本発明の一つの態様によれば、ポンプにおいて固定シャフトの放熱性を向上できる。
【図面の簡単な説明】
【0008】
図1は、第1実施形態におけるポンプを示す斜視図である。
図2は、第1実施形態におけるポンプを示す断面図であって、図3におけるII-II断面図である。
図3は、第1実施形態におけるポンプを示す断面図である。
図4は、第1実施形態における軸受部の一部を示す斜視図である。
図5は、第1実施形態におけるポンプの一部を示す断面図である。
図6は、第1実施形態における固定シャフトの一部およびワッシャを示す斜視図である。
図7は、第1実施形態における第2ハウジングおよびインペラ部を示す断面図である。
図8は、第1実施形態における第2ハウジングを示す斜視図である。
図9は、第1実施形態におけるポンプの他の一部を示す断面図である。
図10は、第1実施形態における第1ハウジングと第2ハウジングとを溶着によって互いに固定する手順の一部を示す断面図である。
図11は、第2実施形態におけるポンプの一部を示す断面図である。
図12は、第3実施形態におけるポンプの一部を示す断面斜視図である。
【発明を実施するための形態】
【0009】
各図には、以下に説明する実施形態のポンプにおける中心軸線Jを仮想的に示している。以下の説明においては、中心軸線Jの軸方向を単に「軸方向」と呼び、中心軸線Jを中心とする径方向を単に「径方向」と呼び、中心軸線Jを中心とする周方向を単に「周方向」と呼ぶ。各図に示すZ軸は、中心軸線Jが延びる方向を示している。以下の説明においては、軸方向のうちZ軸の矢印が向く側(+Z側)を「上側」と呼び、軸方向のうちZ軸の矢印が向く側と逆側(-Z側)を「下側」と呼ぶ。
【0010】
以下の実施形態において、下側は「軸方向一方側」に相当し、上側は「軸方向他方側」に相当する。なお、上側および下側とは、単に各部の相対位置関係を説明するための名称であり、実際の配置関係等は、これらの名称で示される配置関係等以外の配置関係等であってもよい。また、図2では、説明のために、中心軸線Jを挟んだ左右両側のそれぞれにおいて異なる周方向位置の断面を示している。
(【0011】以降は省略されています)
この特許をJ-PlatPat(特許庁公式サイト)で参照する
関連特許
個人
海流製造装置。
1か月前
株式会社スギノマシン
圧縮機
9日前
ダイニチ工業株式会社
空調装置
4か月前
株式会社ツインバード
送風装置
29日前
株式会社ツインバード
送風装置
29日前
日機装株式会社
遠心ポンプ
1日前
カヤバ株式会社
電動ポンプ
2か月前
ビッグボーン株式会社
送風装置
1か月前
株式会社不二越
蓄圧装置
2か月前
株式会社ノーリツ
ロータリ圧縮機
1か月前
株式会社酉島製作所
ポンプ
5か月前
株式会社酉島製作所
ポンプ
3か月前
株式会社ニクニ
液封式ポンプ装置
4か月前
個人
携帯型扇風機用の送風ノズル
4か月前
サンデン株式会社
スクロール圧縮機
15日前
株式会社ノーリツ
ロータリー圧縮機
3か月前
株式会社不二越
ベーンポンプ
2か月前
小倉クラッチ株式会社
ルーツブロア
2か月前
株式会社不二越
油圧ユニット
4か月前
サンデン株式会社
スクロール圧縮機
15日前
サンデン株式会社
スクロール圧縮機
15日前
株式会社坂製作所
スクロール圧縮機
3か月前
樫山工業株式会社
真空ポンプ
10日前
株式会社豊田自動織機
流体機械
1か月前
個人
連結式螺旋翼体及び流体移送装置
4か月前
株式会社コスメック
ピストン型ポンプ
4か月前
株式会社アイシン
ポンプケース
22日前
株式会社チロル
送風機、送風機付衣服
1か月前
エドワーズ株式会社
真空ポンプ
23日前
株式会社島津製作所
真空ポンプ
1か月前
株式会社島津製作所
真空ポンプ
29日前
NTN株式会社
電動オイルポンプ
16日前
株式会社豊田自動織機
電動圧縮機
3か月前
株式会社ナノバブル研究所
気液駆動装置
23日前
株式会社豊田自動織機
電動圧縮機
2か月前
已久工業股ふん有限公司
空気圧縮機構造
2か月前
続きを見る
他の特許を見る