TOP
|
特許
|
意匠
|
商標
特許ウォッチ
Twitter
他の特許を見る
10個以上の画像は省略されています。
公開番号
2025155157
公報種別
公開特許公報(A)
公開日
2025-10-14
出願番号
2024058746
出願日
2024-04-01
発明の名称
液晶デバイス、波長選択スイッチ装置、及び、液晶デバイスの画素検査方法
出願人
株式会社JVCケンウッド
代理人
個人
主分類
G09G
3/36 20060101AFI20251006BHJP(教育;暗号方法;表示;広告;シール)
要約
【課題】速やかに画素の検査を実行することが可能な液晶デバイス、波長選択スイッチ装置、及び、液晶デバイスの画素検査方法を提供すること。
【解決手段】本開示に係る液晶デバイスでは、第1の行の各画素は、画素検査モードの場合に、画素駆動電極の電圧を対応する第1データ線に出力する第1スイッチトランジスタをさらに有し、第2の行の各画素は、画素検査モードの場合に、画素駆動電極の電圧を対応する第2データ線に出力する第2スイッチトランジスタをさらに有する。
【選択図】図11
特許請求の範囲
【請求項1】
行列状に設けられた複数の画素と、
前記複数の画素の各列に対応して設けられた複数の第1データ線と、
前記複数の画素の各列に対応して設けられた複数の第2データ線と、
前記複数の第1データ線のそれぞれに正極性の映像信号を供給するか否かを切り替えるとともに、前記複数の第2データ線のそれぞれに負極性の映像信号を供給するか否かを切り替える複数の第1スイッチ素子と、
画素検査モードの場合に、検査対象の第1の行に設けられた複数の前記画素から前記複数の第1データ線のそれぞれに読み出された複数の画素駆動電圧と、所定電圧と、の間の電位差を増幅して、複数の第1検出信号として出力する複数の第1センスアンプと、
画素検査モードの場合に、前記第1の行に隣接する検査対象の第2の行に設けられた複数の前記画素から前記複数の第2データ線のそれぞれに読み出された複数の画素駆動電圧と、前記所定電圧と、の間の電位差を増幅して、複数の第2検出信号として出力する複数の第2センスアンプと、
を備え、
各前記画素は、
対応する前記第1データ線に供給された正極性の映像信号をサンプリングしてホールドする第1サンプルホールド回路と、
対応する前記第2データ線に供給された負極性の映像信号をサンプリングしてホールドする第2サンプルホールド回路と、
画素駆動電極、共通電極、及び、それらの間に封入された液晶によって構成された液晶表示素子と、
前記第1サンプルホールド回路にホールドされた映像信号の電圧、及び、前記第2サンプルホールド回路にホールドされた映像信号の電圧、を選択的に前記画素駆動電極に出力する極性切り替えスイッチと、
を有し、
前記第1の行の各前記画素は、
画素検査モードの場合に、前記画素駆動電極の電圧を対応する前記第1データ線に出力する第1スイッチトランジスタをさらに有し、
前記第2の行の各前記画素は、
画素検査モードの場合に、前記画素駆動電極の電圧を対応する前記第2データ線に出力する第2スイッチトランジスタをさらに有する、
液晶デバイス。
続きを表示(約 2,800 文字)
【請求項2】
前記複数の第1センスアンプの出力信号を取り込み、且つ、取り込んだ複数の出力信号をシフトして順番に出力する第1シフトレジスタ回路と、
前記複数の第2センスアンプの出力信号を取り込み、且つ、取り込んだ複数の出力信号をシフトして順番に出力する第2シフトレジスタ回路と、
をさらに備えた、
請求項1に記載の液晶デバイス。
【請求項3】
各前記画素は、
前記第1サンプルホールド回路にホールドされた映像信号の電圧を出力する第1ソースフォロワバッファと、
前記第2サンプルホールド回路にホールドされた映像信号の電圧を出力する第2ソースフォロワバッファと、
をさらに備え、
前記極性切り替えスイッチは、前記第1及び前記第2ソースフォロワバッファのそれぞれの出力電圧を選択的に前記画素駆動電極に出力するように構成されている、
請求項1に記載の液晶デバイス。
【請求項4】
画素検査モードの場合に、検査対象の前記第1の行の複数の前記画素から前記複数の第1データ線のそれぞれに複数の画素駆動電圧が読み出される前に、前記複数の第1データ線のそれぞれに所定電圧を供給する複数の第2スイッチ素子と、
画素検査モードの場合に、検査対象の前記第2の行の複数の前記画素から前記複数の第2データ線のそれぞれに複数の画素駆動電圧が読み出される前に、前記複数の第2データ線のそれぞれに前記所定電圧を供給する複数の第3スイッチ素子と、
をさらに備えた、
請求項1に記載の液晶デバイス。
【請求項5】
前記映像信号の書き込み時には、前記複数の第1スイッチ素子をオンし、かつ、各前記画素に設けられた前記第1又は前記第2スイッチトランジスタをオフし、前記映像信号の読み出し時には、前記複数の第1スイッチ素子をオフした状態で、検査対象の行の各前記画素に設けられた前記第1又は前記第2スイッチトランジスタをオンするように制御するドライバをさらに備えた、
請求項1に記載の液晶デバイス。
【請求項6】
入力ポートと、
一又は複数の出力ポートと、
前記入力ポートに入射された光信号を偏向して前記一又は複数の出力ポートのうち選択された何れかの出力ポートから出射する、複数の画素を有する請求項1~5の何れか一項に記載の液晶デバイスである反射型液晶素子と、
を備えた、波長選択スイッチ装置。
【請求項7】
行列状に設けられた複数の画素と、
前記複数の画素の各列に対応して設けられた複数の第1データ線と、
前記複数の画素の各列に対応して設けられた複数の第2データ線と、
前記複数の第1データ線のそれぞれに正極性の映像信号を供給するか否かを切り替えるとともに、前記複数の第2データ線のそれぞれに負極性の映像信号を供給するか否かを切り替える複数の第1スイッチ素子と、
画素検査モードの場合に、検査対象の第1の行に設けられた複数の前記画素から前記複数の第1データ線のそれぞれに読み出された複数の画素駆動電圧と、所定電圧と、の間の電位差を増幅して、複数の第1検出信号として出力する複数の第1センスアンプと、
画素検査モードの場合に、前記第1の行に隣接する検査対象の第2の行に設けられた複数の前記画素から前記複数の第2データ線のそれぞれに読み出された複数の画素駆動電圧と、前記所定電圧と、の間の電位差を増幅して、複数の第2検出信号として出力する複数の第2センスアンプと、
を備え、
各前記画素は、
対応する前記第1データ線に供給された正極性の映像信号をサンプリングしてホールドする第1サンプルホールド回路と、
対応する前記第2データ線に供給された負極性の映像信号をサンプリングしてホールドする第2サンプルホールド回路と、
画素駆動電極、共通電極、及び、それらの間に封入された液晶によって構成された液晶表示素子と、
前記第1サンプルホールド回路にホールドされた映像信号の電圧、及び、前記第2サンプルホールド回路にホールドされた映像信号の電圧、を選択的に前記画素駆動電極に出力する極性切り替えスイッチと、
を有し、
前記第1の行の各前記画素は、
画素検査モードの場合に、前記画素駆動電極の電圧を対応する前記第1データ線に出力する第1スイッチトランジスタをさらに有し、
前記第2の行の各前記画素は、
画素検査モードの場合に、前記画素駆動電極の電圧を対応する前記第2データ線に出力する第2スイッチトランジスタをさらに有する、
液晶デバイスの画素検査方法であって、
各前記画素に設けられた前記第1又は前記第2スイッチトランジスタをオフした状態で、前記複数の第1スイッチ素子をオンすることにより、前記複数の第1データ線のそれぞれに前記正極性の映像信号を供給するとともに、前記複数の第2データ線のそれぞれに前記負極性の映像信号を供給し、
前記複数の第1データ線のそれぞれから検査対象の行の複数の前記画素に前記正極性の映像信号を書き込むとともに、前記複数の第2データ線のそれぞれから検査対象の行の複数の前記画素に前記負極性の映像信号を書き込み、
前記複数の第1スイッチ素子をオフした状態で、検査対象の前記第1の行の各前記画素に設けられた前記第1スイッチトランジスタをオンすることにより、検査対象の前記第1の行の複数の前記画素から前記複数の第1データ線のそれぞれに複数の画素駆動電圧を読み出し、
前記複数の第1スイッチ素子をオフした状態で、検査対象の前記第2の行の各前記画素に設けられた前記第2スイッチトランジスタをオンすることにより、検査対象の前記第2の行の複数の前記画素から前記複数の第2データ線のそれぞれに複数の画素駆動電圧を読み出し、
前記複数の第1センスアンプを用いて、検査対象の前記第1の行の複数の前記画素から前記複数の第1データ線のそれぞれに読み出された複数の画素駆動電圧と、前記所定電圧と、の間の電位差を増幅して、複数の第1検出信号として出力し、
前記複数の第2センスアンプを用いて、検査対象の前記第2の行の複数の前記画素から前記複数の第2データ線のそれぞれに読み出された複数の画素駆動電圧と、前記所定電圧と、の間の電位差を増幅して、複数の第2検出信号として出力し、
前記複数の第1及び前記第2センスアンプのそれぞれから出力された前記複数の第1及び第2検出信号に基づいて、検査対象の前記第1及び前記第2の行の複数の前記画素の故障の有無を検出する、
液晶デバイスの画素検査方法。
発明の詳細な説明
【技術分野】
【0001】
本開示は、液晶デバイス、波長選択スイッチ装置、及び、液晶デバイスの画素検査方法に関し、精度良く故障を検出するのに適した液晶デバイス、波長選択スイッチ装置、及び、液晶デバイスの画素検査方法に関する。
続きを表示(約 4,200 文字)
【背景技術】
【0002】
特許文献1に開示された液晶表示装置は、マトリクス状に配置された複数の画素と、複数の画素の各列に対応して設けられた複数組のデータ線と、複数の画素の各行に対応して設けられた複数のゲート線と、複数組のデータ線に対して組単位で順番に正極性及び負極性の映像信号を供給するための複数のスイッチと、複数のスイッチ及び複数のゲート線を駆動する駆動手段と、を備える。
【先行技術文献】
【特許文献】
【0003】
特開2009-223289号公報
特開2020-20847号公報
【発明の概要】
【発明が解決しようとする課題】
【0004】
ところで、液晶表示装置には、信頼性向上のため、例えば製品出荷前に画素に欠陥や特性劣化がないかを検査することが求められている。
【0005】
しかし、特許文献1には、画素の検査方法についての具体的な内容が開示されていない。したがって、特許文献1に開示された液晶表示装置では、例えば、通常動作時における画素への映像信号の書き込み経路を用いて、検査対象の画素に書き込まれた映像信号(画素駆動電圧)が読み出され、その読み出された映像信号に基づいて画素の検査が行われているものと考えられる。しかしながら、この検査方法では、映像信号の伝搬経路に付加された大きな配線容量の影響で、検査対象の画素に書き込まれた映像信号を速やかに読み出すことができないため、速やかに画素の検査を実行することができない、という課題があった。
【0006】
本開示は以上の点に鑑みなされたもので、速やかに画素の検査を実行することが可能な液晶デバイス、波長選択スイッチ装置、及び、液晶デバイスの画素検査方法を提供することを目的とする。
【課題を解決するための手段】
【0007】
本開示にかかる液晶デバイスは、行列状に設けられた複数の画素と、前記複数の画素の各列に対応して設けられた複数の第1データ線と、前記複数の画素の各列に対応して設けられた複数の第2データ線と、前記複数の第1データ線のそれぞれに正極性の映像信号を供給するか否かを切り替えるとともに、前記複数の第2データ線のそれぞれに負極性の映像信号を供給するか否かを切り替える複数の第1スイッチ素子と、画素検査モードの場合に、検査対象の第1の行に設けられた複数の前記画素から前記複数の第1データ線のそれぞれに読み出された複数の画素駆動電圧と、所定電圧と、の間の電位差を増幅して、複数の第1検出信号として出力する複数の第1センスアンプと、画素検査モードの場合に、前記第1の行に隣接する検査対象の第2の行に設けられた複数の前記画素から前記複数の第2データ線のそれぞれに読み出された複数の画素駆動電圧と、前記所定電圧と、の間の電位差を増幅して、複数の第2検出信号として出力する複数の第2センスアンプと、を備え、各前記画素は、対応する前記第1データ線に供給された正極性の映像信号をサンプリングしてホールドする第1サンプルホールド回路と、対応する前記第2データ線に供給された負極性の映像信号をサンプリングしてホールドする第2サンプルホールド回路と、画素駆動電極、共通電極、及び、それらの間に封入された液晶によって構成された液晶表示素子と、前記第1サンプルホールド回路にホールドされた映像信号の電圧、及び、前記第2サンプルホールド回路にホールドされた映像信号の電圧、を選択的に前記画素駆動電極に出力する極性切り替えスイッチと、を有し、前記第1の行の各前記画素は、画素検査モードの場合に、前記画素駆動電極の電圧を対応する前記第1データ線に出力する第1スイッチトランジスタをさらに有し、前記第2の行の各前記画素は、画素検査モードの場合に、前記画素駆動電極の電圧を対応する前記第2データ線に出力する第2スイッチトランジスタをさらに有する。
【0008】
本開示にかかる液晶デバイスの画素検査方法は、行列状に設けられた複数の画素と、前記複数の画素の各列に対応して設けられた複数の第1データ線と、前記複数の画素の各列に対応して設けられた複数の第2データ線と、前記複数の第1データ線のそれぞれに正極性の映像信号を供給するか否かを切り替えるとともに、前記複数の第2データ線のそれぞれに負極性の映像信号を供給するか否かを切り替える複数の第1スイッチ素子と、画素検査モードの場合に、検査対象の第1の行に設けられた複数の前記画素から前記複数の第1データ線のそれぞれに読み出された複数の画素駆動電圧と、所定電圧と、の間の電位差を増幅して、複数の第1検出信号として出力する複数の第1センスアンプと、画素検査モードの場合に、前記第1の行に隣接する検査対象の第2の行に設けられた複数の前記画素から前記複数の第2データ線のそれぞれに読み出された複数の画素駆動電圧と、前記所定電圧と、の間の電位差を増幅して、複数の第2検出信号として出力する複数の第2センスアンプと、を備え、各前記画素は、対応する前記第1データ線に供給された正極性の映像信号をサンプリングしてホールドする第1サンプルホールド回路と、対応する前記第2データ線に供給された負極性の映像信号をサンプリングしてホールドする第2サンプルホールド回路と、画素駆動電極、共通電極、及び、それらの間に封入された液晶によって構成された液晶表示素子と、前記第1サンプルホールド回路にホールドされた映像信号の電圧、及び、前記第2サンプルホールド回路にホールドされた映像信号の電圧、を選択的に前記画素駆動電極に出力する極性切り替えスイッチと、を有し、前記第1の行の各前記画素は、画素検査モードの場合に、前記画素駆動電極の電圧を対応する前記第1データ線に出力する第1スイッチトランジスタをさらに有し、前記第2の行の各前記画素は、画素検査モードの場合に、前記画素駆動電極の電圧を対応する前記第2データ線に出力する第2スイッチトランジスタをさらに有する、液晶デバイスの画素検査方法であって、各前記画素に設けられた前記第1又は前記第2スイッチトランジスタをオフした状態で、前記複数の第1スイッチ素子をオンすることにより、前記複数の第1データ線のそれぞれに前記正極性の映像信号を供給するとともに、前記複数の第2データ線のそれぞれに前記負極性の映像信号を供給し、前記複数の第1データ線のそれぞれから検査対象の行の複数の前記画素に前記正極性の映像信号を書き込むとともに、前記複数の第2データ線のそれぞれから検査対象の行の複数の前記画素に前記負極性の映像信号を書き込み、前記複数の第1スイッチ素子をオフした状態で、検査対象の前記第1の行の各前記画素に設けられた前記第1スイッチトランジスタをオンすることにより、検査対象の前記第1の行の複数の前記画素から前記複数の第1データ線のそれぞれに複数の画素駆動電圧を読み出し、前記複数の第1スイッチ素子をオフした状態で、検査対象の前記第2の行の各前記画素に設けられた前記第2スイッチトランジスタをオンすることにより、検査対象の前記第2の行の複数の前記画素から前記複数の第2データ線のそれぞれに複数の画素駆動電圧を読み出し、前記複数の第1センスアンプを用いて、検査対象の前記第1の行の複数の前記画素から前記複数の第1データ線のそれぞれに読み出された複数の画素駆動電圧と、前記所定電圧と、の間の電位差を増幅して、複数の第1検出信号として出力し、前記複数の第2センスアンプを用いて、検査対象の前記第2の行の複数の前記画素から前記複数の第2データ線のそれぞれに読み出された複数の画素駆動電圧と、前記所定電圧と、の間の電位差を増幅して、複数の第2検出信号として出力し、前記複数の第1及び前記第2センスアンプのそれぞれから出力された前記複数の第1及び第2検出信号に基づいて、検査対象の前記第1及び前記第2の行の複数の前記画素の故障の有無を検出する。
【発明の効果】
【0009】
本開示によれば、速やかに画素の検査を実行することが可能な液晶デバイス、波長選択スイッチ装置、及び、液晶デバイスの画素検査方法を提供することができる。
【図面の簡単な説明】
【0010】
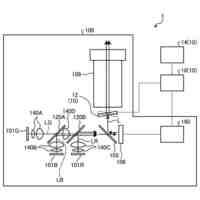
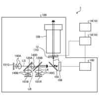
本開示に係る波長選択スイッチをx軸方向から見た図である。
本開示に係る波長選択スイッチをy軸方向から見た図である。
本開示に係る波長選択スイッチに適用された反射型液晶素子に集光された波長チャネルの一例を示す図である。
構想段階の液晶デバイスの構成例を示す図である。
図4に示す液晶デバイスに設けられた水平ドライバ及びアナログスイッチ部を拡大した図である。
図4に示す液晶デバイスに設けられた画素の具体的な構成例を示す図である。
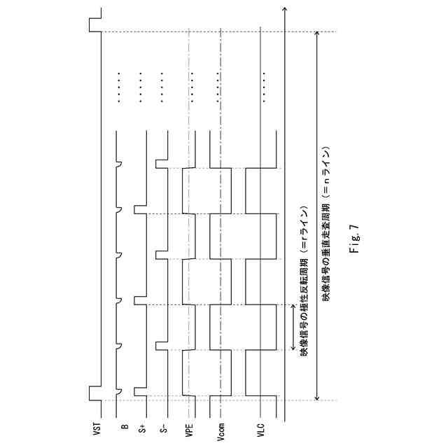
図4に示す液晶デバイスによる画素の駆動方法を説明するためのタイミングチャートである。
画素に書き込まれる正極性映像信号及び負極性映像信号のそれぞれの黒から白までの電圧レベルを説明するための図である。
図4に示す液晶デバイスの画像表示モードでの動作を示すタイミングチャートである。
実施の形態1にかかる液晶デバイスの構成例を示す図である。
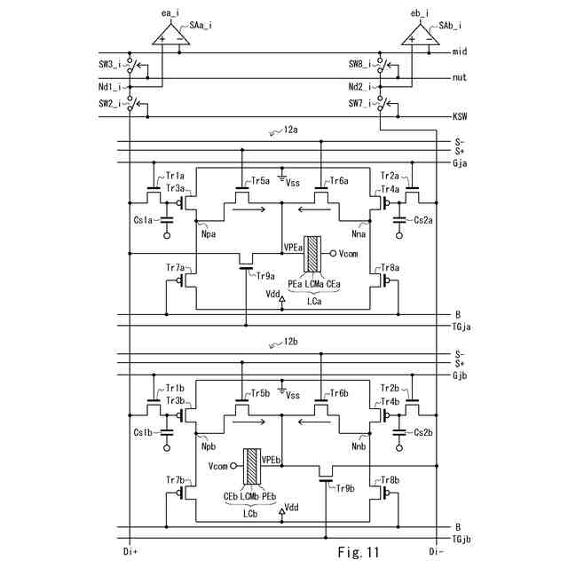
図10に示す液晶デバイスに設けられた画素及びその周辺回路の具体的な構成例を示す図である。
図10に示す液晶デバイスに設けられたスイッチ部18、センスアンプ部19、ラッチ部20、及び、シフトレジスタ回路21,22をより詳細に示す図である。
図10に示す液晶デバイスに設けられたセンスアンプSAa_iの具体的な構成例を示す図である。
図10に示す液晶デバイスに設けられたシフトレジスタ回路21aの具体的な構成例を示す図である。
図10に示す液晶デバイスの画素検査モードでの動作を示すタイミングチャートである。
【発明を実施するための形態】
(【0011】以降は省略されています)
この特許をJ-PlatPat(特許庁公式サイト)で参照する
関連特許
株式会社JVCケンウッド
表示装置、表示方法、及びプログラム
今日
株式会社JVCケンウッド
表示装置、表示方法、及びプログラム
今日
株式会社JVCケンウッド
表示装置、表示方法、及びプログラム
今日
株式会社JVCケンウッド
表示装置、表示方法、及びプログラム
今日
株式会社JVCケンウッド
動画像符号化装置、動画像符号化方法、及び動画像符号化プログラム、動画像復号装置、動画像復号方法及び動画像復号プログラム
4日前
個人
回転式カード学習具
1か月前
日本精機株式会社
表示装置
2か月前
日本精機株式会社
表示装置
26日前
個人
時刻表示機能つき手帳
2か月前
個人
計算用教具
22日前
中国電力株式会社
標示旗
1か月前
日本精機株式会社
車両用表示装置
2か月前
日本精機株式会社
車両用表示装置
2か月前
日本精機株式会社
車両用表示装置
2か月前
個人
微細構造を模した理科学習教材
5日前
個人
モデルで薔薇の花嫁様を描く為
1か月前
日本精機株式会社
車両用センサ装置
22日前
株式会社一弘社
情報表示板
1か月前
シャープ株式会社
表示装置
1か月前
株式会社ウメラボ
学習支援システム
12日前
個人
音楽教材
2か月前
株式会社ウメラボ
学習支援システム
18日前
株式会社半導体エネルギー研究所
半導体装置
2か月前
ニチレイマグネット株式会社
磁着式電飾装置
1か月前
株式会社リコー
画像投射システム
1か月前
リンテック株式会社
表示体
11日前
BEST株式会社
吊り下げ表示部材
2か月前
株式会社サンゲツ
見本帳
2か月前
学校法人関西医科大学
腹腔鏡手術訓練装置
1か月前
シチズンファインデバイス株式会社
液晶表示装置
1か月前
シチズンファインデバイス株式会社
液晶表示装置
2か月前
シャープ株式会社
表示装置
2か月前
シャープ株式会社
表示装置
2か月前
セイコーエプソン株式会社
表示方法
1か月前
セイコーエプソン株式会社
表示方法
1か月前
ニデックインスツルメンツ株式会社
情報処理装置
2か月前
続きを見る
他の特許を見る