TOP
|
特許
|
意匠
|
商標
特許ウォッチ
Twitter
他の特許を見る
10個以上の画像は省略されています。
公開番号
2025159484
公報種別
公開特許公報(A)
公開日
2025-10-21
出願番号
2024062073
出願日
2024-04-08
発明の名称
表示装置、表示方法、及びプログラム
出願人
株式会社JVCケンウッド
代理人
弁理士法人酒井国際特許事務所
主分類
G03B
21/14 20060101AFI20251014BHJP(写真;映画;光波以外の波を使用する類似技術;電子写真;ホログラフイ)
要約
【課題】簡便な構成により適切に解像度を高めることができる表示装置、表示方法、及びプログラムを提供すること。
【解決手段】本開示に係る表示装置は、光が入射する光学部材を有する揺動部と、揺動部を揺動させるアクチュエータと、映像信号の一フレームの間に、赤色サブフレーム、青色サブフレーム、第1緑色サブフレーム、第2緑色サブフレームを切り替えて表示させ、かつ、第1緑色サブフレーム、第2緑色サブフレームを連続して表示させない処理を行う映像信号処理回路と、アクチュエータに揺動部を揺動させて光路を制御する駆動回路と、を備え、映像信号処理回路は、揺動部が第1方向を向いている期間に第1緑色サブフレームを表示させ、揺動部が第2方向を向いている期間に第2緑色サブフレームを表示させることで、第1緑色サブフレーム及び第2緑色サブフレームを、基準位置に対して互いに点対称となる位置に表示させる。
【選択図】図1
特許請求の範囲
【請求項1】
光が入射する光学部材を有する揺動部と、
揺動部を揺動させるアクチュエータと、
映像信号の1フレームを赤色サブフレーム、青色サブフレーム、第1緑色サブフレーム、及び第2緑色サブフレームに分割し、映像信号の1フレームの間に、前記赤色サブフレーム、前記青色サブフレーム、前記第1緑色サブフレーム、前記第2緑色サブフレームを切り替えて表示させ、かつ、前記第1緑色サブフレーム及び前記第2緑色サブフレームを連続して表示させない処理を行う映像信号処理回路と、
アクチュエータに前記揺動部を揺動させて光路を制御する駆動回路と、を備え、
前記映像信号処理回路は、前記揺動部が第1方向を向いている期間に前記第1緑色サブフレームを表示させ、前記揺動部が前記第1方向と異なる第2方向を向いている期間に前記第2緑色サブフレームを表示させることで、前記第1緑色サブフレーム及び前記第2緑色サブフレームを、基準位置に対して互いに点対称となる位置に表示させる、
表示装置。
続きを表示(約 1,300 文字)
【請求項2】
前記映像信号処理回路は、
前記揺動部が前記第1方向及び前記第2方向と異なる第3方向を向いている期間に、前記青色サブフレームを表示させ、前記揺動部が前記第1方向、前記第2方向及び前記第3方向とは異なる第4方向を向いている期間に、前記赤色サブフレームを表示させることで、
前記青色サブフレームと前記赤色サブフレームとを、前記基準位置に対して互いに点対称となる位置であり、かつ、前記第1緑色サブフレーム及び前記第2緑色サブフレームとは異なる位置に表示させる、
請求項1に記載の表示装置。
【請求項3】
前記映像信号処理回路は、前記揺動部が揺動を停止している期間に、前記第1緑色サブフレーム及び前記第2緑色サブフレームを表示させる、
請求項1又は請求項2に記載の表示装置。
【請求項4】
光が入射する光学部材を有する揺動部と、
揺動部を揺動させるアクチュエータと、を備える表示装置を用いた表示方法であって、
映像信号の1フレームを赤色サブフレーム、青色サブフレーム、第1緑色サブフレーム、及び第2緑色サブフレームに分割し、映像信号の1フレームの間に、前記赤色サブフレーム、前記青色サブフレーム、前記第1緑色サブフレーム、前記第2緑色サブフレームを切り替えて表示させ、かつ、前記第1緑色サブフレーム及び前記第2緑色サブフレームを連続して表示させない処理を行うステップと、
アクチュエータに前記揺動部を揺動させて光路を制御するステップと、を含み、
前記揺動部が第1方向を向いている期間に前記第1緑色サブフレームを表示させ、前記揺動部が前記第1方向と異なる第2方向を向いている期間に前記第2緑色サブフレームを表示させることで、前記第1緑色サブフレーム及び前記第2緑色サブフレームを、基準位置に対して互いに点対称となる位置に表示させる、
表示方法。
【請求項5】
光が入射する光学部材を有する揺動部と、
揺動部を揺動させるアクチュエータと、を備える表示装置のコンピュータに処理を実行させるプログラムであって、
映像信号の1フレームを赤色サブフレーム、青色サブフレーム、第1緑色サブフレーム、及び第2緑色サブフレームに分割し、映像信号の1フレームの間に、前記赤色サブフレーム、前記青色サブフレーム、前記第1緑色サブフレーム、前記第2緑色サブフレームを切り替えて表示させ、かつ、前記第1緑色サブフレーム及び前記第2緑色サブフレームを連続して表示させない処理を行うステップと、
アクチュエータに前記揺動部を揺動させて光路を制御するステップと、を含み、
前記揺動部が第1方向を向いている期間に前記第1緑色サブフレームを表示させ、前記揺動部が前記第1方向と異なる第2方向を向いている期間に前記第2緑色サブフレームを表示させることで、前記第1緑色サブフレーム及び前記第2緑色サブフレームを、基準位置に対して互いに点対称となる位置に表示させる、
プログラム。
発明の詳細な説明
【技術分野】
【0001】
本開示は、表示装置、表示方法、及びプログラムに関する。
続きを表示(約 2,100 文字)
【背景技術】
【0002】
液晶光変調デバイスを用いた画像表示装置において、各色の光の光路をずらすことにより、光変調デバイスの解像度よりもスクリーンなどに投射される画像の見かけ上の解像度を高くする手法が知られている。
【0003】
例えば、下記の特許文献1には、赤色画素を変調する赤色光変調手段と、青色画素を変調する青色光変調手段と、第1の緑色画素を変調する第1の緑色光変調手段と、第2の緑色画素を変調する第2の緑色光変調手段とを備え、スクリーンに前記赤色画素、青色画素、第1及び第2の緑色画素を投射することを特徴とする投射システムが開示されている。
【先行技術文献】
【特許文献】
【0004】
特開2003-322908号公報
【発明の概要】
【発明が解決しようとする課題】
【0005】
しかしながら、上記の特許文献1に記載の投射システムは、4個の光変調デバイスを用いるものであることから、非常に高価なシステムになっている。そのため、安価に光変調装置の解像度よりも投射される画像の解像度を高めることが求められていた。
【0006】
本開示は上記課題を鑑み、簡便な構成により適切に解像度を高めることができる表示装置、表示方法、及びプログラムを提供することを目的とする。
【課題を解決するための手段】
【0007】
上述した課題を解決し、目的を達成するために、本開示に係る表示装置は、光が入射する光学部材を有する揺動部と、揺動部を揺動させるアクチュエータと、映像信号の1フレームを赤色サブフレーム、青色サブフレーム、第1緑色サブフレーム、及び第2緑色サブフレームに分割し、映像信号の1フレームの間に、赤色サブフレーム、青色サブフレーム、第1緑色サブフレーム、第2緑色サブフレームを切り替えて表示させ、かつ、第1緑色サブフレーム、第2緑色サブフレームを連続して表示させない処理を行う映像信号処理回路と、アクチュエータに前記揺動部を揺動させて光路を制御する駆動回路と、を備え、前記映像信号処理回路は、前記揺動部が第1方向を向いている期間に前記第1緑色サブフレームを表示させ、前記揺動部が前記第1方向と異なる第2方向を向いている期間に前記第2緑色サブフレームを表示させることで、前記第1緑色サブフレーム及び前記第2緑色サブフレームを、基準位置に対して互いに点対称となる位置に表示させる。
【0008】
上述した課題を解決し、目的を達成するために、本開示に係る表示方法は、光が入射する光学部材を有する揺動部と、揺動部を揺動させるアクチュエータと、を備える表示装置を用いた表示方法であって、映像信号の1フレームを赤色サブフレーム、青色サブフレーム、第1緑色サブフレーム、及び第2緑色サブフレームに分割し、映像信号の1フレームの間に、前記赤色サブフレーム、前記青色サブフレーム、前記第1緑色サブフレーム、前記第2緑色サブフレームを切り替えて表示させ、かつ、前記第1緑色サブフレーム及び前記第2緑色サブフレームを連続して表示させない処理を行うステップと、アクチュエータに前記揺動部を揺動させて光路を制御するステップと、を含み、前記揺動部が第1方向を向いている期間に前記第1緑色サブフレームを表示させ、前記揺動部が前記第1方向と異なる第2方向を向いている期間に前記第2緑色サブフレームを表示させることで、前記第1緑色サブフレーム及び前記第2緑色サブフレームを、基準位置に対して互いに点対称となる位置に表示させる。
【0009】
上述した課題を解決し、目的を達成するために、本開示に係るプログラムは、光が入射する光学部材を有する揺動部と、揺動部を揺動させるアクチュエータと、を備える表示装置のコンピュータに処理を実行させるプログラムであって、映像信号の1フレームを赤色サブフレーム、青色サブフレーム、第1緑色サブフレーム、及び第2緑色サブフレームに分割し、映像信号の1フレームの間に、前記赤色サブフレーム、前記青色サブフレーム、前記第1緑色サブフレーム、前記第2緑色サブフレームを切り替えて表示させ、かつ、前記第1緑色サブフレーム及び前記第2緑色サブフレームを連続して表示させない処理を行うステップと、アクチュエータに前記揺動部を揺動させて光路を制御するステップと、を含み、前記揺動部が第1方向を向いている期間に前記第1緑色サブフレームを表示させ、前記揺動部が前記第1方向と異なる第2方向を向いている期間に前記第2緑色サブフレームを表示させることで、前記第1緑色サブフレーム及び前記第2緑色サブフレームを、基準位置に対して互いに点対称となる位置に表示させる。
【発明の効果】
【0010】
本開示によれば、簡便な構成により適切に解像度を高めることができる表示装置、表示方法、及びプログラムを提供することができる。
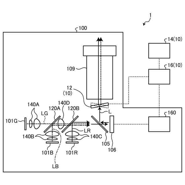
【図面の簡単な説明】
(【0011】以降は省略されています)
この特許をJ-PlatPat(特許庁公式サイト)で参照する
関連特許
個人
表示装置
7日前
個人
雨用レンズカバー
5日前
株式会社シグマ
絞りユニット
1か月前
キヤノン株式会社
撮像装置
1か月前
平和精機工業株式会社
雲台
1か月前
キヤノン株式会社
撮像装置
27日前
キヤノン株式会社
撮像装置
1か月前
日本精機株式会社
車両用投射装置
13日前
株式会社リコー
画像形成装置
2か月前
株式会社リコー
画像形成装置
23日前
株式会社リコー
画像形成装置
1か月前
株式会社リコー
画像形成装置
1か月前
キヤノン株式会社
画像形成装置
1か月前
キヤノン株式会社
トナー
1日前
キヤノン株式会社
画像形成装置
2か月前
キヤノン株式会社
画像形成装置
8日前
キヤノン株式会社
画像形成装置
1か月前
株式会社オプトル
プロジェクタ
2か月前
株式会社オプトル
プロジェクタ
26日前
シャープ株式会社
画像形成装置
2か月前
キヤノン株式会社
トナー
1か月前
キヤノン株式会社
トナー
19日前
キヤノン株式会社
トナー
14日前
沖電気工業株式会社
画像形成装置
5日前
キヤノン株式会社
レンズキャップ
6日前
沖電気工業株式会社
画像形成装置
1か月前
株式会社シグマ
絞り機構及びレンズ鏡筒
2か月前
キヤノン株式会社
現像装置
12日前
アイホン株式会社
機器の設置構造
2か月前
アイホン株式会社
機器の設置構造
2か月前
スタンレー電気株式会社
照明装置
15日前
アイホン株式会社
カメラシステム
13日前
ブラザー工業株式会社
画像形成装置
12日前
古野電気株式会社
装置
5日前
株式会社リコー
画像投射装置
2か月前
株式会社電気印刷研究所
静電印刷用積層体
19日前
続きを見る
他の特許を見る