TOP
|
特許
|
意匠
|
商標
特許ウォッチ
Twitter
他の特許を見る
10個以上の画像は省略されています。
公開番号
2025127793
公報種別
公開特許公報(A)
公開日
2025-09-02
出願番号
2024024701
出願日
2024-02-21
発明の名称
情報表示板
出願人
株式会社一弘社
代理人
個人
,
個人
主分類
G09F
7/18 20060101AFI20250826BHJP(教育;暗号方法;表示;広告;シール)
要約
【課題】公園に設置されている情報表示板を、公園と道路を隔てる金網に遮られることなく道路の側から視認できるようにする。
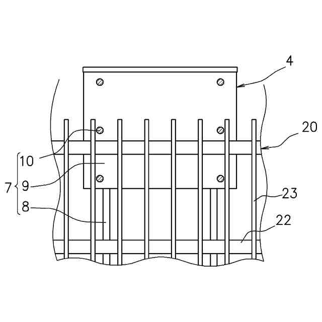
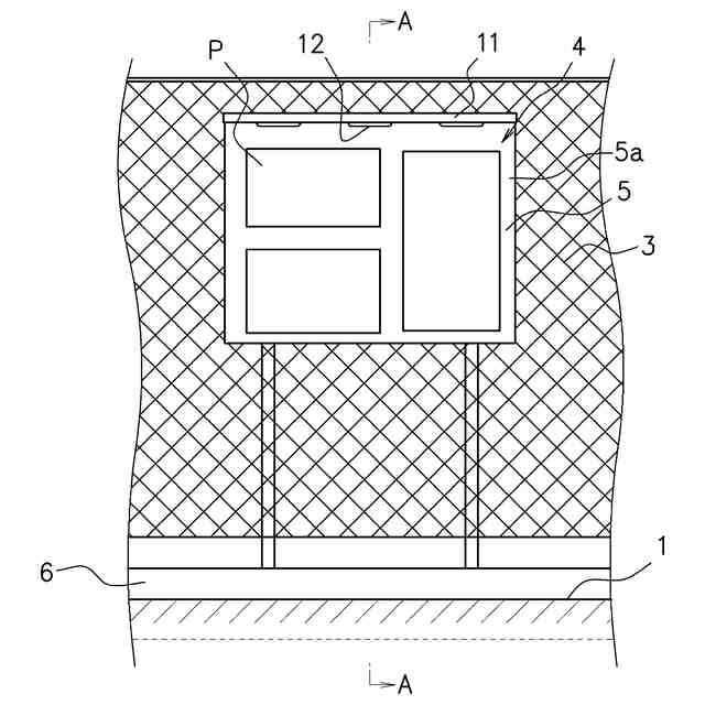
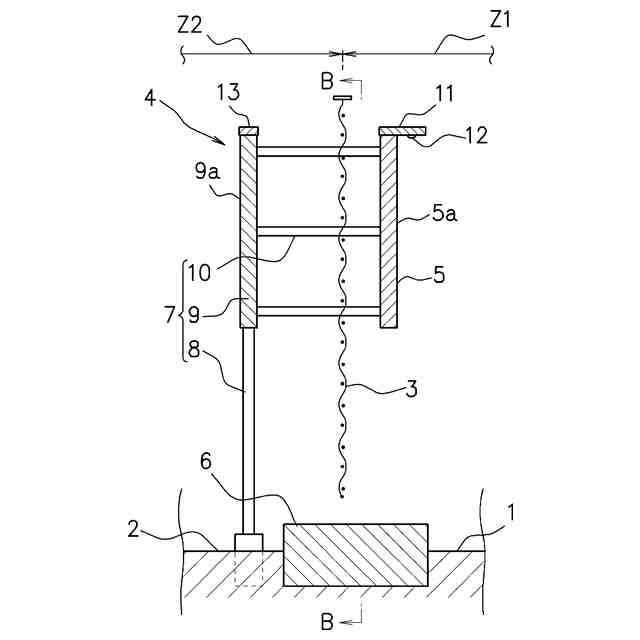
【解決手段】公園2の地面に支柱8で固定された第2表示板部9と、公園2と道路1を隔てる金網3の道路1側に配置された第1表示板部5を、金網3を挿通する連結部10で連結する。金網3の外側の所定範囲(基礎6の上方)まで公園2の管理権限の範囲内であれば、第1表示板部5は金網3の外にあっても道路1の管理権限の範囲外となる。
【選択図】図3
特許請求の範囲
【請求項1】
第1領域と第2領域を隔てる境界物の近傍に設置された情報表示板であって、
前記第1領域内において前記境界物の近傍に配置され、前記境界物と対面する裏面と反対側である表面を表示面とする第1表示板部と、
前記第2領域の地面に固定され、前記境界物を挿通して前記第1表示板部に連結されることにより前記第1表示板部を支持する支持部と、
を具備することを特徴とする情報表示板。
続きを表示(約 430 文字)
【請求項2】
前記支持部が、
前記第2領域の地面に固定された支柱と、
前記第2領域内において前記境界物の近傍に前記支柱で支持され、前記境界物と対面する裏面と反対側である表面を表示面とする第2表示板部と、
前記境界物を挿通して前記第2表示板部と前記第1表示板部を連結する連結部と、
を備えていることを特徴とする請求項1に記載の情報表示板。
【請求項3】
前記支持部が、
前記第2領域の地面に固定され、前記境界物を挿通して前記第1表示板部に連結された連結体であることを特徴とする請求項1に記載の情報表示板。
【請求項4】
前記境界物が、金網、柵、生垣、フェンス、塀を含む群から選択された区画構造物であり、前記第2領域の管理権限が、前記境界物に接する前記第1領域の一部に及んでおり、前記第1表示板が前記第1領域の前記一部内に配置されたことを特徴とする請求項2又は3に記載の情報表示板。
発明の詳細な説明
【技術分野】
【0001】
本発明は、具体例な一適用例を挙げて説明すれば、公園等の土地と道路を区画する金網等の境界物に近接して設置される情報表示板(掲示板等)に係り、特に、公園側の土地に定着して設置されているにも関わらず、表示板部は金網等の外側(道路側)に配置されるために公園外(道路側)から視認しやすく、また公園管理者の権限が及ぶ範囲内に表示板部を設置しやすいために、仮に公園外の道路の管理者が公園管理者以外の者である場合であっても、道路の管理者から許可等を取得する必要がなく、設置に関するハードルが相対的に低い情報表示板に関するものである。
続きを表示(約 2,200 文字)
【背景技術】
【0002】
特に都市部においては、災害時の避難箇所の指定表示や避難時の注意事項、また自治体や地域コミュニティーからのお知らせ等の各種情報を表示するために、様々な場所に掲示板が設置されている。このような掲示板は、住民サービス向上や防災上の観点から、多くの自治体で設置が積極的に推進されており、多数の設置場所が必要とされているため、設置場所が確保しやすい当該自治体の施設、例えば当該自治体の公園等に設置される場合が多い。
【0003】
ところが、掲示板は土地に定着した工作物であるため、公園を管理する自治体が公園内に設置する場合には当該自治体内での手続きを完結させれば格別の問題は生じない場合が多いが、公園に隣接する道路上に設置しようとする場合には、道路の管理者が当該自治体以外の存在である場合、道路の使用許可等を得なければならず、手続きが必ずしも容易とはいえない。従って、自治体が管理する公園に掲示板を設ける場合には、公園内の土地に定着した構造で公園の敷地内に設置せざるを得ない場合も考えられる。
【発明の概要】
【発明が解決しようとする課題】
【0004】
しかしながら、市街地にある公園では、公園と、公園に隣接する道路とを区画・隔離するために、その敷地の境界線に沿って、金網や柵等の境界物が設置されていることがある。そのような場合、境界物の内側である公園の敷地内に掲示板を設置すると、当該掲示板が公園内にいる住民を対象としている場合はともかく、公園の外の道路を通行する歩行者に見てもらうためには、道路を通行する歩行者と公園内の掲示板の間に境界物が介在することになるため、以下に説明するような種々の問題が生じる。
【0005】
図11は、公園と道路の境界に境界物として相当の高さで金網100が設置された例を示している。図11は道路側から見た図であり、金網100の向こう側に掲示板101がある。このように、掲示板101を公園外の道路に設置することを避けるため、公園内に掲示板101を設置した場合には、図11に示した掲示板101の背面側の掲示を公園内にいる人が視認することは容易であるが、掲示板101の表面側の掲示は、金網100越しの表示となるため、公園外の道路を通行する人にとっては視認しにくいという問題があった。
【0006】
図12は、公園と道路の境界に境界物として柵102が設置された例を示している。図12は道路側から見た図であり、柵102の向こう側に掲示板101がある。このように、掲示板101を公園外の道路に設置することを避けるために、公園内に設置した場合には、公園外の道路を通行する人に向けた掲示板101の掲示は、柵102に遮られないように柵102の上方に配置せざるを得ない。そうすると、公園外の通行人からは、その視線よりもかなり高い位置に掲示板101が位置する場合が生じうるために、その掲示内容が視認しにくくなる場合があるという問題があった。
【0007】
図13は、図12と同様、公園と道路の境界に境界物として柵102が設置されている例であるが、ここでは、公園外の道路にいる人に情報を表示するための掲示板101を、柵102の外側で柵102の土台103に載せ、柵102の外側に立て掛け、掲示板101の2本の支柱を各上下2カ所にて柵102の水平棒材等にワイヤー104で結び付けて固定している。なお、4本のワイヤー104のうち、1本は掲示板101の影となって図示されていない。この設置方法であれば、掲示板101は道路の通行人から見やすいと思われるが、ワイヤー104で結び付ける構造では固定の確実さが一定せず、掲示板101が柵102から離れて道路側に落下する危険性を否定できないという問題があった。
【0008】
本発明は、以上説明した従来の技及び掲示板設置の実情における課題に鑑みてなされたものであり、2つの土地を隔ている境界物に設けられた情報表示板において、一方の土地に定着して設置されているにも関わらず、表示板部は他方の土地にあるため、他方の土地にいる人が境界物に邪魔されることなく視認することができる情報表示板を提供することを目的としている。
【課題を解決するための手段】
【0009】
請求項1に記載された情報表示板は、
第1領域と第2領域を隔てる境界物の近傍に設置された情報表示板であって、
前記第1領域内において前記境界物の近傍に配置され、前記境界物と対面する裏面と反対側である表面を表示面とする第1表示板部と、
前記第2領域の地面に固定され、前記境界物を挿通して前記第1表示板部に連結されることにより前記第1表示板部を支持する支持部と、
を具備することを特徴としている。
【0010】
請求項2に記載された情報表示板は、請求項1に記載の情報表示板において、
前記支持部が、
前記第2領域の地面に固定された支柱と、
前記第2領域内において前記境界物の近傍に前記支柱で支持され、前記境界物と対面する裏面と反対側である表面を表示面とする第2表示板部と、
前記境界物を挿通して前記第2表示板部と前記第1表示板部を連結する連結部と、
を備えていることを特徴としている。
(【0011】以降は省略されています)
この特許をJ-PlatPat(特許庁公式サイト)で参照する
関連特許
個人
回転式カード学習具
1か月前
個人
時刻表示機能つき手帳
2か月前
日本精機株式会社
表示装置
25日前
日本精機株式会社
表示装置
2か月前
個人
計算用教具
21日前
中国電力株式会社
標示旗
1か月前
日本精機株式会社
車両用表示装置
2か月前
日本精機株式会社
車両用表示装置
2か月前
日本精機株式会社
車両用表示装置
2か月前
個人
モデルで薔薇の花嫁様を描く為
1か月前
個人
微細構造を模した理科学習教材
4日前
日本精機株式会社
車両用センサ装置
21日前
シャープ株式会社
表示装置
1か月前
株式会社一弘社
情報表示板
1か月前
個人
音楽教材
2か月前
株式会社ウメラボ
学習支援システム
17日前
株式会社ウメラボ
学習支援システム
11日前
ニチレイマグネット株式会社
磁着式電飾装置
1か月前
株式会社半導体エネルギー研究所
半導体装置
2か月前
リンテック株式会社
表示体
10日前
株式会社リコー
画像投射システム
1か月前
BEST株式会社
吊り下げ表示部材
1か月前
株式会社サンゲツ
見本帳
2か月前
シチズンファインデバイス株式会社
液晶表示装置
1か月前
学校法人関西医科大学
腹腔鏡手術訓練装置
1か月前
シチズンファインデバイス株式会社
液晶表示装置
2か月前
シャープ株式会社
表示装置
2か月前
シャープ株式会社
表示装置
2か月前
セイコーエプソン株式会社
表示方法
1か月前
セイコーエプソン株式会社
表示方法
1か月前
ニプロ株式会社
シミュレータ
1か月前
リンテック株式会社
粘着ラベル
11日前
TOPPANホールディングス株式会社
ラベル
21日前
ローム株式会社
暗号化装置
11日前
TOPPANホールディングス株式会社
ラベル
2か月前
キヤノン株式会社
発光装置
24日前
続きを見る
他の特許を見る