TOP
|
特許
|
意匠
|
商標
特許ウォッチ
Twitter
他の特許を見る
10個以上の画像は省略されています。
公開番号
2025155745
公報種別
公開特許公報(A)
公開日
2025-10-14
出願番号
2024206428
出願日
2024-11-27
発明の名称
フィルムの製造装置、及び、吸引装置
出願人
東レ株式会社
代理人
弁理士法人栄光事務所
主分類
B29C
48/25 20190101AFI20251002BHJP(プラスチックの加工;可塑状態の物質の加工一般)
要約
【課題】フィルム構成樹脂よりも低温で気体化する所定成分に起因して発生する液体や固体が吸引装置内に堆積することを抑制できるフィルムの製造装置、及び、吸引装置を提供すること。
【解決手段】フィルムの製造装置は、フィルム構成樹脂よりも低温にて気体化する所定成分を排出可能な排気口11が幅方向(TD)の両端部に設けられる排気部材4と、幅方向(TD)に延びて、所定成分を排気部材4に流入させる流入領域5と、を備える。排気口11と連通する排気路12は、平面状の奥面12aと、平面状の天面12dと、平面状の下面12eと、奥面12aと天面12dとの接続部位が排気路12から見て鈍角となるように奥面12aと天面12dとを連結する第1連結面13aと、奥面12aと下面12eとの接続部位が排気路12から見て鈍角となるように奥面12aと下面12eとを連結する第2連結面13bと、含んで構成されている。
【選択図】図2
特許請求の範囲
【請求項1】
フィルム構成樹脂と、前記フィルム構成樹脂よりも低温にて気体化する所定成分とが混合された樹脂混合物を用いてフィルムを製造するフィルムの製造装置であって、
前記所定成分を排出する排気口が幅方向(TD)の両端部に設けられた排気部材と、
前記幅方向(TD)に延びて、前記所定成分を前記排気部材に流入させる流入領域と、を備え、
前記排気部材は、前記流入領域を臨む面が前記幅方向に開口するように形成されて、前記排気口と連通する排気路を有し、
前記排気路は、
平面状の奥面と、
上側に位置する平面状の天面と、
下側に位置する平面状の下面と、
前記奥面と前記天面との接続部位が前記排気路から見て鈍角となるように前記奥面と前記天面とを連結する第1連結面と、
前記奥面と前記下面との接続部位が前記排気路から見て鈍角となるように前記奥面と前記下面とを連結する第2連結面と、を含んで構成されている、
フィルムの製造装置。
続きを表示(約 2,000 文字)
【請求項2】
請求項1に記載のフィルムの製造装置であって、
前記排気路は、
幅方向(TD)一端側に位置する平面状の第1側面と、
幅方向(TD)他端側に位置する平面状の第2側面と、
前記第1側面と前記天面との接続部位が前記排気路から見て鈍角となるように前記第1側面と前記天面とを連結する第3連結面と、
前記第2側面と前記天面との接続部位が前記排気路から見て鈍角となるように前記第2側面と前記天面とを連結する第4連結面と、
前記第1側面と前記下面との接続部位が前記排気路から見て鈍角となるように前記第1側面と前記下面とを連結する第5連結面と、
前記第2側面と前記下面との接続部位が前記排気路から見て鈍角となるように前記第2側面と前記下面とを連結する第6連結面と、
前記奥面と前記第1側面との接続部位が前記排気路から見て鈍角となるように前記奥面と前記第1側面とを連結する第7連結面と、
前記奥面と前記第1側面との接続部位が前記排気路から見て鈍角となるように前記奥面と前記第2側面とを連結する第8連結面と、をさらに含んで構成されている、
フィルムの製造装置。
【請求項3】
請求項2に記載のフィルムの製造装置であって、
前記第1連結面、前記第2連結面、前記第3連結面、前記第4連結面、前記第5連結面、前記第6連結面、前記第7連結面、及び前記第8連結面は、各々前記排気部材の外側に向けて凸となる曲面状に形成されている、
フィルムの製造装置。
【請求項4】
請求項3に記載のフィルムの製造装置であって、
前記第1連結面及び前記第2連結面の曲率半径は、2mm以上である、
フィルムの製造装置。
【請求項5】
請求項1に記載のフィルムの製造装置であって、
前記排気部材の開口端面の下側は、前記流入領域を形成するために切り欠かれている、
フィルムの製造装置。
【請求項6】
請求項1に記載のフィルムの製造装置であって、
前記排気路は、前記排気口が設けられる平面状の一対の側面を有し、
前記排気口の開口面積S1と前記側面の面積S2との比S1/S2が、1以下である、
フィルムの製造装置。
【請求項7】
請求項1に記載のフィルムの製造装置であって、
前記排気路は、前記排気口が設けられる平面状の一対の側面を有し、
前記排気口は、前記奥面からの直線距離が0mm以上10mm以下であり、前記下面からの直線距離が0mm以上10mm以下である位置に設けられている、
フィルムの製造装置。
【請求項8】
請求項1に記載のフィルムの製造装置であって、
前記第2連結面は、前記幅方向(TD)の中心を頂点から前記排気口に向けて下側に傾斜している、
フィルムの製造装置。
【請求項9】
前記樹脂混合物を吐出するための吐出口が設けられた口金と、
前記口金から吐出された樹脂混合物を冷却して固化しながら搬送するキャスト装置と、
前記口金から吐出された樹脂混合物と前記キャスト装置との間の減圧空間を覆い且つ前記吐出口よりも前記樹脂混合物の搬送方向(MD)の上流側に設けられて、内部の空気を吸引して前記樹脂混合物を前記キャスト装置に密着させる減圧チャンバと、をさらに備え、
請求項1に記載のフィルムの製造装置は、前記減圧チャンバにおける搬送方向上流側にて当該減圧チャンバの内部に付着した、前記所定成分に起因して発生する液滴及び固体のうち少なくとも一方を前記流入領域を介して吸引するように設けられている、
フィルムの製造装置。
【請求項10】
対象樹脂部材の成形樹脂と、前記成形樹脂よりも低温にて気体化する所定成分とが加熱されて形成される樹脂混合物を用いて前記対象樹脂部材を成形する樹脂成形機に付設される吸引装置であって、
前記所定成分を排出する排気口が設けられた排気部材と、
前記所定成分を前記排気部材に流入させる流入領域と、を備え、
前記排気部材は、前記流入領域を臨む面が開口するように窪み、前記排気口と連通する排気空間を有し、
前記排気空間は、
平面状の奥面と、
上側に位置する平面状の天面と、
下側に位置する平面状の下面と、
前記奥面と前記天面との接続部位が前記排気空間から見て鈍角となるように前記奥面と前記天面とを連結する第1連結面と、
前記奥面と前記下面との接続部位が前記排気空間から見て鈍角となるように前記奥面と前記下面とを連結する第2連結面と、を含んで構成されている、
吸引装置。
発明の詳細な説明
【技術分野】
【0001】
本発明は、フィルムの製造装置、及び、吸引装置に関する。
続きを表示(約 2,200 文字)
【背景技術】
【0002】
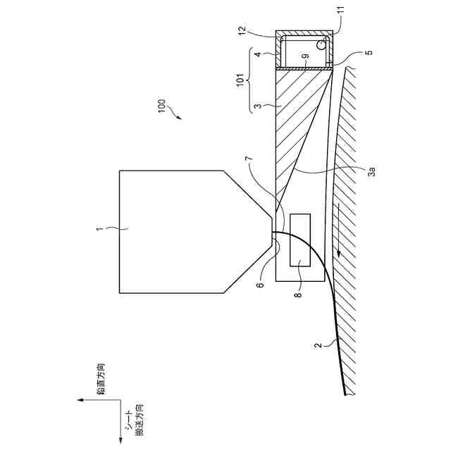
樹脂フィルムを製造する従来装置の中には、図12に示すように、フィルムを成形するための成形樹脂と該成形樹脂よりも融点が低い低融点樹脂とを含むシート材料207を吐出する吐出口206を有する口金201と、吐出口206から吐出されたシート材料207を搬送しながら冷却して固化するキャスト装置202と、吐出口206よりもシート搬送方向上流側に配置され、シート材料207とキャスト装置202との間の空間を覆い、空気を吸引して減圧空間を形成する減圧チャンバ203と、を備えるものがある(例えば、特許文献1を参照)。この減圧チャンバ203を用いてシート材料207の背面側の雰囲気を減圧することにより、シート材料207がキャスト装置202に密着する。
【0003】
特許文献1に記載の装置では、シート材料207が吐出口206からキャスト装置202に向けて吐出され、シート材料207の両端部よりもシート幅方向外側に配置された吸引管210の吸引口208から空間の空気を吸引することでシート材料207をキャスト装置202に密着させて、キャスト装置202でシート材料207を搬送しながら冷却・固化する方法が採られている。なお、樹脂フィルムは、シート材料207がキャスト装置202により搬送される搬送先にて不図示の装置によって延伸される工程及び前記低融点樹脂を抽出する工程が行われて、微多孔を有するフィルムとして完成される。
【先行技術文献】
【特許文献】
【0004】
特開2023-020052号公報
【発明の概要】
【発明が解決しようとする課題】
【0005】
ところで、近年の樹脂フィルムの生産量の増加に伴い、シート材料の吐出量を増加させたり、連続して製膜する時間を延ばしたりすることが強く望まれている。一方、シート材料の吐出量の増加や連続製膜時間の延長は、シート材料中の低融点樹脂や希釈剤、添加剤由来のガスが液化(以下、これら液化したものを「液滴」ともいう)する機会を増やすことにもなる。この液滴が、吸引口や減圧チャンバ内に堆積し飛散すると、樹脂シートや樹脂フィルムの欠点や樹脂シートや樹脂フィルムの破れを引き起こす原因となる。
【0006】
本発明は、上述した状況を鑑みてなされたものであり、その目的は、フィルム構成樹脂よりも低温で気体化する所定成分に起因して発生する液体や固体が吸引装置内に堆積することを抑制できるフィルムの製造装置、及び、吸引装置を提供することにある。
【課題を解決するための手段】
【0007】
上述した課題を解決する本開示のフィルムの製造装置は、フィルム構成樹脂と、前記フィルム構成樹脂よりも低温にて気体化する所定成分とが混合された樹脂混合物を用いてフィルムを製造するフィルムの製造装置であって、前記所定成分を排出する排気口が幅方向(TD)の両端部に設けられた排気部材と、前記幅方向(TD)に延びて、前記所定成分を前記排気部材に流入させる流入領域と、を備え、前記排気部材が、前記流入領域を臨む面が前記幅方向に開口するように形成されて、前記排気口と連通する排気路を有し、前記排気路が、平面状の奥面と、上側に位置する平面状の天面と、下側に位置する平面状の下面と、前記奥面と前記天面との接続部位が前記排気路から見て鈍角となるように前記奥面と前記天面とを連結する第1連結面と、前記奥面と前記下面との接続部位が前記排気路から見て鈍角となるように前記奥面と前記下面とを連結する第2連結面と、を含んで構成されている。
【0008】
また、本開示のフィルムの製造装置は、前記排気路が、幅方向(TD)一端側に位置する平面状の第1側面と、幅方向(TD)他端側に位置する平面状の第2側面と、前記第1側面と前記天面との接続部位が前記排気路から見て鈍角となるように前記第1側面と前記天面とを連結する第3連結面と、前記第2側面と前記天面との接続部位が前記排気路から見て鈍角となるように前記第2側面と前記天面とを連結する第4連結面と、前記第1側面と前記下面との接続部位が前記排気路から見て鈍角となるように前記第1側面と前記下面とを連結する第5連結面と、前記第2側面と前記下面との接続部位が前記排気路から見て鈍角となるように前記第2側面と前記下面とを連結する第6連結面と、前記奥面と前記第1側面との接続部位が前記排気路から見て鈍角となるように前記奥面と前記第1側面とを連結する第7連結面と、前記奥面と前記第1側面との接続部位が前記排気路から見て鈍角となるように前記奥面と前記第2側面とを連結する第8連結面と、をさらに含んで構成されている、ことが好ましい。
【0009】
また、本開示のフィルムの製造装置は、前記第1連結面、前記第2連結面、前記第3連結面、前記第4連結面、前記第5連結面、前記第6連結面、前記第7連結面、及び前記第8連結面が、各々前記排気部材の外側に向けて凸となる曲面状に形成されている、ことが好ましい。
【0010】
また、本開示のフィルムの製造装置は、前記第1連結面及び前記第2連結面の曲率半径が、2mm以上である、ことが好ましい。
(【0011】以降は省略されています)
この特許をJ-PlatPat(特許庁公式サイト)で参照する
関連特許
東レ株式会社
浄水器
1か月前
東レ株式会社
防護服
12日前
東レ株式会社
積層フィルム
1か月前
東レ株式会社
積層フィルム
11日前
東レ株式会社
加飾用フィルム
16日前
東レ株式会社
光透過性表皮材
11日前
東レ株式会社
黒色樹脂組成物
16日前
東レ株式会社
無配向フィルム
5日前
東レ株式会社
多孔質炭素シート
1か月前
東レ株式会社
不織布の製造装置
10日前
東レ株式会社
貼合体の製造方法
5日前
東レ株式会社
赤外線遮蔽構成体
5日前
東レ株式会社
飛翔体用ブレード
5日前
東レ株式会社
多層積層フィルム
1か月前
東レ株式会社
太陽電池モジュール
11日前
東レ株式会社
繊維断面の検査方法
17日前
東レ株式会社
中空糸膜モジュール
16日前
東レ株式会社
テーパ付き円筒部材
11日前
東レ株式会社
溶融紡糸口金パック
17日前
東レ株式会社
遮熱性アクリル繊維
17日前
東レ株式会社
フィルムの製造装置
5日前
東レ株式会社
車両用衝撃吸収部材
5日前
東レ株式会社
サンドイッチ構造体
1か月前
東レ株式会社
複合成形体の製造方法
1か月前
東レ株式会社
ガス拡散層の製造方法
1か月前
東レ株式会社
複合成形体の製造方法
5日前
東レ株式会社
ポリエステルフィルム
24日前
東レ株式会社
ポリエステルフィルム
2日前
東レ株式会社
織物およびシート表皮材
1か月前
東レ株式会社
プラスチック光ファイバ
1か月前
東レ株式会社
ポリプロピレンフィルム
16日前
東レ株式会社
霧化状活性液体供給装置
1か月前
東レ株式会社
ゴム補強用合成繊維コード
24日前
東レ株式会社
織物および織物プリプレグ
1か月前
東レ株式会社
ゴム補強用合成繊維コード
24日前
東レ株式会社
糸送り装置および糸送り方法
12日前
続きを見る
他の特許を見る