TOP
|
特許
|
意匠
|
商標
特許ウォッチ
Twitter
他の特許を見る
公開番号
2025158280
公報種別
公開特許公報(A)
公開日
2025-10-17
出願番号
2024060667
出願日
2024-04-04
発明の名称
引戸装置
出願人
文化シヤッター株式会社
代理人
個人
主分類
E06B
9/17 20060101AFI20251009BHJP(戸,窓,シャッタまたはローラブラインド一般;はしご)
要約
【課題】引戸が開放方向に移動して移動体が戸当たりに衝突する際の振動を抑制できるようにした引戸装置を提供する。
【解決手段】本発明に係る引戸装置1は、開口2を開閉する引戸3と、引戸3の上方に位置されるように建物の躯体10に取付けられた無目4とを備え、引戸3の上端側に取付けられた移動体が無目4の内側に設けられたガイドレール46に沿って移動することで当該引戸3が開口2を開閉する方向に移動可能に構成され、かつ、移動体(戸尻側移動体31R)がガイドレール46の端部側に設けられた戸当たり47に衝突することで当該引戸3の移動が停止するように構成された引戸装置において、引戸3の移動体(戸尻側移動体31R)が戸当たり47に衝突した際の振動を抑制する振動抑制手段5を備えたことを特徴とする。
【選択図】図1
特許請求の範囲
【請求項1】
開口を開閉する引戸と、引戸の上方に位置されるように建物の躯体に取付けられた無目とを備え、引戸の上端側に取付けられた移動体が無目の内側に設けられたガイドレールに沿って移動することで当該引戸が開口を開閉する方向に移動可能に構成され、かつ、移動体がガイドレールの端部側に設けられた戸当たりに衝突することで当該引戸の移動が停止するように構成された引戸装置において、
引戸の移動体が戸当たりに衝突した際の振動を抑制する振動抑制手段を備えたことを特徴とする引戸装置。
続きを表示(約 870 文字)
【請求項2】
振動抑制手段は、無目と躯体とに連結された振動抑制板により構成されたことを特徴とする請求項1に記載の引戸装置。
【請求項3】
振動抑制板は、躯体に連結された躯体側振動抑制板と、無目の端部側における躯体側板の下端部に連結された無目側振動抑制板と、躯体側振動抑制板と無目側振動抑制板とを連結する連結手段とを備えて構成されたことを特徴とする請求項2に記載の引戸装置。
【請求項4】
振動抑制板は、躯体に連結された躯体側連結板部と無目の端部側における躯体側板の上部に連結された無目側連結板部とを備えて構成されたことを特徴とする請求項2に記載の引戸装置。
【請求項5】
振動抑制板は、無目の端部側における躯体側板の下端面に連結された無目側連結板部と無目の端部側における躯体側板の下端面よりも下方に位置される躯体に連結された躯体側連結板部とを備えて構成されたことを特徴とする請求項2に記載の引戸装置。
【請求項6】
振動抑制板は、左右方向の長さが、開口を囲む三方枠の縦枠の横に位置される枠側躯体と無目の端部側に位置される無目端部側躯体との間の長さよりも長く形成されて、無目の躯体側板の下端面に連結された無目側連結板部と無目の躯体側板の下端面よりも下方に位置される躯体に連結された躯体側連結板部とを備えて構成されたことを特徴とする請求項2に記載の引戸装置。
【請求項7】
振動抑制板は、断面L形状の長尺部材により構成され、当該長尺部材の長尺方向を縦方向に向けて、当該長尺部材のL字の一方の板部により形成された躯体側連結板部が無目の端部側の側板近傍の躯体に連結されたとともに、当該長尺部材のL字の他方の板部により形成された無目側連結板部が無目の端部側の側板の外面に連結されたことを特徴とする請求項2に記載の引戸装置。
【請求項8】
振動抑制板は、壁の内側に設置されたことを特徴とする請求項2乃至請求項7のいずれか一項に記載の引戸装置。
発明の詳細な説明
【技術分野】
【0001】
本発明は、引戸装置の振動対策に関する。
続きを表示(約 3,400 文字)
【背景技術】
【0002】
引戸装置として、左右の側柱と、これら左右の側柱の上端部間に接続された無目と、無目内に吊り下げられて左右方向に開閉動作する引戸とを備えた吊式の引戸装置が知られている(特許文献1参照)。
また、引戸の戸尻と対向する縦枠(側柱)を備えない構成の引戸装置も知られている。
当該引戸の戸尻と対向する縦枠を備えない引戸装置は、引戸の上端側に取付けられた移動体が無目の内側に設けられたガイドレールを介して移動可能に設けられており、当該移動体及びガイドレールを介して引戸が開口を開閉する方向に移動可能に構成されている。
尚、移動体は、引戸をガイドレールに吊るすとともに、ガイドレールを介して移動可能に設けられて開口を開閉する方向に引戸を移動させるためのものであって、吊車等と呼称されるものである。
そして、当該引戸装置では、引戸の戸尻と対向する縦枠を備えない構成のため、ガイドレールの端部側に、移動体を受けるゴム等の緩衝体を有した戸当たりが設けられており、引戸が開放方向へ移動して移動体が戸当たりに衝突することで当該引戸の開放方向への移動が停止するように構成されている。
【先行技術文献】
【特許文献】
【0003】
特開2016-223117号公報
【発明の概要】
【発明が解決しようとする課題】
【0004】
上述したように、引戸の戸尻と対向する縦枠を備えない引戸装置においては、引戸が開放方向に移動して移動体が戸当たりに衝突することによる衝撃によって振動が発生し、振動音が生じてしまうという課題があった。
【0005】
本発明は、上記課題を解消するために、引戸が開放方向に移動して移動体が戸当たりに衝突する際の振動を抑制できるようにした引戸装置を提供する。
【課題を解決するための手段】
【0006】
本発明に係る引戸装置は、開口を開閉する引戸と、引戸の上方に位置されるように建物の躯体に取付けられた無目とを備え、引戸の上端側に取付けられた移動体が無目の内側に設けられたガイドレールに沿って移動することで当該引戸が開口を開閉する方向に移動可能に構成され、かつ、移動体がガイドレールの端部側に設けられた戸当たりに衝突することで当該引戸の移動が停止するように構成された引戸装置において、引戸の移動体が戸当たりに衝突した際の振動を抑制する振動抑制手段を備えたことを特徴とする。
振動抑制手段は、無目と躯体とに連結された振動抑制板により構成されたことを特徴とする。
振動抑制板は、躯体に連結された躯体側振動抑制板と、無目の端部側における躯体側板の下端部に連結された無目側振動抑制板と、躯体側振動抑制板と無目側振動抑制板とを連結する連結手段とを備えて構成されたことを特徴とする。
振動抑制板は、躯体に連結された躯体側連結板部と無目の端部側における躯体側板の上部に連結された無目側連結板部とを備えて構成されたことを特徴とする。
振動抑制板は、無目の端部側における躯体側板の下端面に連結された無目側連結板部と無目の端部側における躯体側板の下端面よりも下方に位置される躯体に連結された躯体側連結板部とを備えて構成されたことを特徴とする。
振動抑制板は、左右方向の長さが、開口を囲む三方枠の縦枠の横に位置される枠側躯体と無目の端部側に位置される無目端部側躯体との間の長さよりも長く形成されて、無目の躯体側板の下端面に連結された無目側連結板部と無目の躯体側板の下端面よりも下方に位置される躯体に連結された躯体側連結板部とを備えて構成されたことを特徴とする。
振動抑制板は、断面L形状の長尺部材により構成され、当該長尺部材の長尺方向を縦方向に向けて、当該長尺部材のL字の一方の板部により形成された躯体側連結板部が無目の端部側の側板近傍の躯体に連結されたとともに、当該長尺部材のL字の他方の板部により形成された無目側連結板部が無目の端部側の側板の外面に連結されたことを特徴とする。
振動抑制板は、壁の内側に設置されたことを特徴とする。
本発明に係る引戸装置によれば、引戸が開放方向に移動して移動体が戸当たりに衝突した際の振動が、戸当たり、ガイドレール、無目、振動抑制手段、躯体を介して減衰されるので、引戸が開放方向に移動して移動体が戸当たりに衝突した際の振動を抑制できるようになる。
【図面の簡単な説明】
【0007】
本発明の各実施形態に係る引戸装置の全体外観を示す図であり、(a)は引戸装置を前側から見た正面図、(b)は引戸装置を後側から見た背面図。
図1(a),(b)のA-A断面図。
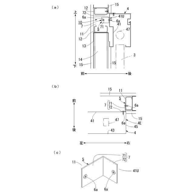
実施形態1に係る引戸装置を示す図であって、(a)は図1(a),(b)のB矢視断面に相当する図、(b)は図1(a),(b)のC矢視断面に相当する図、(c)は振動抑制板を示す斜視図。
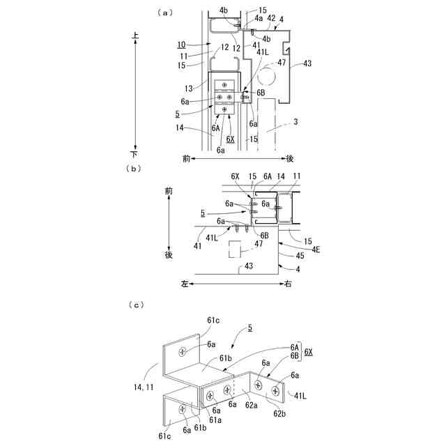
実施形態2に係る引戸装置を示す図であって、(a)は図1(a),(b)のB矢視断面に相当する図、(b)は図1(a),(b)のC矢視断面に相当する図、(c)は振動抑制板を示す斜視図。
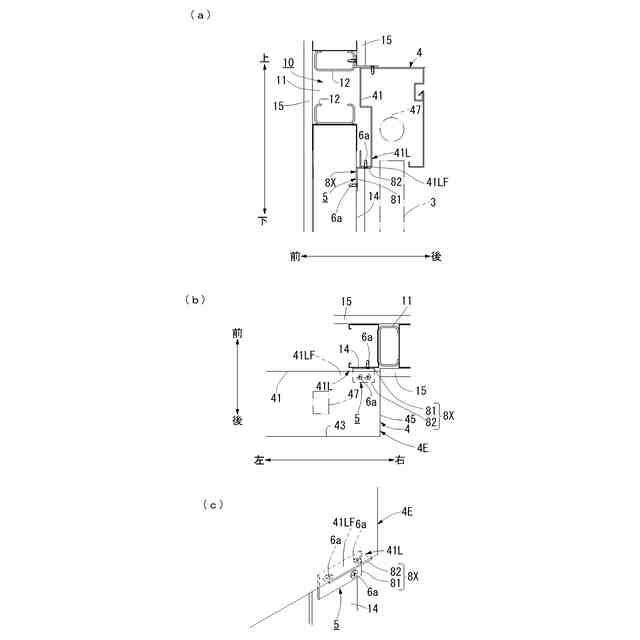
実施形態3に係る引戸装置を示す図であって、(a)は図1(a),(b)のB矢視断面に相当する図、(b)は図1(a),(b)のC矢視断面に相当する図、(c)は振動抑制板を示す斜視図。
実施形態4に係る引戸装置を示す図であって、(a)は図1(a),(b)のB矢視断面に相当する図、(b)は図1(a),(b)のC矢視断面に相当する図、(c)は振動抑制板を示す斜視図。
実施形態5に係る引戸装置を示す図であって、(a)は図1(a),(b)のB矢視断面に相当する図、(b)は図1(a),(b)のC矢視断面に相当する図、(c)は振動抑制板を示す斜視図。
実施形態6に係る引戸装置を示す図であって、(a)は図1(a),(b)のC矢視断面に相当する図、(b)は振動抑制板を示す斜視図。
【発明を実施するための形態】
【0008】
図1乃至図8に示すように、本発明の各実施形態に係る引戸装置1は、壁Wに設けられた開口2と、開口2の後側に位置されて開口2を開閉する引戸3と、引戸3の上方に設けられた無目4と、振動抑制手段5とを備えて構成される。
尚、以下、本明細書において、上、下、左、右、前、後は、各図に示した方向と定義して説明する。
また、断面図においては、断面ハッチングは省略した。
また、図1では、両開きの引戸3,3を備えた引戸装置1の例を図示しているが、本発明の各実施形態に係る引戸装置1は、両開きの引戸3,3を備えた引戸装置1及び片開き引戸3を備えた引戸装置1のいずれにおいても適用可能である。
【0009】
引戸装置1は、前側から見た場合、図1(a)に示すように、開口2と、開口2を囲む三方枠20と、三方枠20の後側に設けられて開口2を開閉可能に設けられた引戸3とが目視される。
また、引戸装置1は、後側から見た場合、図1(b)に示すように、引戸3と、無目4とが目視される。
尚、本明細書では、便宜的に、三方枠20が目視される側を前側と定義しているため、無目が目視される側を後側として説明するが、無目が目視される側を前側と定義すれば、三方枠が目視される側が後側となる。
【0010】
図1(a)に示すように、開口2には、開口2の左縁、右縁、上縁に沿って設けられた三方枠20が設けられ、この三方枠20の上方、左方、右方に延長するように壁Wが構築される。
即ち、三方枠20は、左右の縦枠20S,20Sと上枠21Tとで構成される。
三方枠20は、三方枠20の外側に位置される後述の横下地材12及び縦下地材11に連結体19を介して連結されて固定されている(図2及び図7(b)を参照)。
壁Wは、三方枠20の上方、左方、右方に延長するように設けられた躯体10と、躯体10の表面に設けられた壁面形成体と、壁面形成体の表面に設けられた壁仕上げ部材とを備えて構成される。
(【0011】以降は省略されています)
この特許をJ-PlatPat(特許庁公式サイト)で参照する
関連特許
株式会社ESP
止水板
2か月前
株式会社ナカオ
作業台
1か月前
中国電力株式会社
脚立
1か月前
三協立山株式会社
開口部装置
1か月前
三協立山株式会社
開口部装置
13日前
三協立山株式会社
開口部装置
1か月前
三協立山株式会社
開口部装置
1か月前
三協立山株式会社
開口部装置
1か月前
三協立山株式会社
開口部装置
1か月前
ミサワホーム株式会社
水切り材
1か月前
文化シヤッター株式会社
引戸装置
3日前
株式会社TJMデザイン
脚立用ホルダー
3か月前
不二サッシ株式会社
引違いサッシ
1か月前
不二サッシ株式会社
引違いサッシ
12日前
株式会社ニチベイ
縦型ブラインド
2か月前
文化シヤッター株式会社
止水装置
12日前
豊田合成株式会社
調光装置
5日前
株式会社LIXIL
太陽電池ガラス
21日前
三協立山株式会社
サッシの製造方法
1か月前
株式会社LIXIL
建具
1か月前
ナブテスコ株式会社
建具及び表示装置
3か月前
株式会社LIXIL
建具
17日前
株式会社LIXIL
建具
1か月前
株式会社LIXIL
建具
18日前
株式会社LIXIL
建具
18日前
株式会社LIXIL
建具
18日前
株式会社LIXIL
建具
18日前
株式会社LIXIL
建具
2か月前
株式会社LIXIL
建具
1か月前
株式会社LIXIL
建具
2か月前
株式会社大林組
シャッター装置
2か月前
株式会社LIXIL
建具
21日前
株式会社LIXIL
建具
10日前
三和シヤッター工業株式会社
水密構造
2か月前
三協立山株式会社
エクステリア構成材
2か月前
株式会社LIXIL
建具
2か月前
続きを見る
他の特許を見る