TOP
|
特許
|
意匠
|
商標
特許ウォッチ
Twitter
他の特許を見る
公開番号
2025148724
公報種別
公開特許公報(A)
公開日
2025-10-08
出願番号
2024048986
出願日
2024-03-26
発明の名称
機器モジュールの取付構造
出願人
株式会社オートネットワーク技術研究所
,
住友電装株式会社
,
住友電気工業株式会社
代理人
個人
,
個人
,
個人
,
個人
主分類
B60R
16/02 20060101AFI20251001BHJP(車両一般)
要約
【課題】機器と接続される通信線の通信性能の悪化を抑制することを目的とする。
【解決手段】機器モジュールの取付構造20は、車両における機器モジュールの取付構造である。前記機器モジュール30は、機器32と、通信線61を含み、前記機器32と接続された配線60と、前記機器32を覆うカバー70と、を備える。前記通信線61は、前記機器32から前記車両の配索面17に向けて延びる第1区間SE1と、前記第1区間SE1に連続し、前記配索面17に沿って延びる第2区間SE2とを含む。前記カバー70は、前記機器32を覆うカバー本体71と、前記カバー本体71から突出し、前記第1区間SE1と前記第2区間SE2との連結部分を前記配索面17に向けて押えている押え部78とを含む。
【選択図】図2
特許請求の範囲
【請求項1】
車両における機器モジュールの取付構造であって、
前記機器モジュールは、
機器と、
通信線を含み、前記機器と接続された配線と、
前記機器を覆うカバーと、
を備え、
前記通信線は、前記機器から前記車両の配索面に向けて延びる第1区間と、前記第1区間に連続し、前記配索面に沿って延びる第2区間とを含み、
前記カバーは、前記機器を覆うカバー本体と、前記カバー本体から突出し、前記第1区間と前記第2区間との連結部分を前記配索面に向けて押えている押え部とを含む、機器モジュールの取付構造。
続きを表示(約 930 文字)
【請求項2】
請求項1に記載の機器モジュールの取付構造であって、
前記配線は、前記押え部と前記配索面との間を通る電源線を含み、
前記通信線と前記電源線とは、互いに別の被覆層を有する配線であり、
前記通信線の太さは、前記電源線の太さ以上である、機器モジュールの取付構造。
【請求項3】
請求項2に記載の機器モジュールの取付構造であって、
前記電源線は、導体芯線が1つのみの単線であり、
前記通信線は、複数の導体芯線と、前記複数の導体芯線を覆うシースとを含む複合線である、機器モジュールの取付構造。
【請求項4】
請求項1から請求項3のいずれか1項に記載の機器モジュールの取付構造であって、
前記押え部は、前記通信線の最小曲げ半径以上の曲率半径を有する押え面を有し、
前記連結部分は、前記押え面に沿って延びる、機器モジュールの取付構造。
【請求項5】
請求項1から請求項3のいずれか1項に記載の機器モジュールの取付構造であって、
前記機器モジュールは、前記機器が固定されると共に前記車両に取付けられたブラケットを備え、
前記第1区間が前記ブラケットに固定されている、機器モジュールの取付構造。
【請求項6】
請求項5に記載の機器モジュールの取付構造であって、
前記ブラケットは、前記通信線の余長部分を巻いて収容可能な巻付面を有し、
前記巻付面は、前記通信線の最小曲げ半径以上に設定されている曲率半径を有する、機器モジュールの取付構造。
【請求項7】
請求項1から請求項3のいずれか1項に記載の機器モジュールの取付構造であって、
前記配索面は前記車両の室内空間に露出する面であり、
前記第2区間は前記室内空間に配置される、機器モジュールの取付構造。
【請求項8】
請求項1から請求項3のいずれか1項に記載の機器モジュールの取付構造であって、
前記機器は、前記車両において前記配索面と交差する取付面に取付けられている、機器モジュールの取付構造。
発明の詳細な説明
【技術分野】
【0001】
本開示は、機器モジュールの取付構造に関する。
続きを表示(約 1,000 文字)
【背景技術】
【0002】
特許文献1は、車両のルーフパネルと内装部材との間に機器を固定する技術を開示している。
【先行技術文献】
【特許文献】
【0003】
特開2022-141438号公報
【発明の概要】
【発明が解決しようとする課題】
【0004】
機器を追加する場合、当該機器用の通信線が必要となる場合がある。機器用の通信線の通信性能の悪化を抑制することが望まれる。
【0005】
そこで、機器と接続される通信線の通信性能の悪化を抑制することを目的とする。
【課題を解決するための手段】
【0006】
本開示の機器モジュールの取付構造は、車両における機器モジュールの取付構造であって、前記機器モジュールは、機器と、通信線を含み、前記機器と接続された配線と、前記機器を覆うカバーと、を備え、前記通信線は、前記機器から前記車両の配索面に向けて延びる第1区間と、前記第1区間に連続し、前記配索面に沿って延びる第2区間とを含み、前記カバーは、前記機器を覆うカバー本体と、前記カバー本体から突出し、前記第1区間と前記第2区間との連結部分を前記配索面に向けて押えている押え部とを含む、機器モジュールの取付構造である。
【発明の効果】
【0007】
本開示によれば、機器と接続される通信線の通信性能の悪化を抑制できる。
【図面の簡単な説明】
【0008】
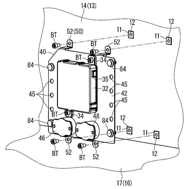
図1は実施形態1にかかる機器モジュールの取付構造を示す正面図である。
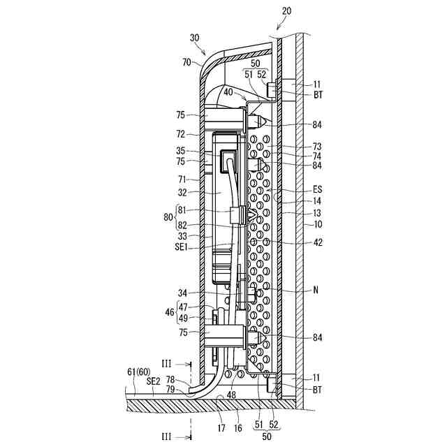
図2は図1のII-II線に沿った断面図である。
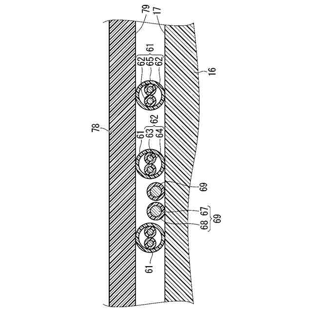
図3は図2のIII-III線に沿って切断した端面図である。
図4はカバーを外した状態の機器モジュールの取付構造を示す正面図である。
図5はカバーを外した状態の機器モジュールの取付構造を示す側面図である。
図6はブラケットを固定用土台に固定する様子を示す説明図である。
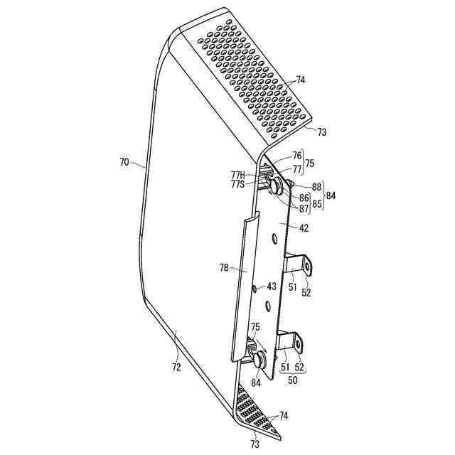
図7はカバーをブラケットに取付ける様子を示す説明図である。
【発明を実施するための形態】
【0009】
[本開示の実施形態の説明]
最初に本開示の実施態様を列記して説明する。
【0010】
本開示の機器モジュールの取付構造は、次の通りである。
(【0011】以降は省略されています)
この特許をJ-PlatPat(特許庁公式サイト)で参照する
関連特許
個人
カーテント
4か月前
個人
タイヤレバー
2か月前
個人
前輪キャスター
1か月前
個人
上部一体型自動車
17日前
個人
車輪清掃装置
4か月前
個人
タイヤ脱落防止構造
1か月前
個人
ホイルのボルト締結
3か月前
個人
ルーフ付きトライク
2か月前
個人
キャンピングトライク
4か月前
井関農機株式会社
作業車両
4か月前
個人
マスタシリンダ
24日前
日本精機株式会社
表示装置
2か月前
日本精機株式会社
表示装置
2か月前
日本精機株式会社
表示装置
2か月前
日本精機株式会社
表示装置
2か月前
個人
車両通過構造物
2か月前
井関農機株式会社
作業車両
4か月前
個人
キャンピングトレーラー
4か月前
個人
乗合路線バスの客室装置
3か月前
個人
車両用スリップ防止装置
3か月前
個人
アクセルのソフトウェア
3か月前
個人
円湾曲ホイール及び球体輪
3か月前
個人
音声ガイド、音声サービス
2か月前
株式会社ニフコ
照明装置
2か月前
株式会社ニフコ
収納装置
1か月前
日本精機株式会社
車載表示装置
3か月前
個人
車載小物入れ兼雨傘収納具
3か月前
株式会社豊田自動織機
産業車両
2か月前
株式会社ニフコ
保持装置
3か月前
日本精機株式会社
車室演出装置
1か月前
日本精機株式会社
画像投映装置
13日前
日本精機株式会社
車載表示装置
1か月前
井関農機株式会社
作業車両
4か月前
極東開発工業株式会社
車両
2か月前
日本精機株式会社
車両用表示装置
3か月前
日本精機株式会社
車両用投影装置
4か月前
続きを見る
他の特許を見る