TOP
|
特許
|
意匠
|
商標
特許ウォッチ
Twitter
他の特許を見る
公開番号
2025145704
公報種別
公開特許公報(A)
公開日
2025-10-03
出願番号
2024046025
出願日
2024-03-22
発明の名称
バスバー締結構造
出願人
株式会社オートネットワーク技術研究所
,
住友電装株式会社
,
住友電気工業株式会社
代理人
弁理士法人暁合同特許事務所
主分類
H01R
4/38 20060101AFI20250926BHJP(基本的電気素子)
要約
【課題】締結時の軸力によってバスバーが変形することを抑制し、酸化膜による締結抵抗の上昇を抑制する。
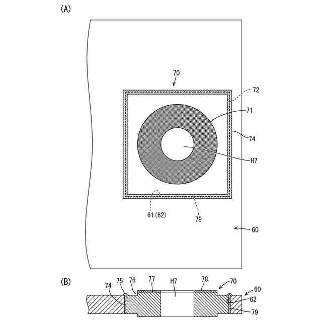
【解決手段】本開示のバスバー締結構造は、相手部材と、相手部材に対して第1方向に締結される締結部材と、締結部材によって締結される被締結部73を除いた箇所において第1方向にのびる側面を有し、締結部材が相手部材に締結されることで相手部材に圧接されるとともに、相手部材と電気的に接続される締結用カラー70と、側面に対して機械的かつ電気的に接続されるバスバー60と、を備え、締結用カラー70は、バスバー60よりも高い強度を有し、被締結部73のうち相手部材と接触する接触面77には表面処理が施されている。
【選択図】図4
特許請求の範囲
【請求項1】
相手部材と、
前記相手部材に対して第1方向に締結される締結部材と、
前記締結部材によって締結される被締結部を除いた箇所において前記第1方向にのびる側面を有し、前記締結部材が前記相手部材に締結されることで前記相手部材に圧接されるとともに、前記相手部材と電気的に接続される締結用カラーと、
前記側面に対して機械的かつ電気的に接続されるバスバーと、を備え、
前記締結用カラーは、前記バスバーよりも高い強度を有し、
前記被締結部のうち前記相手部材と接触する接触面には表面処理が施されている、バスバー締結構造。
続きを表示(約 270 文字)
【請求項2】
前記締結用カラーは、角形状の外形を有し、
前記バスバーは、前記締結用カラーが適合して嵌まる角形状の固定孔を有し、
前記締結用カラーの前記側面である外側面と前記固定孔の内側面とが接続されている、請求項1に記載のバスバー締結構造。
【請求項3】
前記締結用カラーは、前記被締結部を有する円形台座と、前記円形台座の外周縁から、前記第1方向に直交する第2方向に突出するフランジと、を備え、
前記側面は、前記フランジの外周縁に形成されている、請求項1または請求項2に記載のバスバー締結構造。
発明の詳細な説明
【技術分野】
【0001】
本開示は、バスバー締結構造に関する。
続きを表示(約 1,600 文字)
【背景技術】
【0002】
従来、特開2023-82637号公報(下記特許文献1)に記載の締結構造が知られている。特許文献1に記載の締結構造は、純アルミニウム又はアルミニウム合金を含む第一被締結部材と、金属を含む第二被締結部材と、第一被締結部材と第二被締結部材とを互いに締結固定する締結部材と、を備える。第一被締結部材における第二被締結部材と対向する面には、純アルミニウム又はアルミニウム合金を含み、かつ、第二被締結部材に向けて突出する突起部が一体的に形成されている。第一被締結部材の突起部における純アルミニウム又はアルミニウム合金は、第二被締結部材の金属と直接接触している。
【先行技術文献】
【特許文献】
【0003】
特開2023-82637号公報
【発明の概要】
【発明が解決しようとする課題】
【0004】
上記の締結構造のように、導電性と軽量化の観点では純アルミニウムを使用することが望ましい。しかし、純アルミニウムの強度は低いため、締結時の軸力によって第一被締結部材(バスバー)が変形するおそれがある。また、バスバーをアルミ化すると、酸化膜によって締結抵抗が上昇するおそれがある。
【0005】
本開示は上記のような事情に基づいて完成されたものであって、締結時の軸力によってバスバーが変形することを抑制しつつ酸化膜による締結抵抗の上昇を抑制することを目的とする。
【課題を解決するための手段】
【0006】
本開示のバスバー締結構造は、相手部材と、前記相手部材に対して第1方向に締結される締結部材と、前記締結部材によって締結される被締結部を除いた箇所において前記第1方向にのびる側面を有し、前記締結部材が前記相手部材に締結されることで前記相手部材に圧接されるとともに、前記相手部材と電気的に接続される締結用カラーと、前記側面に対して機械的かつ電気的に接続されるバスバーと、を備え、前記締結用カラーは、前記バスバーよりも高い強度を有し、前記被締結部のうち前記相手部材と接触する接触面には表面処理が施されている、バスバー締結構造である。
【発明の効果】
【0007】
本開示によれば、締結時の軸力によってバスバーが変形することを抑制でき、酸化膜による締結抵抗の上昇を抑制できる。
【図面の簡単な説明】
【0008】
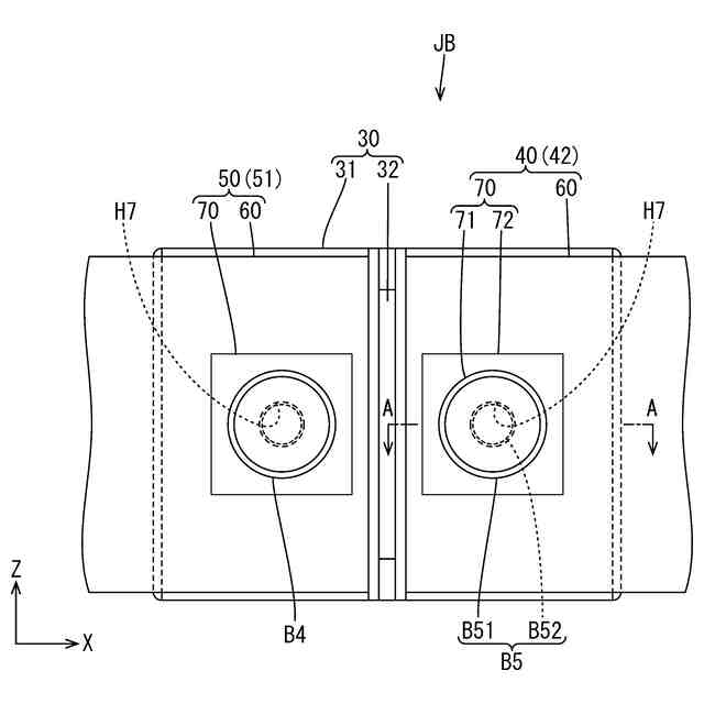
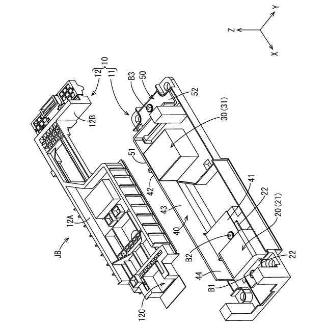
図1は、実施形態にかかる電気接続箱の分解斜視図である。
図2は、実施形態にかかる電気接続箱の平面図である。
図3は、実施形態にかかるリレー付近の拡大正面図である。
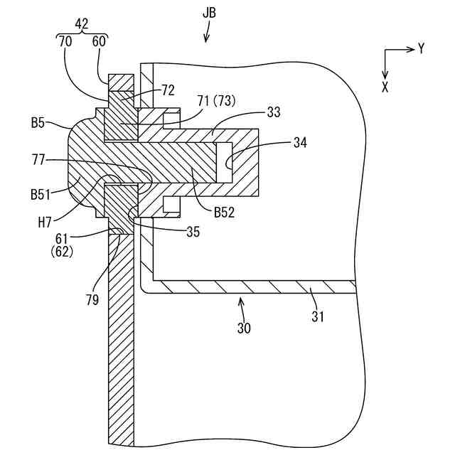
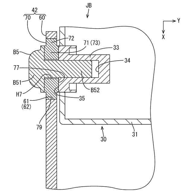
図4は、図3のA-A断面図である。
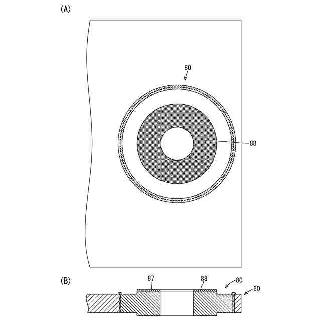
図5は、四角形状の締結用カラーがバスバーに固定された状態を示す図である。
図6は、丸形状の締結用カラーがバスバーに固定された状態を示す図である。
図7は、四角形状の締結用カラーがバスバーにレーザー溶接された状態を示す図である。
図8は、丸形状の締結用カラーがバスバーにレーザー溶接された状態を示す図である。
【発明を実施するための形態】
【0009】
[本開示の実施形態の説明]
最初に本開示の実施形態を列挙して説明する。
【0010】
[1]本開示のバスバー締結構造は、相手部材と、前記相手部材に対して第1方向に締結される締結部材と、前記締結部材によって締結される被締結部を除いた箇所において前記第1方向にのびる側面を有し、前記締結部材が前記相手部材に締結されることで前記相手部材に圧接されるとともに、前記相手部材と電気的に接続される締結用カラーと、前記側面に対して機械的かつ電気的に接続されるバスバーと、を備え、前記締結用カラーは、前記バスバーよりも高い強度を有し、前記被締結部のうち前記相手部材と接触する接触面には表面処理が施されている。
(【0011】以降は省略されています)
この特許をJ-PlatPat(特許庁公式サイト)で参照する
関連特許
日本発條株式会社
積層体
10日前
ローム株式会社
半導体装置
8日前
ローム株式会社
半導体装置
8日前
個人
防雪防塵カバー
10日前
ローム株式会社
半導体装置
6日前
ローム株式会社
半導体装置
1日前
ローム株式会社
半導体装置
8日前
株式会社GSユアサ
蓄電装置
6日前
オムロン株式会社
電磁継電器
今日
太陽誘電株式会社
全固体電池
6日前
株式会社GSユアサ
蓄電装置
10日前
個人
半導体パッケージ用ガラス基板
9日前
株式会社ホロン
冷陰極電子源
6日前
日本特殊陶業株式会社
保持装置
6日前
日本特殊陶業株式会社
保持装置
8日前
日本特殊陶業株式会社
保持装置
6日前
日東電工株式会社
積層体
今日
TDK株式会社
電子部品
6日前
日本特殊陶業株式会社
保持装置
10日前
トヨタ自動車株式会社
二次電池
10日前
トヨタ自動車株式会社
バッテリ
今日
ローム株式会社
電子装置
10日前
住友電装株式会社
コネクタ
10日前
住友電装株式会社
コネクタ
10日前
住友電装株式会社
コネクタ
10日前
ローム株式会社
半導体装置
今日
東レエンジニアリング株式会社
実装装置
今日
ローム株式会社
半導体装置
1日前
SMK株式会社
キートップ及びスイッチ
1日前
ローム株式会社
半導体装置
10日前
株式会社カネカ
正極活物質
10日前
ローム株式会社
半導体装置
1日前
矢崎総業株式会社
コネクタ
13日前
ローム株式会社
半導体装置
10日前
TDK株式会社
コイル部品
8日前
ヒロセ電機株式会社
電気コネクタ
10日前
続きを見る
他の特許を見る