TOP
|
特許
|
意匠
|
商標
特許ウォッチ
Twitter
他の特許を見る
10個以上の画像は省略されています。
公開番号
2025147850
公報種別
公開特許公報(A)
公開日
2025-10-07
出願番号
2024048322
出願日
2024-03-25
発明の名称
コネクタ
出願人
株式会社オートネットワーク技術研究所
,
住友電装株式会社
,
住友電気工業株式会社
代理人
弁理士法人グランダム特許事務所
主分類
H01R
13/629 20060101AFI20250930BHJP(基本的電気素子)
要約
【課題】両ハウジングを嵌合させるために適した組み付け動作を行い易くなるコネクタを実現することを目的とする。
【解決手段】コネクタ10では、互いに嵌合する第1ハウジング20及び第2ハウジング30と、第1ハウジング20を支持する支持部材40と、第2ハウジング30に回動可能に支持されるギヤ50と、を備えている。支持部材40は、駆動側ギヤ部51に噛み合う駆動側ラック47を有している。第1ハウジング20は、従動側ギヤ部52に噛み合う従動側ラック27を有している。駆動側ラック47は、第1ハウジング20と第2ハウジング30との嵌合方向と交差する方向に延びている。従動側ラック27は、嵌合方向と平行をなして延びている。支持部材40と第2ハウジング30との接近方向は、嵌合方向と交差する。
【選択図】図3
特許請求の範囲
【請求項1】
互いに嵌合する第1ハウジング及び第2ハウジングと、
前記第1ハウジングを支持する支持部材と、
前記第2ハウジングに回動可能に支持されるギヤと、
を備え、
前記ギヤは、駆動側ギヤ部と、従動側ギヤ部と、を有し、
前記支持部材は、前記駆動側ギヤ部に噛み合う駆動側ラックを有し、
前記第1ハウジングは、前記従動側ギヤ部に噛み合う従動側ラックを有し、
前記支持部材が前記第2ハウジングに対して接近することで、前記駆動側ギヤ部と前記駆動側ラックとの噛み合いに伴って前記ギヤが回動し、
前記ギヤが回動することで、前記従動側ギヤ部と前記従動側ラックとの噛み合いに伴って前記第1ハウジングと前記第2ハウジングとが嵌合し、
前記駆動側ラックは、前記第1ハウジングと前記第2ハウジングとの嵌合方向と交差する方向に延び、
前記従動側ラックは、前記嵌合方向と平行をなして延び、
前記支持部材と前記第2ハウジングとの接近方向は、前記嵌合方向と交差するコネクタ。
続きを表示(約 360 文字)
【請求項2】
前記従動側ギヤ部の周長は、前記駆動側ギヤ部の周長よりも大きい請求項1に記載のコネクタ。
【請求項3】
前記第1ハウジングと前記第2ハウジングとが嵌合した状態で、前記駆動側ギヤ部と前記駆動側ラックとの噛み合いが解除され、前記支持部材が前記第2ハウジングに対して前記接近方向に変位可能である請求項1又は請求項2に記載のコネクタ。
【請求項4】
前記支持部材は、前記第1ハウジングに係止して前記第1ハウジングと前記第2ハウジングとの嵌合動作を規制するロック部を有し、
前記第2ハウジングは、前記支持部材が前記第1ハウジングと前記第2ハウジングとの嵌合を開始させる位置まで変位したときに前記ロック部の規制を解除する解除部を有する請求項1又は請求項2に記載のコネクタ。
発明の詳細な説明
【技術分野】
【0001】
本開示は、コネクタに関するものである。
続きを表示(約 3,200 文字)
【背景技術】
【0002】
特許文献1に開示されるコネクタは、プラグコネクタハウジングとレセプタクルコネクタハウジングと、を備えている。プラグコネクタハウジングは、歯車機構を有している。歯車機構は、回転軸と、歯車と、把持部と、を具備している。レセプタクルコネクタハウジングは、スリット部と、歯車と噛み合うラックと、を具備している。両コネクタハウジングの嵌合時には、把持部を操作してラックと噛み合った歯車を回転させてプラグコネクタハウジングを完全嵌合位置まで移動させる。
【先行技術文献】
【特許文献】
【0003】
特開2004-199905号公報
【発明の概要】
【発明が解決しようとする課題】
【0004】
特許文献1の構成では、プラグコネクタハウジングとレセプタクルコネクタハウジングとの接近方向と嵌合方向とが同じ方向である。そのため、例えば両ハウジングに対して接近方向(嵌合方向)の外側にスペースがない場合等において、両ハウジングの嵌合動作が行い難くなる。したがって、両ハウジングを嵌合させるための作業が行い易いコネクタの構成が求められている。
本開示のコネクタは、上記のような事情に基づいて完成されたものであって、両ハウジングを嵌合させるために適した組み付け動作を行い易くすることを目的とする。
【課題を解決するための手段】
【0005】
本開示のコネクタは、
互いに嵌合する第1ハウジング及び第2ハウジングと、
前記第1ハウジングを支持する支持部材と、
前記第2ハウジングに回動可能に支持されるギヤと、
を備え、
前記ギヤは、駆動側ギヤ部と、従動側ギヤ部と、を有し、
前記支持部材は、前記駆動側ギヤ部に噛み合う駆動側ラックを有し、
前記第1ハウジングは、前記従動側ギヤ部に噛み合う従動側ラックを有し、
前記支持部材が前記第2ハウジングに対して接近することで、前記駆動側ギヤ部と前記駆動側ラックとの噛み合いに伴って前記ギヤが回動し、
前記ギヤが回動することで、前記従動側ギヤ部と前記従動側ラックとの噛み合いに伴って前記第1ハウジングと前記第2ハウジングとが嵌合し、
前記駆動側ラックは、前記第1ハウジングと前記第2ハウジングとの嵌合方向と交差する方向に延び、
前記従動側ラックは、前記嵌合方向と平行をなして延び、
前記支持部材と前記第2ハウジングとの接近方向は、前記嵌合方向と交差するコネクタ。
【発明の効果】
【0006】
本開示によれば、両ハウジングを嵌合させるために適した組み付け動作を行い易くなるコネクタを実現できる。
【図面の簡単な説明】
【0007】
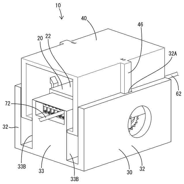
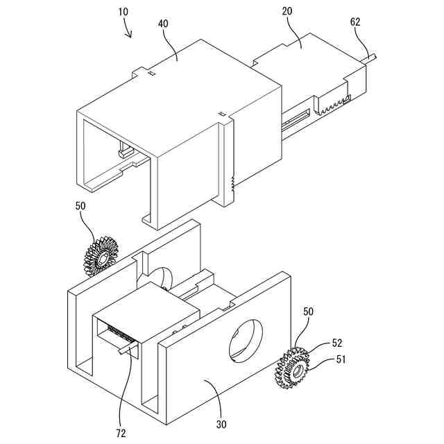
図1は、実施例1のコネクタの分解斜視図である。
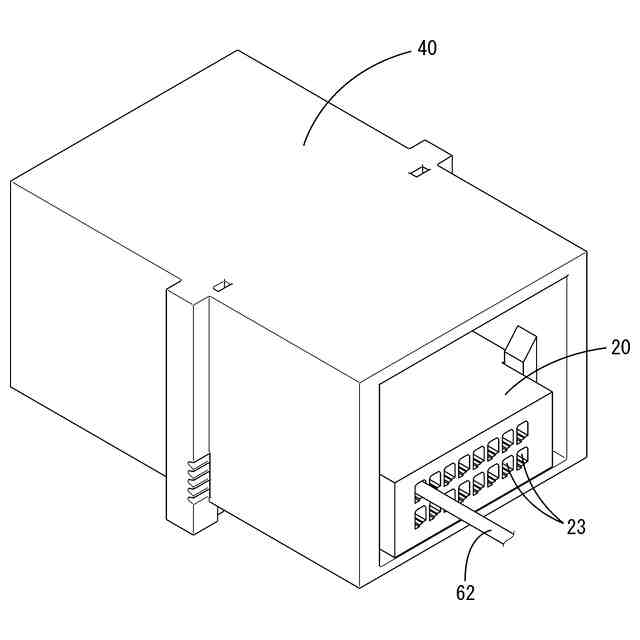
図2は、図1に示す第1ハウジングの斜視図である。
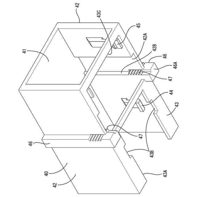
図3は、図1に示す支持部材の斜視図である。
図4は、図1に示す第2ハウジングの斜視図である。
図5は、図1に示す支持部材が第1ハウジングを支持した状態を示す斜視図である。
図6は、図5に示す支持部材及び第1ハウジングを前方から見た断面図である。
図6は、図5に示す支持部材及び第1ハウジングを後方から見た断面図である。
図8は、嵌合開始時の図1に示すコネクタの斜視図である。
図9は、嵌合完了時の図1に示すコネクタの斜視図である。
図10は、ロック解除時の図6の一部を拡大して示す拡大図である。
図11は、ロック解除時の図7の一部を拡大して示す拡大図である。
図12は、ロック解除時の図1に示すコネクタの右方から見た断面図である。
図13は、嵌合開始時の図1に示すコネクタの右方から見た断面図である。
図14は、嵌合完了時の図1に示すコネクタの右方から見た断面図である。
図15は、組み立て完了時の図1に示すコネクタの右方から見た断面図である。
図16は、嵌合途中の図1に示すコネクタの一部を後方から見た背面図である。
図17は、嵌合開始時の図1に示すコネクタを右方から見た断面図である。
図18は、嵌合完了時の図1に示すコネクタを右方から見た断面図である。
【発明を実施するための形態】
【0008】
[本開示の実施形態の説明]
最初に本開示の実施形態を列記して説明する。
本開示のコネクタは、
(1)互いに嵌合する第1ハウジング及び第2ハウジングと、
前記第1ハウジングを支持する支持部材と、
前記第2ハウジングに回動可能に支持されるギヤと、
を備え、
前記ギヤは、駆動側ギヤ部と、従動側ギヤ部と、を有し、
前記支持部材は、前記駆動側ギヤ部に噛み合う駆動側ラックを有し、
前記第1ハウジングは、前記従動側ギヤ部に噛み合う従動側ラックを有し、
前記支持部材が前記第2ハウジングに対して接近することで、前記駆動側ギヤ部と前記駆動側ラックとの噛み合いに伴って前記ギヤが回動し、
前記ギヤが回動することで、前記従動側ギヤ部と前記従動側ラックとの噛み合いに伴って前記第1ハウジングと前記第2ハウジングとが嵌合し、
前記駆動側ラックは、前記第1ハウジングと前記第2ハウジングとの嵌合方向と交差する方向に延び、
前記従動側ラックは、前記嵌合方向と平行をなして延び、
前記支持部材と前記第2ハウジングとの接近方向は、前記嵌合方向と交差する。
本開示の構成によれば、第1ハウジングを支持する支持部材を第2ハウジングに接近させることで、ギヤの回動に基づき第1ハウジングと第2ハウジングとを嵌合させることができる。その上で、駆動側ラックが第1ハウジングと第2ハウジングとの嵌合方向と交差する方向に延びる一方で、従動側ラックが嵌合方向と平行をなして延びる構成である。これにより、支持部材と第2ハウジングとの接近方向を、第1ハウジングと第2ハウジングとの嵌合方向と交差させる構成を実現できる。そのため、両ハウジングの嵌合方向とは異なる所望の方向(交差する方向)から第1ハウジングを第2ハウジングに接近させることができ、両ハウジングを嵌合させるために適した組み付け動作を行い易くなる。例えば、第1ハウジングと第2ハウジングとの嵌合方向の外側にスペースがない場合でも、両ハウジングの嵌合動作を行い易くなる。
【0009】
(2)(1)において、前記従動側ギヤ部の周長は、前記駆動側ギヤ部の周長よりも大きいことが好ましい。この構成によれば、第1ハウジングと第2ハウジングとの嵌合時に従動側ラックの変位量よりも駆動側ラックの変位量を小さくできる。これにより、従動側ギヤ部の周長が駆動側ギヤ部の周長と同じである構成に比べて、第2ハウジングに対する支持部材の接近方向へのストロークを低減できる。
【0010】
(3)(1)又は(2)において、前記第1ハウジングと前記第2ハウジングとが嵌合した状態で、前記駆動側ギヤ部と前記駆動側ラックとの噛み合いが解除され、前記支持部材が前記第2ハウジングに対して前記接近方向に変位可能であることが好ましい。この構成によれば、第1ハウジングと第2ハウジングとの嵌合完了後に支持部材と第2ハウジングとを接近方向に相対変位させることができる。これにより、嵌合完了後の支持部材と第2ハウジングとの位置ずれ(公差)を吸収できる。
(【0011】以降は省略されています)
この特許をJ-PlatPat(特許庁公式サイト)で参照する
関連特許
個人
フレキシブル電気化学素子
10日前
日本発條株式会社
積層体
21日前
ローム株式会社
半導体装置
12日前
ローム株式会社
半導体装置
19日前
ローム株式会社
半導体装置
17日前
個人
防雪防塵カバー
21日前
ローム株式会社
半導体装置
19日前
日新イオン機器株式会社
イオン源
6日前
ローム株式会社
半導体装置
19日前
株式会社ユーシン
操作装置
10日前
個人
半導体パッケージ用ガラス基板
20日前
株式会社GSユアサ
蓄電設備
10日前
株式会社GSユアサ
蓄電装置
21日前
株式会社GSユアサ
蓄電装置
17日前
オムロン株式会社
電磁継電器
11日前
株式会社ホロン
冷陰極電子源
17日前
太陽誘電株式会社
全固体電池
17日前
株式会社GSユアサ
蓄電設備
10日前
太陽誘電株式会社
コイル部品
10日前
株式会社ホロン
冷陰極電子源
4日前
トヨタ自動車株式会社
蓄電装置
10日前
日本特殊陶業株式会社
保持装置
19日前
日東電工株式会社
積層体
11日前
ローム株式会社
電子装置
21日前
サクサ株式会社
電池の固定構造
10日前
日本特殊陶業株式会社
保持装置
17日前
日本特殊陶業株式会社
保持装置
17日前
日本特殊陶業株式会社
保持装置
21日前
トヨタ自動車株式会社
二次電池
21日前
トヨタ自動車株式会社
バッテリ
11日前
ノリタケ株式会社
熱伝導シート
10日前
TDK株式会社
電子部品
17日前
TDK株式会社
コイル部品
19日前
TDK株式会社
コイル部品
17日前
株式会社トクヤマ
シリコンエッチング液
4日前
東レエンジニアリング株式会社
実装装置
11日前
続きを見る
他の特許を見る