TOP
|
特許
|
意匠
|
商標
特許ウォッチ
Twitter
他の特許を見る
公開番号
2025158576
公報種別
公開特許公報(A)
公開日
2025-10-17
出願番号
2024061258
出願日
2024-04-05
発明の名称
車両用灯具
出願人
株式会社小糸製作所
代理人
個人
,
個人
,
個人
主分類
F21S
43/237 20180101AFI20251009BHJP(照明)
要約
【課題】棒状の導光体を用いた車両用灯具において、点光りを防止して発光の均一性を向上する。
【解決手段】車両用灯具10は、LEDと、LEDからの光を入光部から入射して内部で導光しながら延出方向に沿った出射面26bから出射する棒状の導光体26と、導光体26の出射面26bの一部からの光を受けて出射する第1レンズ28と、第1レンズ28からの光を受けて灯具前方に出射する第2レンズ30と、を備える。第1レンズ28は、内部に光拡散材を含有する。
【選択図】図2
特許請求の範囲
【請求項1】
光源と、
前記光源からの光を入光部から入射して内部で導光しながら延出方向に沿った出射面から出射する棒状の導光体と、
前記導光体の出射面の一部からの光を受けて出射する第1レンズと、
前記第1レンズからの光を受けて灯具前方に出射する第2レンズと、
を備え、
前記第1レンズは、内部に光拡散材を含有することを特徴とする車両用灯具。
続きを表示(約 530 文字)
【請求項2】
前記導光体は屈曲部を有し、
前記第1レンズは、前記導光体の屈曲部の出射面を覆うように配置されることを特徴とする請求項1に記載の車両用灯具。
【請求項3】
前記第1レンズの入射面は、前記導光体の出射面からの光を灯具前方に向ける第1入射面を含むことを特徴とする請求項1または2に記載の車両用灯具。
【請求項4】
前記第1レンズからの光を灯具前方に反射するリフレクタをさらに備え、
前記第1レンズの入射面は、前記導光体の出射面からの光を前記リフレクタに向ける第2入射面を含むことを特徴とする請求項1または2に記載の車両用灯具。
【請求項5】
前記第1レンズの出射面に、前記導光体の出射面からの光を灯具左右方向に拡散する拡散ステップが形成されていることを特徴とする請求項1または2に記載の車両用灯具。
【請求項6】
前記第2レンズは、内部に光拡散材を含有することを特徴とする請求項1または2に記載の車両用灯具。
【請求項7】
前記第1レンズは、前記導光体の入光部近傍の出射面からの光を受けるように配置されることを特徴とする請求項6に記載の車両用灯具。
発明の詳細な説明
【技術分野】
【0001】
本発明は、車両用灯具に関する。
続きを表示(約 1,400 文字)
【背景技術】
【0002】
従来、棒状の導光体の端部にLED等の光源を配置し、線状の発光が得られるように構成された車両用灯具が知られている(例えば特許文献1参照)。
【先行技術文献】
【特許文献】
【0003】
特開2016-119273号公報
【発明の概要】
【発明が解決しようとする課題】
【0004】
棒状の導光体は、一般的に、入光部の近傍や屈曲部において、輝度が局所的に高くなる所謂点光りが生じやすい。
【0005】
本発明はこうした状況に鑑みてなされたものであり、その目的は、棒状の導光体を用いた車両用灯具において、点光りを防止して発光の均一性を向上することにある。
【課題を解決するための手段】
【0006】
上記課題を解決するために、本発明のある態様の車両用灯具は、光源と、光源からの光を入光部から入射して内部で導光しながら延出方向に沿った出射面から出射する棒状の導光体と、導光体の出射面の一部からの光を受けて出射する第1レンズと、第1レンズからの光を受けて灯具前方に出射する第2レンズと、を備える。第1レンズは、内部に光拡散材を含有する。
【発明の効果】
【0007】
本発明によれば、棒状の導光体を用いた車両用灯具において、点光りを防止して発光の均一性を向上できる。
【図面の簡単な説明】
【0008】
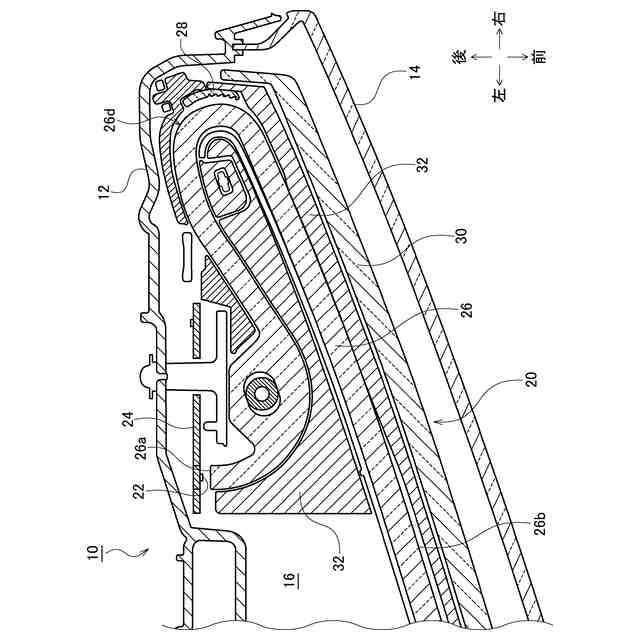
実施形態に係る車両用灯具の概略正面図である。
図1に示す車両用灯具の概略A-A断面図である。
図1に示す車両用灯具の概略B-B断面図である。
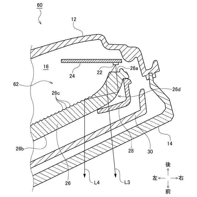
導光体の屈曲部上に設けられた第1レンズを示す斜視図である。
第1レンズの構成を詳細に説明するための図である。
本発明の別の実施形態に係る車両用灯具を説明するための水平断面図である。
【発明を実施するための形態】
【0009】
以下、本発明を好適な実施の形態をもとに図面を参照しながら説明する。以下の構成は本開示を理解するための例示を目的とするものであり、本開示の範囲は、添付の請求の範囲によってのみ定まる。各図面に示される同一または同等の構成要素、部材には、同一の符号を付するものとし、適宜重複した説明は省略する。また、各図面における部材の寸法は、理解を容易にするために適宜拡大、縮小して示される。また、各図面において実施の形態を説明する上で重要ではない部材の一部は省略して表示する。
【0010】
図1は、実施形態に係る車両用灯具10の概略正面図である。図1に示す車両用灯具10は、車両後部に配置されるリアコンビネーションランプである。図1に示すように、車両用灯具10は、ランプボディ12と、ランプボディ12の前面開口部を覆う透明なアウターカバー14とを備える。ランプボディ12とアウターカバー14は、灯室16を形成している。灯室16内には、灯具ユニット20が設けられている。灯具ユニット20は、図示しない支持部材によりランプボディ12に固定支持されている。灯具ユニット20は、線状の発光が得られるように構成されたものであり、例えばテールランプやストップランプとして用いることができる。しかしながら、灯具ユニット20の用途は特に限定されない。
(【0011】以降は省略されています)
この特許をJ-PlatPat(特許庁公式サイト)で参照する
関連特許
株式会社小糸製作所
車両用灯具
3日前
株式会社小糸製作所
車両用灯具
3日前
株式会社小糸製作所
表示用灯具
17日前
株式会社小糸製作所
表示用灯具
17日前
株式会社小糸製作所
車両用灯具
13日前
株式会社小糸製作所
車両用灯具
13日前
株式会社小糸製作所
車両用灯具
11日前
株式会社小糸製作所
車両用灯具
10日前
株式会社小糸製作所
車両用灯具
18日前
株式会社小糸製作所
車両用灯具
3日前
株式会社小糸製作所
車両用灯具
10日前
株式会社小糸製作所
表示システム
12日前
株式会社小糸製作所
照明表示装置
10日前
株式会社小糸製作所
画像投影装置
3日前
株式会社小糸製作所
虚像表示装置
12日前
株式会社小糸製作所
表示制御装置及び表示装置
12日前
株式会社小糸製作所
電子ユニット及び車両用灯具
10日前
株式会社小糸製作所
車両用灯具及び車両用灯具の製造方法
10日前
株式会社小糸製作所
画像投影ユニットおよび画像投影装置
6日前
株式会社小糸製作所
レンズに付着する雪を融かす融雪機構
6日前
株式会社小糸製作所
開閉機構、車両用灯具及び車両用前照灯
10日前
株式会社小糸製作所
車両用灯具、ハウジング及びハウジングの製造方法
10日前
株式会社小糸製作所
光源ユニット、光源ユニットの製造方法、および車両用灯具
11日前
株式会社小糸製作所
配光制御装置、配光制御プログラムおよび車両用前照灯システム
10日前
株式会社小糸製作所
車両用センサ装置
13日前
株式会社小糸製作所
調整装置、調整システム、制御方法、制御プログラム、および記録媒体
17日前
個人
室外機器
4か月前
個人
照明システム
3か月前
個人
車載機器の通気構造
1か月前
個人
気泡を用いた遊具。
6か月前
株式会社遠藤照明
照明装置
1か月前
株式会社遠藤照明
照明器具
5か月前
株式会社小糸製作所
車両用灯具
13日前
個人
LEDライト
3か月前
デンカ株式会社
照明装置
4か月前
能美防災株式会社
表示灯
1か月前
続きを見る
他の特許を見る