TOP
|
特許
|
意匠
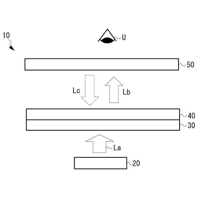
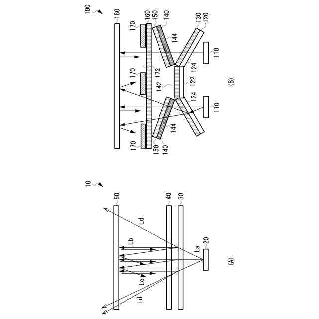
|
商標
特許ウォッチ
Twitter
他の特許を見る
10個以上の画像は省略されています。
公開番号
2025158753
公報種別
公開特許公報(A)
公開日
2025-10-17
出願番号
2024061613
出願日
2024-04-05
発明の名称
表示装置
出願人
アルプスアルパイン株式会社
代理人
個人
,
個人
,
個人
,
個人
主分類
G02B
30/56 20200101AFI20251009BHJP(光学)
要約
【課題】 元映像を見え難くして空中像の視認性を良くする表示装置を提供する。
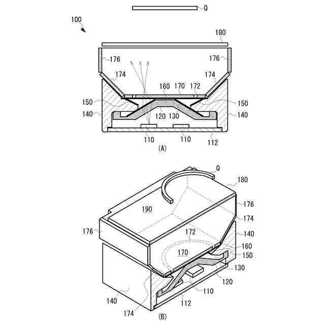
【解決手段】 本発明の表示装置100は、光源110と、拡散板120と、拡散板120上に配置された偏光板130と、支持部材140上に配置された偏光板150と、平坦な偏光板160と、偏光板160上に配置された再帰反射板170と、再帰反射板170に対向して配置された偏光ビームスプリッター180とを有する。偏光板130は、下方に傾斜する領域を含み、偏光板150は、上方に傾斜する領域を含み、拡散板120から種々の方向に拡散された光を効果的に偏光する。
【選択図】 図3
特許請求の範囲
【請求項1】
再帰反射を利用して空中像を表示可能な表示装置であって、
光源と、
前記光源上に配置された拡散板と、
前記拡散板上に配置された第1の偏光板と、
第1の偏光板上に配置された第2の偏光板と、
第2の偏光板上に配置され、前記光源の照射により原映像を生成するための意匠が形成された再帰反射部材と、
前記再帰反射部材に対向して配置された偏光ビームスプリッターとを有し、
第1の偏光板は、第2の偏光板の主面に対して傾斜する領域を含む、表示装置。
続きを表示(約 630 文字)
【請求項2】
第1の偏光板は、第2の偏光板の主面に対して下方に傾斜する第1の傾斜領域と、当該第1の傾斜領域に対向しかつ上方に傾斜する第2の傾斜領域とを含む、請求項1に記載の表示装置。
【請求項3】
第1の傾斜領域と第2の傾斜領域は、等しい角度で下方および上方にそれぞれ傾斜する、請求項2に記載の表示装置。
【請求項4】
第1の偏光板および第2の偏光板の透過軸の方向は、前記偏光ビームスプリッターの反射軸の方向に整合する、請求項1に記載の表示装置。
【請求項5】
再帰反射を利用して空中像を表示可能な表示装置であって、
光源と、
前記光源上に配置された拡散板と、
前記拡散板上に配置された第1の偏光板と、
第1の偏光板上に配置された第2の偏光板と、
第2の偏光板上に配置され、前記光源の照射により原映像を生成するための意匠が形成された再帰反射部材と、
前記再帰反射部材に対向して配置された偏光ビームスプリッターとを有し、
第1の偏光板は、湾曲した形状を有する、表示装置。
【請求項6】
第1の偏光板の湾曲した形状は、前記再帰反射部材の意匠に整合する、請求項5に記載の表示装置。
【請求項7】
第1の偏光板および第2の偏光板の透過軸の方向は、前記偏光ビームスプリッターの反射軸の方向に整合する、請求項5に記載の表示装置。
発明の詳細な説明
【技術分野】
【0001】
本発明は、再帰反射を利用した空中像の表示機能を備えた表示装置に関する。
続きを表示(約 1,600 文字)
【背景技術】
【0002】
再帰反射を用いた空中表示(Aerial Imaging by Retro-Reflection:AIRR)が知られている。例えば、特許文献1は、ハーフミラーと画像出力装置との間に配置され、画像出力装置から出力される光の少なくとも一部が通る複数の開口を有する再帰反射部材を備える画像表示装置を開示している。
【先行技術文献】
【特許文献】
【0003】
特開2018-81138号公報
【発明の概要】
【発明が解決しようとする課題】
【0004】
AIRR方式の空中像表示システムには、光源にLEDを利用したものがある。この場合、空中像は、固定アイコンとなり、再帰反射シートに切り欠き加工する工夫がなされている。また、製品サイズをコンパクトにするため、光学部品である偏光ビームスプリッター、光源、再帰反射シートを平行に配置する構造を採用する場合がある。この際、観察者に光源を視認しづらくさせるため、偏光を利用した手法が取られている。
【0005】
偏光を利用した光源の減光方法について図1を参照して説明する。表示装置10は、互いに平行に配置された光源20、拡散板30、偏光板40および偏光ビームスプリッター50を含む。光源20から出射された非偏光の光Laが、拡散板30を介して偏光板40に入射し、そこから偏光された光Lbが出射される。偏光板40の透過軸は、偏光ビームスプリッター50の反射軸に合わせられ、偏光板40から出射された光Lbは、偏光ビームスプリッター50で反射された光Lcとなる。これにより、観察者Uからは光源20の光が見え難くなる。
【0006】
図2は、従来の表示装置の外観構成を示す斜視図である。表示装置10は、概ね矩形状の筐体60を含み、筐体60の表面には偏光ビームスプリッター50が取り付けられ、内部には、光源20、拡散板30、偏光板40、偏光板40上に再帰反射シートが配置される。再帰反射シートには、空中像Qの元映像Pとなるリング状の貫通孔または切り欠きが形成され、筐体60の上方には、リング状の空中像Qが表示される。
【0007】
従来の表示装置では、偏光を利用して偏光ビームスプリッター越しに見える光源(元映像P)を視認しづらくなるように対応しているが、実際には、ある角度で見た場合、光源(元映像P)が明るく見える範囲があり、そうすると、光源(元映像P)と空中像Qが同時に見えて、空中像Qの見え方に違和感を生じさせてしまう。
【0008】
本発明は、このような従来の課題を解決し、元映像を見え難くして空中像の視認性を良くする表示装置を提供することを目的とする。
【課題を解決するための手段】
【0009】
本発明に係る表示装置は、再帰反射を利用して空中像を表示可能なものであって、光源と、前記光源上に配置された拡散板と、前記拡散板上に配置された第1の偏光板と、第1の偏光板上に配置された第2の偏光板と、第2の偏光板上に配置され、前記光源の照射により原映像を生成するための意匠が形成された再帰反射部材と、前記再帰反射部材に対向して配置された偏光ビームスプリッターとを有し、第1の偏光板は、第2の偏光板の主面に対して傾斜する領域を含む。
【0010】
ある態様では、第1の偏光板は、第2の偏光板の主面に対して下方に傾斜する第1の傾斜領域と、当該第1の傾斜領域に対向しかつ上方に傾斜する第2の傾斜領域とを含む。ある態様では、第1の傾斜領域と第2の傾斜領域は、等しい角度で下方および上方にそれぞれ傾斜する。ある態様では、第1の偏光板および第2の偏光板の透過軸の方向は、前記偏光ビームスプリッターの反射軸の方向に整合する。
(【0011】以降は省略されています)
この特許をJ-PlatPat(特許庁公式サイト)で参照する
関連特許
個人
立体像表示装置
6日前
住友化学株式会社
偏光板
3日前
東レ株式会社
積層フィルム
12日前
住友化学株式会社
垂直偏光板
3日前
東レ株式会社
赤外線遮蔽構成体
6日前
東レ株式会社
貼合体の製造方法
6日前
スタンレー電気株式会社
照明装置
13日前
日本電気株式会社
光集積回路素子
10日前
三菱電機株式会社
レンズモジュール
3日前
個人
眼鏡装着位置変更具および眼鏡
4日前
日東電工株式会社
調光フィルム
11日前
住友化学株式会社
積層体
10日前
住友化学株式会社
偏光板
6日前
住友化学株式会社
偏光板
6日前
新光電気工業株式会社
光導波路部品
3日前
新光電気工業株式会社
光導波路部品
3日前
日本精機株式会社
ヘッドアップディスプレイ装置
11日前
住友化学株式会社
偏光積層体
6日前
住友化学株式会社
光学積層体
6日前
キヤノン株式会社
レンズ装置および撮像装置
11日前
住友ベークライト株式会社
積層体の製造方法
11日前
Orbray株式会社
MEMS光スイッチの制御方法
11日前
住友化学株式会社
偏光板及び画像表示装置
12日前
古河電気工業株式会社
光モジュール、光接続構造
11日前
キヤノン電子株式会社
光学部材、撮像装置及び宇宙航行体
4日前
キヤノン電子株式会社
光学部材、撮像装置及び宇宙航行体
4日前
日東電工株式会社
積層光学部材及び光学装置
10日前
株式会社小糸製作所
画像投影装置
3日前
TDK株式会社
メタサーフェスレンズ
10日前
住友ベークライト株式会社
光学シート
10日前
京セラ株式会社
走査装置及び制御装置
10日前
京セラ株式会社
走査装置及び制御装置
10日前
日本カーバイド工業株式会社
微小球型再帰反射シート
10日前
国立大学法人徳島大学
光共振器、及び光周波数コム発生装置
11日前
国立大学法人徳島大学
光共振器、及び光周波数コム発生装置
11日前
住友化学株式会社
積層体および表示装置
10日前
続きを見る
他の特許を見る