TOP
|
特許
|
意匠
|
商標
特許ウォッチ
Twitter
他の特許を見る
10個以上の画像は省略されています。
公開番号
2025159216
公報種別
公開特許公報(A)
公開日
2025-10-17
出願番号
2025138180,2024047682
出願日
2025-08-21,2020-09-14
発明の名称
畦上面ローラ、畦形成手段及び畦塗り機
出願人
松山株式会社
代理人
個人
,
個人
主分類
A01B
35/00 20060101AFI20251009BHJP(農業;林業;畜産;狩猟;捕獲;漁業)
要約
【課題】強固な畦肩面を形成できる畦上面ローラを備える畦塗り機を提供する。
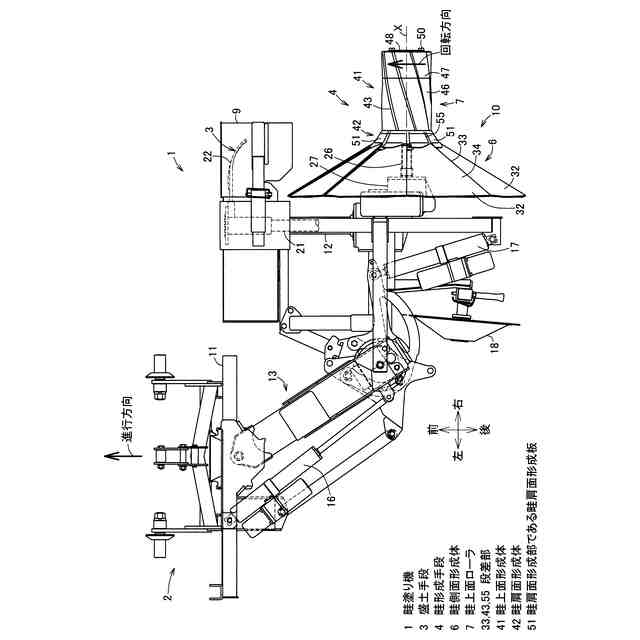
【解決手段】畦塗り機1は、土を盛り上げる盛土手段3と、この盛土手段3による盛土を締め固めて畦を形成する畦形成手段4とを具備する。畦形成手段4は畦側面形成体6を備え、この畦側面形成体6の端部には畦上面ローラ7を設ける。畦上面ローラ7は、段差部43を有する畦上面形成体41と、段差部55を有する畦肩面形成体42とを備える。そして、畦肩面形成体42の段差部55は、畦上面形成体41の段差部43とは非連続である。
【選択図】図6
特許請求の範囲
【請求項1】
畦塗り機に用いられる畦上面ローラであって、
段差部を有する畦上面形成体と、
段差部を有する畦肩面形成体とを備え、
前記畦肩面形成体の前記段差部は、前記畦上面形成体の前記段差部とは非連続である
ことを特徴とする畦上面ローラ。
続きを表示(約 670 文字)
【請求項2】
畦塗り機に用いられる畦上面ローラであって、
段差部を有する畦上面形成体と、
段差部を有する畦肩面形成体とを備え、
前記畦肩面形成体は、回転方向に並んで位置する複数の畦肩面形成部を有し、
前記畦肩面形成体の前記段差部は、前記回転方向に互いに隣り合う前記畦肩面形成部間に位置するとともに、前記畦上面形成体の前記段差部とは非連続である
ことを特徴とする畦上面ローラ。
【請求項3】
畦肩面形成体の段差部は、畦上面形成体の段差部に対して回転方向にずれている
ことを特徴とする請求項1又は2記載の畦上面ローラ。
【請求項4】
畦肩面形成体の段差部における畦上面形成体側の端部は、前記畦上面形成体のうち回転方向に互いに隣り合う段差部間の所定位置付近に位置する
ことを特徴とする請求項1ないし3のいずれか一記載の畦上面ローラ。
【請求項5】
畦塗り機に用いられる畦形成手段であって、
段差部を有する畦側面形成体と、
段差部を有する畦上面形成体と、
段差部を有する畦肩面形成体とを備え、
前記畦肩面形成体の前記段差部は、前記畦上面形成体の前記段差部とは非連続である
ことを特徴とする畦形成手段。
【請求項6】
土を盛り上げる盛土手段と、
前記盛土手段による盛土を締め固めて畦を形成する請求項5記載の畦形成手段と
を具備することを特徴とする畦塗り機。
発明の詳細な説明
【技術分野】
【0001】
本発明は、畦塗り機に用いられる畦上面ローラ、畦形成手段及び畦塗り機に関するものである。
続きを表示(約 1,100 文字)
【背景技術】
【0002】
従来、例えば下記の特許文献1に記載された畦上面ローラが知られている。この従来の畦上面ローラは、所定方向に回転しながら畦上面を形成する畦上面形成体を備え、この畦上面形成体の端部には、段差がない円錐台状の畦肩面形成体(肩部整畦部)が設けられている。つまり、この畦肩面形成体の外周面は、截頭円錐面状に形成されている。
【先行技術文献】
【特許文献】
【0003】
特開2013-230092号公報(図7)
【発明の概要】
【発明が解決しようとする課題】
【0004】
しかしながら、上記従来の畦上面ローラでは、畦肩面形成体の外周面が截頭円錐面状に形成されているため、当該畦肩面形成体による土の締め固めが不十分となるおそれがある。
【0005】
本発明は、このような点に鑑みなされたもので、強固な畦肩面を形成できる畦上面ローラ、畦形成手段及び畦塗り機を提供することを目的とする。
【課題を解決するための手段】
【0006】
請求項1記載の畦上面ローラは、畦塗り機に用いられる畦上面ローラであって、段差部を有する畦上面形成体と、段差部を有する畦肩面形成体とを備え、前記畦肩面形成体の前記段差部は、前記畦上面形成体の前記段差部とは非連続であるものである。
【0007】
請求項2記載の畦上面ローラは、畦塗り機に用いられる畦上面ローラであって、段差部を有する畦上面形成体と、段差部を有する畦肩面形成体とを備え、前記畦肩面形成体は、回転方向に並んで位置する複数の畦肩面形成部を有し、前記畦肩面形成体の前記段差部は、前記回転方向に互いに隣り合う前記畦肩面形成部間に位置するとともに、前記畦上面形成体の前記段差部とは非連続であるものである。
【0008】
請求項3記載の畦上面ローラは、請求項1又は2記載の畦上面ローラにおいて、畦肩面形成体の段差部は、畦上面形成体の段差部に対して回転方向にずれているものである。
【0009】
請求項4記載の畦上面ローラは、請求項1ないし3のいずれか一記載の畦上面ローラにおいて、畦肩面形成体の段差部における畦上面形成体側の端部は、前記畦上面形成体のうち回転方向に互いに隣り合う段差部間の所定位置付近に位置するものである。
【0010】
請求項5記載の畦形成手段は、畦塗り機に用いられる畦形成手段であって、段差部を有する畦側面形成体と、段差部を有する畦上面形成体と、段差部を有する畦肩面形成体とを備え、前記畦肩面形成体の前記段差部は、前記畦上面形成体の前記段差部とは非連続であるものである。
(【0011】以降は省略されています)
この特許をJ-PlatPat(特許庁公式サイト)で参照する
関連特許
松山株式会社
農作業機
16日前
松山株式会社
農作業機
1か月前
松山株式会社
農作業機
1か月前
松山株式会社
農作業機
1か月前
松山株式会社
農作業機
1か月前
松山株式会社
草刈作業機
3か月前
松山株式会社
農作業機用制御システム
1か月前
松山株式会社
農作業機用制御システム及び農作業方法
1か月前
松山株式会社
畦上面ローラ、畦形成手段及び畦塗り機
2日前
個人
草刈り鋏
2日前
個人
虫捕り器
20日前
個人
刈込鋏保持具
16日前
個人
後付巻降ろし器
20日前
個人
飼育容器
1か月前
個人
イカ釣り用ヤエン
20日前
株式会社丹勝
緑化工法
17日前
井関農機株式会社
作業車両
20日前
井関農機株式会社
作業車両
10日前
井関農機株式会社
作業車両
20日前
井関農機株式会社
作業車両
18日前
井関農機株式会社
作業車両
10日前
株式会社シマノ
釣竿
20日前
個人
四足動物用装着具
3日前
個人
水耕栽培システム
1か月前
大栄工業株式会社
捕獲器
10日前
井関農機株式会社
作業車両
16日前
株式会社オーツボ
海苔箱船
2日前
井関農機株式会社
作業車両
1か月前
井関農機株式会社
作業車両
3日前
松山株式会社
農作業機
1か月前
個人
妻面トラス梁付き園芸用ハウス
1か月前
松山株式会社
農作業機
16日前
個人
伸縮する草刈り機の可動装置。
20日前
トヨタ自動車株式会社
育苗装置
17日前
スガノ農機株式会社
圃場作業装置
17日前
みのる産業株式会社
茎葉処理装置
4日前
続きを見る
他の特許を見る