TOP
|
特許
|
意匠
|
商標
特許ウォッチ
Twitter
他の特許を見る
10個以上の画像は省略されています。
公開番号
2025159704
公報種別
公開特許公報(A)
公開日
2025-10-21
出願番号
2025036275
出願日
2025-03-07
発明の名称
有機エレクトロルミネッセンスデバイス
出願人
株式会社カネカ
代理人
個人
,
個人
主分類
H10K
50/11 20230101AFI20251014BHJP()
要約
【課題】特殊なデバイス構造を必要とせず、既存の発光材料から円偏光発光を誘起する有機エレクトロルミネッセンスデバイスを提供する。
【解決手段】本発明に係る有機エレクトロルミネッセンスデバイスは、発光層を備える有機エレクトロルミネッセンスデバイスであって、発光層は、液晶材料を含み、液晶材料は、単一の分子量を有する1種類の化合物、又は複数種類の該化合物を混合した組成物であり、液晶材料は、25℃において、(i)キラルネマチック液晶相を呈する;又は、(ii)キラルネマチック液晶相を反映した分子配向性を有し、かつ、ガラス状態を発現する;
の条件を満たす。
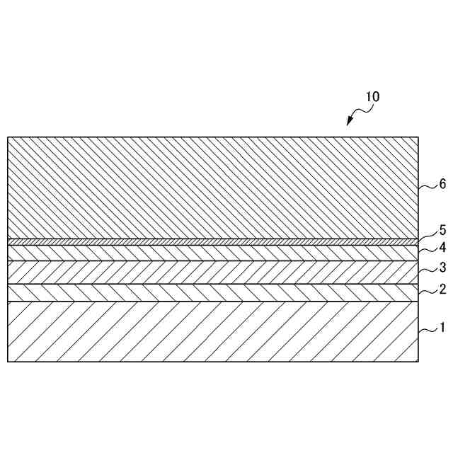
【選択図】図1
特許請求の範囲
【請求項1】
発光層を備える有機エレクトロルミネッセンスデバイスであって、
前記発光層は、液晶材料を含み、
前記液晶材料は、単一の分子量を有する1種類の化合物、又は複数種類の該化合物を混合した組成物であり、
前記液晶材料は、25℃において下記(i)又は(ii):
(i)キラルネマチック液晶相を呈する;
(ii)キラルネマチック液晶相を反映した分子配向性を有し、かつ、ガラス状態を発現する;
の条件を満たす、有機エレクトロルミネッセンスデバイス。
続きを表示(約 570 文字)
【請求項2】
前記発光層の厚みが10nm以上500nm以下である、請求項1に記載の有機エレクトロルミネッセンスデバイス。
【請求項3】
前記液晶材料が、ネマチック液晶性を示す化合物又は組成物と、キラル化合物とを含む、請求項1又は2に記載の有機エレクトロルミネッセンスデバイス。
【請求項4】
前記発光層が、分子量200以上5000以下の化合物のみで構成されている、請求項1又は2に記載の有機エレクトロルミネッセンスデバイス。
【請求項5】
前記発光層が、発光材料をさらに含み、
前記発光材料の発光極大波長が前記液晶材料の発光極大波長よりも長波長側にある、請求項1又は2に記載の有機エレクトロルミネッセンスデバイス。
【請求項6】
前記発光材料が、燐光発光材料、又はTADF(熱活性化遅延蛍光)特性を有する発光材料である、請求項5に記載の有機エレクトロルミネッセンスデバイス。
【請求項7】
前記発光層の隣接面に配向膜が形成されていない、請求項1又は2に記載の有機エレクトロルミネッセンスデバイス。
【請求項8】
円偏光非対称性因子g値の絶対値が0.1以上である、請求項1又は2に記載の有機エレクトロルミネッセンスデバイス。
発明の詳細な説明
【技術分野】
【0001】
本発明は、有機エレクトロルミネッセンスデバイスに関する。
続きを表示(約 1,900 文字)
【背景技術】
【0002】
有機エレクトロルミネッセンス技術は、スマートフォン、テレビ、ヘッドマウントディスプレイ、照明など、幅広い用途で実用化されている。多くの有機エレクトロルミネッセンスディスプレイにおいて、視認性改善や光学制御のために、偏光板及び1/4位相差板を用いた偏光及び円偏光への位相変換が行われている。
【0003】
しかし、偏光板を用いた位相変換は、原理的に50%の光強度の減衰が生じる。この光強度の減衰は、デバイス全体のエネルギー効率低下につながり、ディスプレイデバイス開発における大きな課題となっている。
【0004】
この課題の解決のために、偏光板レスのデバイス構造や偏光発光性有機エレクトロルミネッセンスデバイスの提案がなされてきた。前者は、偏光を利用したときのメリットである視野角改善や反射光防止の機能を別の部材へ搭載する必要があるため、コスト面で不利となる。後者は、高分子有機エレクトロルミネッセンス発光材料では盛んに検討されていたが、エネルギー効率が高い三重項励起状態を利用した発光材料では偏光特性の付与が難しく、実用化には至っていない。
【0005】
また、高分子有機エレクトロルミネッセンス発光材料を用いた円偏光発光については、円偏光発光特性と電気特性及び外部量子収率とを両立させた形では実現されていない。このため、偏光及び円偏光発光特性を付与した発光材料の開発は、有機エレクトロルミネッセンス技術のさらなる発展に寄与すると期待される。
【0006】
発光材料に円偏光特性を付与させるためにキラルネマチック液晶のらせん構造を利用することは、その円偏光純度の高さから期待されている技術である。キラルネマチック液晶は、配向に関する秩序を持つネマチック液晶に光学活性分子が含まれることによって隣接分子間にねじれが生じることで、分子軸に垂直な方向にらせん周期構造が発現しているものである。この周期構造は長距離相関を取り、数cmにわたって周期が持続することがある。また、周期構造のピッチ(すなわち、らせんピッチp)は、数百nmから無限大まで分布する。
【0007】
キラルネマチック液晶の特徴的な特性の1つとして、らせん周期構造のブラッグ反射に起因する選択反射がある。選択反射する光の波長λは、らせんピッチp及び液晶分子の屈折率nによりλ=1/npと規定される。また、選択反射を起こすのはキラルネマチック液晶のらせん構造に対応した片方向の円偏光のみであり、もう一方の円偏光は透過する特性を持つ。
【0008】
ところで、円偏光発光材料を有機エレクトロルミネッセンスデバイスの発光層として用いるためには、駆動電圧を低く抑えるために薄膜(フィルム状)にする必要があり、膜厚をnmオーダーに抑える必要がある。一般的に、キラルネマチック液晶を用いた円偏光発光材料の殆どは、膜厚がnmオーダー以下になると円偏光特性が失われることが知られている。
【0009】
nmオーダー以下で円偏光特性を発現しているものの例として、例えば、非特許文献1においては、液晶性共役系高分子であるF8BTに対してキラル誘起材としてヘリセンを組み合わせることで、特殊なキラル構造を誘起し、薄膜での円偏光発光を実現している。これは、限定的な組み合わせのみで生じるキラル構造であり、より汎用性の高い円偏光発光の手法が望まれている。一方、非特許文献2においては、液晶の一部を配向させたキラルネマチック液晶とすることで、理想的な位相変化を引き起こすことにより円偏光発光を達成している。ただし、この手法は、デバイスに配向膜を形成する必要があり、有機エレクトロルミネッセンス駆動時の電気特性を悪化させるため、配向膜を用いない手法が望まれている。
【0010】
一般的に、円偏光発光材料としては、純粋な円偏光が得られるものは無く、右及び左の円偏光が混在した楕円偏光が得られるものしか報告されていない。円偏光の純度を示す指標として、左右円偏光の偏り度合いを表すg値が広く用いられている。g値は左円偏光強度IL及び右円偏光強度IRにより、g=2(IL-IR)/(IL+IR)で表される。g値は-2以上2以下の値をとり、g=0であれば非円偏光、|g|=2であれば純粋な円偏光であることを示す。
【先行技術文献】
【非特許文献】
(【0011】以降は省略されています)
この特許をJ-PlatPat(特許庁公式サイト)で参照する
関連特許
株式会社カネカ
飲料
17日前
株式会社カネカ
飲料
17日前
株式会社カネカ
抗菌剤
28日前
株式会社カネカ
医療用具
21日前
株式会社カネカ
製膜装置
21日前
株式会社カネカ
塗布装置
25日前
株式会社カネカ
積層装置
25日前
株式会社カネカ
製膜装置
21日前
株式会社カネカ
カテーテル
15日前
株式会社カネカ
カテーテル
15日前
株式会社カネカ
カテーテル
15日前
株式会社カネカ
カテーテル
15日前
株式会社カネカ
カテーテル
16日前
株式会社カネカ
カテーテル
14日前
株式会社カネカ
カテーテル
21日前
株式会社カネカ
カテーテル
21日前
株式会社カネカ
カテーテル
21日前
株式会社カネカ
正極活物質
25日前
株式会社カネカ
シーリング材
14日前
株式会社カネカ
生体内留置具
21日前
株式会社カネカ
硬化性組成物
1か月前
株式会社カネカ
樹脂チューブ
1か月前
株式会社カネカ
酵母含有菓子
16日前
株式会社カネカ
重量物載置架台
14日前
株式会社カネカ
医療用具セット
17日前
株式会社カネカ
顆粒の製造方法
25日前
株式会社カネカ
油脂の製造方法
23日前
株式会社カネカ
フィルム延伸装置
25日前
株式会社カネカ
フィルム延伸装置
23日前
株式会社カネカ
樹脂粒子の製造方法
29日前
株式会社カネカ
可撓性ガス拡散電極
25日前
株式会社カネカ
太陽電池モジュール
23日前
株式会社カネカ
バルーンカテーテル
23日前
株式会社カネカ
バルーンカテーテル
17日前
株式会社カネカ
太陽電池モジュール
14日前
株式会社カネカ
予測方法及び製造方法
17日前
続きを見る
他の特許を見る