TOP
|
特許
|
意匠
|
商標
特許ウォッチ
Twitter
他の特許を見る
公開番号
2025161300
公報種別
公開特許公報(A)
公開日
2025-10-24
出願番号
2024064384
出願日
2024-04-12
発明の名称
スクリューポンプ
出願人
伏虎金属工業株式会社
代理人
個人
,
個人
主分類
F04C
2/18 20060101AFI20251017BHJP(液体用容積形機械;液体または圧縮性流体用ポンプ)
要約
【課題】組立不良や、スクリュー嵌合軸部と軸嵌合孔の嵌合状態によって、スクリューを回転軸から抜き取るのに大きな力を加えないといけない場合においても、容易にスクリューと回転軸との嵌合を解除することができるスクリューポンプを提供する。
【解決手段】
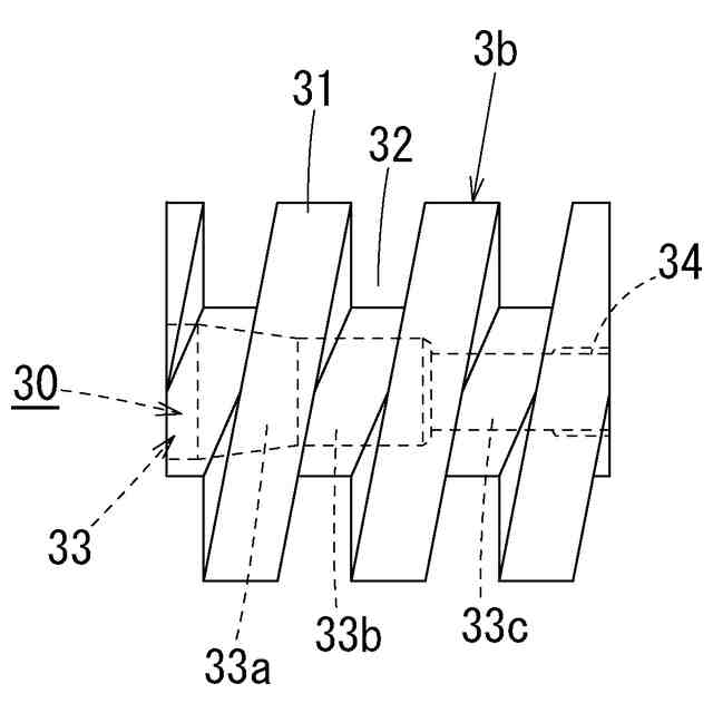
回転軸2a,2bのスクリュー嵌合軸部22に、遊動端に向かって徐々に縮径する円錐台形状のテーパ軸部22aを設ける一方、スクリュー3a,3bの軸嵌合孔部33に、テーパ軸部22aのテーパ角と同じテーパ角を有するテーパ孔部33aを設け、テーパ軸部22aの外周面と、テーパ孔部33aの内周面が密着するように、スクリュー嵌合軸部22と軸嵌合孔部33を嵌合させて、つねにスクリュー3a、3bが芯ずれのない状態にできるようにするとともに、スクリュー3a、3bに設けられた雌ねじ部34に抜きボルト5をねじ込むことができるようにした。
【選択図】 図1
特許請求の範囲
【請求項1】
ケーシングと、
このケーシング内で、その一端部が軸受けされるとともに、その他端部にスクリュー嵌合軸部を有し、前記スクリュー嵌合軸部の先端に抜け止めボルト用雌ねじ孔が穿設された少なくとも1本の回転軸と、
貫通孔を有し、この貫通孔が、少なくともその一端部に前記スクリュー嵌合軸部に嵌合する軸嵌合孔部を有し、前記スクリュー嵌合軸部が前記軸嵌合孔部に嵌合した状態で、前記ケーシング内で前記回転軸の回転に伴って回転可能なスクリューと、
このスクリューが、前記スクリュー嵌合軸部を前記軸嵌合孔部に嵌合し、前記抜け止めボルトを、前記抜け止めボルト用雌ねじ孔に螺合して、前記抜け止めボルトの頭部によって、前記スクリュー嵌合軸部からの抜け止め状態にされるスクリューポンプであって、
前記貫通孔が、前記抜き止めボルトが取り除かれ、抜きボルトの先端が前記スクリュー嵌合軸部の先端に当接した状態で、前記抜きボルトがねじ込み可能な雌ねじ部を内面に備えていることを特徴とするスクリューポンプ。
続きを表示(約 160 文字)
【請求項2】
前記回転軸を2本以上有し、
これらの回転軸に前記スクリューが、それぞれ前記抜け止め状態に装着されるとともに、
前記抜け止め状態で、隣り合うスクリューが、一方のスクリューのスクリュー溝に、他方のスクリューのスクリュー刃が入り込んだ状態となる請求項1に記載のスクリューポンプ。
発明の詳細な説明
【技術分野】
【0001】
本発明は、スクリューポンプに関する。
続きを表示(約 2,800 文字)
【背景技術】
【0002】
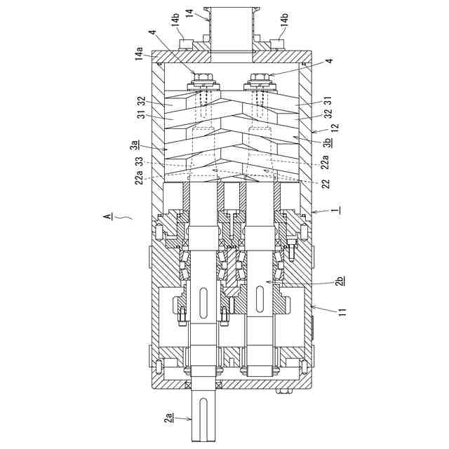
流動食材や化粧品を移送するポンプとして、2軸スクリューポンプが用いられており、本発明の出願人も、たとえば、既に図8に示す2軸スクリューポンプXを上市している(非特許文献1)。
図8に示すように、この2軸スクリューポンプXは、通常、図示していないモータによって回転駆動する2本の回転軸100a、100bと、2つのスクリュー(ローター)200a,200bを備えている。
【0003】
2つのスクリュー200a,200bは、スクリュー羽根210およびスクリュー溝220が他方に対して螺旋方向が逆になっているとともに、一方のスクリュー200a(200b)のスクリュー羽根210が、他方のスクリュー200b(200a)のスクリュー溝220に噛み合った状態でケーシング300内に収容されている。
そして、2つのスクリュー200a,200bは、回転軸100a、100bに設けられたスクリュー嵌合軸部110が、スクリュー200a,200bに穿設された軸嵌合孔部230に嵌合し、図示していないキーによりスクリュー200a,200bの軸まわりの位置決めをした状態で回転軸100a、100bの先端に設けられた抜け止めボルト用雌ねじ孔130にスクリュー200a,200bの開放端側から抜け止めボルト(固定ボルト)400を螺合させることによって、回転軸100a、100bに抜け止め状態となり、回転軸100a、100bの回転に伴ってケーシング300内で回転するようになっている。
そして、上記スクリューポンプにおいては、スクリュー嵌合軸部が、徐々に縮径する円錐台形状のテーパ軸部を有し、スクリューの軸嵌合孔部に、前記テーパ軸部と同じテーパ角で縮径し、テーパ軸部に嵌合するテーパ孔部を設けたものもある。
【先行技術文献】
【非特許文献】
【0004】
https://www.fukko.com/products/screw/
【発明の概要】
【発明が解決しようとする課題】
【0005】
しかし、上記のようにテーパ軸部とテーパ孔を設ける構成においては、テーパ軸部の軸方向の長さおよびテーパ孔の軸方向の長さを長くすると、嵌め合いが強固になりすぎて、スクリューを容易に取り外すことができない。
したがって、取り外しに専門的な工具が必要となるとともに、分解に、多大な時間が必要になるため、頻繁に分解清掃が必要な用途の場合、分解に要するコストがかかりすぎるという問題がある。
【0006】
本発明は、上記事情に鑑みて、回転軸とスクリューとの嵌め合いが強固で、スクリューを回転軸から抜き取るのに大きな力を加えないといけない場合においても、容易にスクリューと回転軸との嵌合を解除することができるスクリューポンプを提供することを目的としている。
【課題を解決するための手段】
【0007】
上記目的を達成するために、本発明のスクリューポンプは、ケーシングと、このケーシング内で、その一端部が軸受けされるとともに、その他端部にスクリュー嵌合軸部を有し、前記スクリュー嵌合軸部の先端に抜け止めボルト用雌ねじ孔が穿設された少なくとも1本の回転軸と、貫通孔を有し、この貫通孔が、少なくともその一端部に前記スクリュー嵌合軸部に嵌合する軸嵌合孔部を有し、前記スクリュー嵌合軸部が前記軸嵌合孔部に嵌合した状態で、前記ケーシング内で前記回転軸の回転に伴って回転可能なスクリューと、このスクリューが、前記スクリュー嵌合軸部を前記軸嵌合孔部に嵌合し、前記抜け止めボルトを、前記抜け止めボルト用雌ねじ孔に螺合して、前記抜け止めボルトの頭部によって、前記スクリュー嵌合軸部からの抜け止め状態にされるスクリューポンプであって、前記貫通孔が、前記抜き止めボルトが取り除かれ、抜きボルトの先端が前記スクリュー嵌合軸部の先端に当接した状態で、前記抜きボルトがねじ込み可能な雌ねじ部を内面に備えていることを特徴としている。
【0008】
本発明のスクリューポンプは、特に限定されないが、回転軸を2本以上有し、これらの回転軸に前記スクリューが、それぞれ前記抜け止め状態に装着されるとともに、前記抜け止め状態で、隣り合うスクリューが、一方のスクリューのスクリュー溝に、他方のスクリューのスクリュー羽根が入り込んだ状態となるような多軸スクリューポンプに好適である。
すなわち、上記のように、隣り合うスクリューにおいて、一方のスクリューのスクリュー溝に、他方のスクリューのスクリュー羽根が入り込んだ状態になっている場合、スクリューを傷めないように、両方のスクリューをうまくほぼ平行を保ちつつ引き抜く必要があるが、スクリューを手で引き抜くには力加減が難しいが、それぞれの抜きボルトを徐々にバランスよく回転させることで、両方のスクリューをうまくほぼ平行を保ちつつ容易に引き抜くことができる。
【発明の効果】
【0009】
本発明のスクリューポンプは、上記のように、ケーシングと、このケーシング内で、その一端部が軸受けされるとともに、その他端部にスクリュー嵌合軸部を有し、前記スクリュー嵌合軸部の先端に抜け止めボルト用雌ねじ孔が穿設された少なくとも1本の回転軸と、貫通孔を有し、この貫通孔が、少なくともその一端部に前記スクリュー嵌合軸部に嵌合する軸嵌合孔部を有し、前記スクリュー嵌合軸部が前記軸嵌合孔部に嵌合した状態で、前記ケーシング内で前記回転軸の回転に伴って回転可能なスクリューと、このスクリューが、前記スクリュー嵌合軸部を前記軸嵌合孔部に嵌合し、前記抜け止めボルトを、前記抜け止めボルト用雌ねじ孔に螺合して、前記抜け止めボルトの頭部によって、前記スクリュー嵌合軸部からの抜け止め状態にされるスクリューポンプであって、前記貫通孔が、前記抜き止めボルトが取り除かれ、抜きボルトの先端が前記スクリュー嵌合軸部の先端に当接した状態で、前記抜きボルトがねじ込み可能な雌ねじ部を内面に備えているので、以下のような作用効果を備えている。
【0010】
すなわち、スクリュー嵌合軸部から抜け止めボルトを取り外したのち、抜きボルトを雌ねじ部に締め込んでいくと、まず、抜きボルトの先端がスクリュー嵌合軸部の先端に受けられる。
さらに、スパナ等の工具を用いて締め込んでいくと、抜きボルトにかかる回転軸からの反力によって、スクリューが抜け方向にスライドして、容易に取り外すことができる。
【図面の簡単な説明】
(【0011】以降は省略されています)
この特許をJ-PlatPat(特許庁公式サイト)で参照する
関連特許
伏虎金属工業株式会社
スクリューポンプ
11日前
個人
海流製造装置。
1か月前
株式会社スギノマシン
圧縮機
26日前
株式会社ツインバード
送風装置
1か月前
株式会社ツインバード
送風装置
1か月前
カヤバ株式会社
電動ポンプ
2か月前
日機装株式会社
遠心ポンプ
18日前
株式会社不二越
蓄圧装置
3か月前
ビッグボーン株式会社
送風装置
2か月前
株式会社酉島製作所
ポンプ
4か月前
株式会社ノーリツ
ロータリ圧縮機
2か月前
株式会社不二越
ベーンポンプ
3か月前
サンデン株式会社
スクロール圧縮機
1か月前
樫山工業株式会社
真空ポンプ
27日前
株式会社ノーリツ
ロータリー圧縮機
4か月前
株式会社坂製作所
スクロール圧縮機
4か月前
サンデン株式会社
スクロール圧縮機
1か月前
サンデン株式会社
スクロール圧縮機
1か月前
サンデン株式会社
可変容量型圧縮機
5日前
小倉クラッチ株式会社
ルーツブロア
3か月前
株式会社島津製作所
真空ポンプ
2か月前
株式会社アイシン
ポンプケース
1か月前
株式会社チロル
送風機、送風機付衣服
2か月前
株式会社島津製作所
真空ポンプ
1か月前
エドワーズ株式会社
真空ポンプ
1か月前
株式会社豊田自動織機
流体機械
2か月前
株式会社豊田自動織機
電動圧縮機
3か月前
株式会社豊田自動織機
電動圧縮機
1か月前
株式会社豊田自動織機
電動圧縮機
3か月前
株式会社豊田自動織機
電動圧縮機
3か月前
株式会社豊田自動織機
電動圧縮機
2か月前
株式会社豊田自動織機
電動圧縮機
2か月前
株式会社豊田自動織機
電動圧縮機
1か月前
NTN株式会社
電動オイルポンプ
1か月前
株式会社豊田自動織機
電動圧縮機
3か月前
已久工業股ふん有限公司
空気圧縮機構造
3か月前
続きを見る
他の特許を見る