TOP
|
特許
|
意匠
|
商標
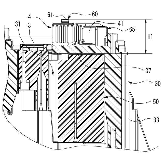
特許ウォッチ
Twitter
他の特許を見る
10個以上の画像は省略されています。
公開番号
2025149218
公報種別
公開特許公報(A)
公開日
2025-10-08
出願番号
2024049721
出願日
2024-03-26
発明の名称
電気接続箱
出願人
矢崎総業株式会社
代理人
弁理士法人栄光事務所
主分類
H02G
3/16 20060101AFI20251001BHJP(電力の発電,変換,配電)
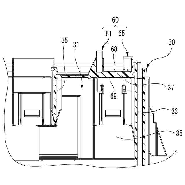
要約
【課題】ヒューズプラー保持部の高さ寸法を抑えて小型化できる電気接続箱を提供する。
【解決手段】電気接続箱は、ヒューズ3が組み付けられた接続体50と、接続体50が嵌合及び保持される嵌合保持部31を有するフレーム30と、嵌合保持部31の上端開口部に架け渡されてフレーム30の剛性を高める補強用梁部37と、ヒューズ3を接続体50から引き抜くためのヒューズプラー4と、補強用梁部37の上面に設けられ、ヒューズプラー4を寝かせた状態で保持するヒューズプラー保持部60と、を備える。
【選択図】図6
特許請求の範囲
【請求項1】
ヒューズが組み付けられた接続体と、
前記接続体が嵌合及び保持される嵌合保持部を有するフレームと、
前記嵌合保持部の上端開口部に架け渡されて前記フレームの剛性を高める補強用梁部と、
前記ヒューズを前記接続体から引き抜くための治具であるヒューズプラーと、
前記補強用梁部の上面に設けられ、前記ヒューズプラーを寝かせた状態で保持するヒューズプラー保持部と、
を備える電気接続箱。
続きを表示(約 250 文字)
【請求項2】
前記ヒューズプラー保持部は、
前記補強用梁部の上面に垂設され、前記ヒューズプラーにおける一対の挟持板の先端部が着脱自在に挟持される挟持部と、
前記補強用梁部の上面に垂設され、前記一対の挟持板同士を連結した湾曲形状のばね部が着脱自在に嵌挿される嵌挿部と、
を備える請求項1に記載の電気接続箱。
【請求項3】
前記嵌挿部の上端部には、先端外周面に係止突起が突設された一対の可撓係止片が形成されている、
請求項2に記載の電気接続箱。
発明の詳細な説明
【技術分野】
【0001】
本発明は、電気接続箱に関する。
続きを表示(約 1,300 文字)
【背景技術】
【0002】
従来の電気接続箱は、ヒューズやリレーが組み付けられるフレームにヒューズプラー収納部(ヒューズプラー保持部)を一体に設け、このヒューズプラー収納部にヒューズプラーを常時収納している。ヒューズプラーは、樹脂成形品であり、ヒューズをフレームから引き抜くための治具である。ところが、電気接続箱の構成部品としてヒューズプラーを備えている分、部品点数や組立工数が増加し、コスト高になってしまうという問題があった。
【0003】
そこで、特許文献1に開示されている電気接続箱では、フレームと、フレームに組みつけられる複数の樹脂ブロック(接続体)と、樹脂ブロックに組みつけられるヒューズと、フレームに一体成形されたヒューズプラーと、を備えている。そして、ヒューズプラーは、フレームから容易に分離することが可能な脆弱部を介してフレームに連なっている。また、一つの樹脂ブロックには、フレームから分離されたヒューズプラーを収納可能なヒューズプラー収納部が設けられている。
【0004】
この電気接続箱によれば、ヒューズプラーをフレームに一体成形することで、ヒューズプラーを別途製造し、部品管理し、フレームに組み付ける必要がなくなり、製造コストを下げることができる。
【先行技術文献】
【特許文献】
【0005】
特開2023-13479号公報
【発明の概要】
【発明が解決しようとする課題】
【0006】
しかしながら、従来と同様に特許文献1に開示された電気接続箱においても、上方からの投影面積を小さくして省スペース効率を高めるために、ヒューズプラーを立てた状態で収納する縦置き構造のヒューズプラー収納部が、樹脂ブロックに設けられている。
【0007】
即ち、図9に示すように、フレーム530に組みつけられる樹脂ブロック(接続体)550におけるヒューズプラー収納部560は、ヒューズプラー4を立てた状態で収納する縦置き構造の場合、ヒューズプラー4の長手方向長さに対応した高さ寸法H2が必要となり、小型化が難しいという問題があった。
【0008】
本発明は上記状況に鑑みてなされたもので、その目的は、ヒューズプラー保持部の高さ寸法を抑えて小型化できる電気接続箱を提供することにある。
【課題を解決するための手段】
【0009】
本発明に係る上記目的は、下記構成により達成される。
ヒューズが組み付けられた接続体と、前記接続体が嵌合及び保持される嵌合保持部を有するフレームと、前記嵌合保持部の上端開口部に架け渡されて前記フレームの剛性を高める補強用梁部と、前記ヒューズを前記接続体から引き抜くための治具であるヒューズプラーと、前記補強用梁部の上面に設けられ、前記ヒューズプラーを寝かせた状態で保持するヒューズプラー保持部と、を備える電気接続箱。
【発明の効果】
【0010】
本発明に係る電気接続箱によれば、ヒューズプラー保持部の高さ寸法を抑えて小型化できる。
(【0011】以降は省略されています)
この特許をJ-PlatPat(特許庁公式サイト)で参照する
関連特許
矢崎総業株式会社
箱状体
4日前
矢崎総業株式会社
箱状体
4日前
矢崎総業株式会社
コネクタ
2日前
矢崎総業株式会社
コネクタ
5日前
矢崎総業株式会社
止水部材
9日前
矢崎総業株式会社
照明構造
9日前
矢崎総業株式会社
コネクタ
3日前
矢崎総業株式会社
コネクタ
5日前
矢崎総業株式会社
コネクタ
9日前
矢崎総業株式会社
コネクタ
5日前
矢崎総業株式会社
コネクタ
9日前
矢崎総業株式会社
コネクタ
4日前
矢崎総業株式会社
コネクタ
4日前
矢崎総業株式会社
プロテクタ
9日前
矢崎総業株式会社
電気接続箱
4日前
矢崎総業株式会社
電気接続箱
4日前
矢崎総業株式会社
電気接続箱
4日前
矢崎総業株式会社
ゴムブーツ
9日前
矢崎総業株式会社
電流検出装置
11日前
矢崎総業株式会社
フラット導体
4日前
矢崎総業株式会社
バスバ配置構造
4日前
矢崎総業株式会社
コネクタユニット
10日前
矢崎総業株式会社
箱状体、及び、電気接続箱
4日前
矢崎総業株式会社
バッテリシェアリングシステム
5日前
矢崎総業株式会社
コネクタおよびワイヤハーネス
9日前
矢崎総業株式会社
コネクタおよびワイヤハーネス
9日前
矢崎総業株式会社
コネクタおよびワイヤハーネス
9日前
矢崎総業株式会社
電線間止水材及びワイヤハーネス
9日前
矢崎総業株式会社
照明、照明と被取付部材との防水構造
9日前
矢崎総業株式会社
フラット導体及びフラット導体の製造方法
4日前
矢崎総業株式会社
加締型、端子付き電線の製造方法、及び、端子付き電線
5日前
矢崎総業株式会社
加締型、端子付き電線の製造方法、及び、端子付き電線
5日前
個人
バッテリ内蔵直流電源
23日前
株式会社アイシン
ロータ
2日前
株式会社FUJI
制御盤
13日前
オムロン株式会社
電源回路
17日前
続きを見る
他の特許を見る