TOP
|
特許
|
意匠
|
商標
特許ウォッチ
Twitter
他の特許を見る
公開番号
2025148813
公報種別
公開特許公報(A)
公開日
2025-10-08
出願番号
2024049124
出願日
2024-03-26
発明の名称
コネクタ
出願人
矢崎総業株式会社
代理人
個人
,
個人
,
個人
主分類
H01R
13/631 20060101AFI20251001BHJP(基本的電気素子)
要約
【課題】オス端子のタブの先端部側が曲がっていたとしても、オスハウジングへのメスハウジングの嵌合作業を安定的に行う。
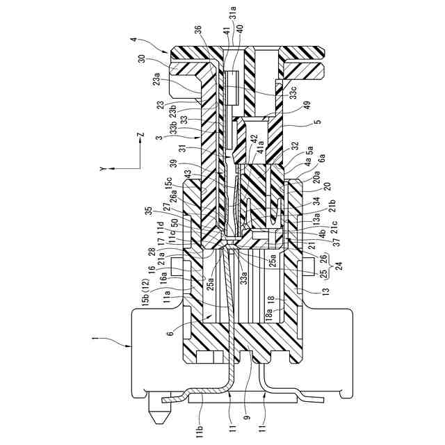
【解決手段】コネクタは、オスハウジング1と、該オスハウジング1に収容されるメスハウジング2とを有する。メスハウジング2は、アウタハウジング3と、アウタハウジング3に収容されるインナハウジング4とを有する。オスハウジング1は、オス端子のタブ11の直線部11aが貫通した基壁9と、基壁9から立設した周壁10を有する。周壁10のうち基壁9と隣接する側には、アウタハウジング3の上下方向位置を規制する第1リブ16および第2リブ18が設けられている。一方、周壁10のうち基壁9と反対側では、アウタハウジング3およびインナハウジング4の上下方向の移動が許容されている。また、アウタハウジング3の挿入孔24は、タブ11の挿入方向Zに向かうにつれて内側に傾斜する傾斜部25を有する。
【選択図】図5
特許請求の範囲
【請求項1】
基壁と該基壁から立設した周壁とによって囲まれたハウジング収容部を有し、前記基壁を貫通して前記ハウジング収容部内に突出するタブが設けられてなるオスハウジングと、
前記オスハウジングの前記ハウジング収容部に収容されるメスハウジングであって、前記基壁と対向し、前記タブが挿入される挿入孔が形成された対向壁を有したアウタハウジングと、前記タブと電気的に接続される接触部を有し、前記タブの挿入方向と交差する方向に対する移動が許容された状態で前記アウタハウジングに収容されるインナハウジングとを有した前記メスハウジングと、
を備え、
前記ハウジング収容部のうち前記タブの挿入方向において前記基壁と反対側では、前記タブの挿入方向と交差する方向において前記オスハウジングに対する前記メスハウジングの移動が許容されており、
前記ハウジング収容部のうち前記タブの挿入方向において前記基壁側では、前記周壁の内側面から前記ハウジング収容部の内部側に突出し、互いに対向する第1リブおよび第2リブが形成されており、前記第1リブおよび前記第2リブは、前記タブの挿入方向と交差する方向において前記オスハウジングに対する前記メスハウジングの移動を規制し、
前記挿入孔は、前記タブの挿入方向における入口側に形成され、前記タブの挿入方向に向かうにつれて内側に傾斜する傾斜部と、前記タブの挿入方向において出口側に形成され、前記タブの挿入方向に沿って延びる非傾斜部とを有する、
ことを特徴とするコネクタ。
続きを表示(約 550 文字)
【請求項2】
前記周壁は、前記タブの挿入方向において前記第1リブと隣接した位置に形成され、前記タブの挿入方向に向かうにつれて外側に傾斜する勾配部を有し、
前記アウタハウジングは、前記対向壁と、前記対向壁から立設した一対の側壁と、前記対向壁および前記一対の側壁と結合され、前記タブの挿入方向と交差する方向における一端側に設けられた上側壁とを有し、
前記アウタハウジングは、前記上側壁の外側の面である上面と、前記タブの挿入方向における前記対向壁の両面のうち前記基壁と対向する側の面である前方面との間に形成された斜面を有することを特徴とする請求項1に記載のコネクタ。
【請求項3】
前記アウタハウジングは、前記対向壁と、前記対向壁から立設した一対の側壁と、前記対向壁および前記一対の側壁と結合され、前記タブの挿入方向と交差する方向における一端側に設けられた上側壁とを有し、
前記オスハウジングの前記周壁は、前記ハウジング収容部のうち前記タブの挿入方向における前記基壁とは反対側に形成された第3リブを有し、前記第3リブは、前記タブの挿入方向と交差する方向における他端において前記インナハウジングの位置を規制することを特徴とする請求項1に記載のコネクタ。
発明の詳細な説明
【技術分野】
【0001】
本発明は、コネクタに関する。
続きを表示(約 2,000 文字)
【背景技術】
【0002】
図7に示すように、特許文献1のコネクタ44は、ハウジング45と、該ハウジング45の前面45aを覆うようにハウジング45に固定されたフロントマスク46とを備えている。ハウジング45は、前面45aから後面45bに延びる図示せぬ複数の端子収容室を有している。各端子収容室には、メス端子47が収容されている。
【0003】
また、フロントマスク46のうちハウジング45の各端子収容室に対応する位置には、複数の挿入孔48がタブ挿入方向Iに沿って形成されている。各挿入孔48には、図示せぬオス端子のタブが挿入される。挿入孔48の入口側(図7の左側)には、タブ挿入方向Iに向かうにつれて内側に傾斜する4つの傾斜面48aを有した四角錐状に形成されている。
【先行技術文献】
【特許文献】
【0004】
特開2020-87811号公報
【発明の概要】
【発明が解決しようとする課題】
【0005】
特許文献1では、例えばオス端子のタブの挿入工程前の作業においてタブの先端部側が変形し、タブの挿入方向Iに対して曲がってしまった場合にこのタブを挿入孔48に挿入していくと、フロントマスク46がハウジング45に固定されているため、タブの先端部が傾斜面48aに十分に追従することができず、タブの先端部が傾斜面48aに突き刺さり、タブが挿入できないという問題があった。
【0006】
本発明は、従来の実情に鑑みて案出されたもので、オス端子のタブの先端部側が曲がっていたとしても、オスハウジングへのメスハウジングの嵌合作業を行うことが可能なコネクタを提供することを1つの目的としている。
【課題を解決するための手段】
【0007】
本発明は、コネクタに関し、このコネクタは、基壁と基壁から立設した周壁とによって囲まれたハウジング収容部を有し、基壁を貫通してハウジング収容部内に突出するタブが設けられてなるオスハウジングと、オスハウジングのハウジング収容部に収容されるメスハウジングであって、基壁と対向し、タブが挿入される挿入孔が形成された対向壁を有したアウタハウジングと、タブと電気的に接続される接触部を有し、タブの挿入方向と交差する方向に対する移動が許容された状態でアウタハウジングに収容されるインナハウジングとを有したメスハウジングとを備える。ハウジング収容部のうちタブの挿入方向において基壁と反対側では、タブの挿入方向と交差する方向においてオスハウジングに対するメスハウジングの移動が許容されている。ハウジング収容部のうちタブの挿入方向において基壁側では、周壁の内側面からハウジング収容部の内部側に突出し、互いに対向する第1リブおよび第2リブが形成されており、第1リブおよび第2リブは、タブの挿入方向と交差する方向においてオスハウジングに対するメスハウジングの移動を規制する。挿入孔は、タブの挿入方向における入口側に形成され、タブの挿入方向に向かうにつれて内側に傾斜する傾斜部と、タブの挿入方向において出口側に形成され、タブの挿入方向に沿って延びる非傾斜部とを有する。
【発明の効果】
【0008】
本発明によれば、オス端子のタブの先端部側が曲がっていたとしても、オスハウジングへのメスハウジングの嵌合工程におけるオス端子のタブの挿入時に、タブの先端部が挿入孔の傾斜部に追従しながら修正されるので、傾斜部へのタブの先端部の突き刺さりを防止し、嵌合作業を安定的に行うことができる。
【図面の簡単な説明】
【0009】
一実施形態のコネクタの分解斜視図である。
アウタハウジング側から見たときのオスハウジングの一部を示す背面図である。
図2の線A-Aに沿って切断したオスハウジングの断面図である。
インナハウジング側から見たときのコネクタの背面図である。
図4の線B-Bに沿って切断したコネクタの断面図である。
オスハウジングへのメスハウジングの嵌合工程を示す図であり、(a)は第1リブおよび第2リブに到達する直前までオスハウジングにメスハウジングを嵌合させたときのコネクタを示し、(b)は(a)の状態からオスハウジングにメスハウジングをさらに嵌合させたときのコネクタを示し、(c)は(b)の状態からオスハウジングにメスハウジングをさらに嵌合させたときのコネクタを示している。
従来技術のコネクタを示す斜視図である。
【発明を実施するための形態】
【0010】
以下、本発明のコネクタの一実施形態を図面に基づき説明する。
(【0011】以降は省略されています)
この特許をJ-PlatPat(特許庁公式サイト)で参照する
関連特許
矢崎総業株式会社
端子
1か月前
矢崎総業株式会社
端子
1か月前
矢崎総業株式会社
照明灯
29日前
矢崎総業株式会社
箱状体
1日前
矢崎総業株式会社
箱状体
1日前
矢崎総業株式会社
バスバ
1か月前
矢崎総業株式会社
雌端子
1か月前
矢崎総業株式会社
箱状体
1か月前
矢崎総業株式会社
箱状体
1か月前
矢崎総業株式会社
コネクタ
今日
矢崎総業株式会社
コネクタ
29日前
矢崎総業株式会社
コネクタ
29日前
矢崎総業株式会社
コネクタ
22日前
矢崎総業株式会社
コネクタ
22日前
矢崎総業株式会社
コネクタ
1か月前
矢崎総業株式会社
コネクタ
20日前
矢崎総業株式会社
コネクタ
14日前
矢崎総業株式会社
コネクタ
13日前
矢崎総業株式会社
コネクタ
29日前
矢崎総業株式会社
コネクタ
1か月前
矢崎総業株式会社
コネクタ
1か月前
矢崎総業株式会社
コネクタ
1か月前
矢崎総業株式会社
コネクタ
1か月前
矢崎総業株式会社
コネクタ
1か月前
矢崎総業株式会社
コネクタ
8日前
矢崎総業株式会社
コネクタ
1か月前
矢崎総業株式会社
コネクタ
1か月前
矢崎総業株式会社
配索構造
1か月前
矢崎総業株式会社
照明装置
1か月前
矢崎総業株式会社
コネクタ
1か月前
矢崎総業株式会社
コネクタ
2か月前
矢崎総業株式会社
コネクタ
10日前
矢崎総業株式会社
コネクタ
1か月前
矢崎総業株式会社
コネクタ
8日前
矢崎総業株式会社
コネクタ
2日前
矢崎総業株式会社
照明構造
6日前
続きを見る
他の特許を見る