TOP
|
特許
|
意匠
|
商標
特許ウォッチ
Twitter
他の特許を見る
公開番号
2025149219
公報種別
公開特許公報(A)
公開日
2025-10-08
出願番号
2024049722
出願日
2024-03-26
発明の名称
電気接続箱
出願人
矢崎総業株式会社
代理人
弁理士法人栄光事務所
主分類
H02G
3/14 20060101AFI20251001BHJP(電力の発電,変換,配電)
要約
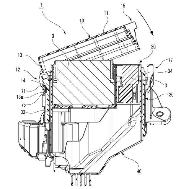
【課題】カバーをフレームに容易に着脱することができる電気接続箱を提供する。
【解決手段】電気接続箱は、上端開口部が形成されたフレーム30と、上端開口部を覆うアッパーカバー10と、フレーム30の周壁部34の一方に設けられた係合突起71と、アッパーカバー10の周壁部13の一方に設けられ、係合突起71に引っ掛けられる係合枠12と、係合突起71と係合枠12との係合部分を回転中心としてフレーム30に向かって回転されるアッパーカバー10の周壁部13の他方に設けられた被ロック部15と、フレーム30の周壁部34の他方に設けられ、被ロック部15に係合されるロック部77と、アッパーカバー10の周壁部13の下端部13aが上面に載置されることで、係合枠12の係合孔14が係合突起71に対して対向する位置に位置決めされるようにフレーム30の周壁部34に突設された位置決め突起75と、を備える。
【選択図】図5
特許請求の範囲
【請求項1】
上端開口部が形成されたフレームと、
前記上端開口部を覆うカバーと、
前記フレームの周壁部の一方に設けられた係合突起と、
前記カバーの周壁部の一方に設けられ、前記係合突起に引っ掛けられる係合枠と、
前記係合突起と前記係合枠との係合部分を回転中心として前記フレームに向かって回転される前記カバーの周壁部の他方に設けられた被ロック部と、
前記フレームの周壁部の他方に設けられ、前記被ロック部に係合されるロック部と、
前記カバーの周壁部の下端部が上面に載置されることで、前記係合枠の係合孔が前記係合突起に対して対向する位置に位置決めされるように前記フレームの周壁部に突設された位置決め突起と、
を備えた電気接続箱。
続きを表示(約 99 文字)
【請求項2】
前記フレームの周壁部の一部分を構成するサイドカバーと、
前記サイドカバーの外側面に突設された前記位置決め突起と、
を備えた請求項1に記載の電気接続箱。
発明の詳細な説明
【技術分野】
【0001】
本発明は、電気接続箱に関する。
続きを表示(約 1,500 文字)
【背景技術】
【0002】
従来から、自動車の電装系には、リレーボックスやヒューズボックス、ジャンクションボックス等の電気接続箱が用いられており、この電気接続箱に多数のリレーやヒューズ等の電子部品を集中して配設することによって、電気配線の効率化や交換等のメンテナンス性の向上が図られている。
【0003】
このような電気接続箱は、ヒューズやリレー等の電気部品やバスバー等の通電部材等から構成される内部回路を収容するケース本体(フレーム)を備えている。そして、ロック機構を介して箱本体に着脱自在に装着固定されるカバー(アッパーカバー)によって、ケース本体の上端開口部が覆われるようになっている。
【0004】
ところで、特許文献1に開示されている電気接続箱では、ケース本体の一端部に形成された係合突起に、カバーの一端部に形成された係合枠の係合孔を挿通する係合状態を維持したままで、係合突起と係合枠の係合部分を回転中心としてカバーがケース本体に向かって回転させられる。そして、回転させられたカバーの他端部に形成されたロックアーム(被ロック部)が、ケース本体の他端部に形成されたロックアーム受け部(ロック部)に対して嵌合されることで、カバーがケース本体に着脱自在に装着固定されるロック機構を備えている。
【0005】
このようなロック機構によれば、メンテナンス時などにカバーをケース本体から取り外す際には、カバーの他端部に形成されたロックアームとケース本体の他端部に形成されたロックアーム受け部との係合を解除するだけで良いので、作業が容易となる。
【先行技術文献】
【特許文献】
【0006】
特開2023-592号公報
【発明の概要】
【発明が解決しようとする課題】
【0007】
しかしながら、特許文献1に開示された電気接続箱では、車両への搭載条件等によりケース本体の係合突起が隠れていると、カバーの係合枠を係合突起に引っ掛けるために係合孔に係合突起を挿通させることが難しく、カバーの取付け作業性がよくない。更に、ケース本体の係合突起とカバーの係合枠との係合部分を目視することができないため、ケース本体に対するカバーの半嵌合が発生する可能性があった。
【0008】
本発明は上記状況に鑑みてなされたもので、その目的は、カバーをフレームに容易に着脱することができる電気接続箱を提供することにある。
【課題を解決するための手段】
【0009】
本発明に係る上記目的は、下記構成により達成される。
上端開口部が形成されたフレームと、前記上端開口部を覆うカバーと、前記フレームの周壁部の一方に設けられた係合突起と、前記カバーの周壁部の一方に設けられ、前記係合突起に引っ掛けられる係合枠と、前記係合突起と前記係合枠との係合部分を回転中心として前記フレームに向かって回転される前記カバーの周壁部の他方に設けられた被ロック部と、前記フレームの周壁部の他方に設けられ、前記被ロック部に係合されるロック部と、前記カバーの周壁部の下端部が上面に載置されることで、前記係合枠の係合孔が前記係合突起に対して対向する位置に位置決めされるように前記フレームの周壁部に突設された位置決め突起と、を備えた電気接続箱。
【発明の効果】
【0010】
本発明に係る電気接続箱によれば、カバーをフレームに容易に着脱することができる。
(【0011】以降は省略されています)
この特許をJ-PlatPat(特許庁公式サイト)で参照する
関連特許
矢崎総業株式会社
箱状体
6日前
矢崎総業株式会社
箱状体
6日前
矢崎総業株式会社
コネクタ
4日前
矢崎総業株式会社
コネクタ
13日前
矢崎総業株式会社
コネクタ
18日前
矢崎総業株式会社
止水部材
11日前
矢崎総業株式会社
照明構造
11日前
矢崎総業株式会社
コネクタ
11日前
矢崎総業株式会社
コネクタ
11日前
矢崎総業株式会社
コネクタ
13日前
矢崎総業株式会社
コネクタ
7日前
矢崎総業株式会社
コネクタ
19日前
矢崎総業株式会社
コネクタ
5日前
矢崎総業株式会社
コネクタ
7日前
矢崎総業株式会社
コネクタ
7日前
矢崎総業株式会社
コネクタ
6日前
矢崎総業株式会社
コネクタ
6日前
矢崎総業株式会社
コネクタ
15日前
矢崎総業株式会社
ゴムブーツ
11日前
矢崎総業株式会社
電気接続箱
6日前
矢崎総業株式会社
電気接続箱
6日前
矢崎総業株式会社
プロテクタ
11日前
矢崎総業株式会社
電気接続箱
6日前
矢崎総業株式会社
電気接続箱
18日前
矢崎総業株式会社
ドアハーネス
19日前
矢崎総業株式会社
フラット導体
6日前
矢崎総業株式会社
電流検出装置
13日前
矢崎総業株式会社
ワイヤハーネス
15日前
矢崎総業株式会社
バンドクランプ
18日前
矢崎総業株式会社
ワイヤハーネス
15日前
矢崎総業株式会社
シートハーネス
19日前
矢崎総業株式会社
ワイヤハーネス
18日前
矢崎総業株式会社
フロアハーネス
19日前
矢崎総業株式会社
ワイヤハーネス
15日前
矢崎総業株式会社
バスバ配置構造
6日前
矢崎総業株式会社
ワイヤハーネス
15日前
続きを見る
他の特許を見る