TOP
|
特許
|
意匠
|
商標
特許ウォッチ
Twitter
他の特許を見る
10個以上の画像は省略されています。
公開番号
2025162424
公報種別
公開特許公報(A)
公開日
2025-10-27
出願番号
2024065716
出願日
2024-04-15
発明の名称
往復動ポンプ
出願人
株式会社荏原製作所
代理人
個人
,
個人
,
個人
主分類
F04B
53/10 20060101AFI20251020BHJP(液体用容積形機械;液体または圧縮性流体用ポンプ)
要約
【課題】ピストンによって加圧された高エンタルピーの流体が吸込み側に漏洩することを防止することができる往復動ポンプを提供する。
【解決手段】往復動ポンプ2は、加圧室14を内部に有するシリンダ16と、シリンダ16内に配置されたピストン18と、加圧室14に連通する吸込み逆止弁26を備える。吸込み逆止弁26は、弁体31と、弁体31の裏側に接触する第1シール面35と、第1シール面35に囲まれた第2シール面36と、第2シール面36に囲まれた吸込み流路37と、第2シール面36を囲む流体入口51を有する流体逃し流路50を備える。流体入口51は、第1シール面35と第2シール面36との間に位置しており、流体逃し流路50は、往復動ポンプ2の外部に連通する流体出口52を有する。
【選択図】図4
特許請求の範囲
【請求項1】
流体を移送するための往復動ポンプであって、
加圧室を内部に有するシリンダと、
前記シリンダ内に配置されたピストンと、
前記加圧室に連通する吸込み逆止弁を備え、
前記吸込み逆止弁は、
弁体と、
前記弁体の裏側に接触する第1シール面と、
前記第1シール面に囲まれた第2シール面と、
前記第2シール面に囲まれた吸込み流路と、
前記第2シール面を囲む流体入口を有する流体逃し流路を備え、
前記流体入口は、前記第1シール面と前記第2シール面との間に位置しており、
前記流体逃し流路は、前記往復動ポンプの外部に連通する流体出口を有する、往復動ポンプ。
続きを表示(約 670 文字)
【請求項2】
前記流体逃し流路は、前記流体入口から下方に延びる下降流路を含む、請求項1に記載の往復動ポンプ。
【請求項3】
前記流体逃し流路は、前記下降流路から前記流体出口まで斜め上方に延びる上昇流路をさらに含む、請求項2に記載の往復動ポンプ。
【請求項4】
前記流体入口は、円環形状を有する、請求項1に記載の往復動ポンプ。
【請求項5】
前記流体逃し流路は、前記流体入口よりも径方向内側に位置する下降流路と、前記流体入口と前記下降流路とを連通する連通流路を含み、前記下降流路は前記流体出口まで延びている、請求項1に記載の往復動ポンプ。
【請求項6】
前記流体逃し流路は、前記下降流路の上端に接続された流体室をさらに備え、
前記連通流路は、前記流体入口から前記流体室まで延びている、請求項5に記載の往復動ポンプ。
【請求項7】
前記連通流路は、上から見たときに、前記流体室の径方向に対して傾斜した方向で前記流体室の側壁に接続されている、請求項6に記載の往復動ポンプ。
【請求項8】
前記流体室の側壁には、螺旋溝が形成されている、請求項7に記載の往復動ポンプ。
【請求項9】
前記吸込み逆止弁は、前記流体室の側壁に設けられた螺旋状の静止翼をさらに備えている、請求項7に記載の往復動ポンプ。
【請求項10】
前記吸込み逆止弁は、前記流体室内に配置された回転翼をさらに備えている、請求項7に記載の往復動ポンプ。
発明の詳細な説明
【技術分野】
【0001】
本発明は、プランジャポンプやピストンポンプなどの往復動ポンプに関し、特に液化ガスを移送する用途に適した往復動ポンプに関する。
続きを表示(約 1,900 文字)
【背景技術】
【0002】
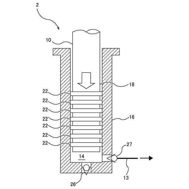
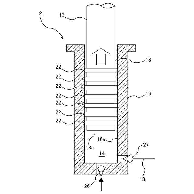
往復動ポンプは、シリンダ内に配置されたピストンを往復移動させることで流体をシリンダ内に吸込み、流体を加圧してシリンダから吐き出すように構成される。このような往復動ポンプは、液体水素、液化天然ガス、液化アンモニア、液体窒素、液化エチレンガス、液化石油ガスなどの液化ガスを移送する用途に使用されることがある。
【0003】
図22は、従来の往復動ポンプの断面を示す模式図である。図22に示すように、往復動ポンプは、シリンダ500と、シリンダ500内に移動可能に配置されたピストン501を有している。ピストン501は、図示しないアクチュエータに連結されている。シリンダ500の内面とピストン501の外面との間にはシール503が配置されている。シリンダ500の吸込み口510および吐出し口511には、それぞれ逆止弁514,515が連結されている。
【0004】
アクチュエータがピストン501を軸方向に往復移動させると、流体は逆止弁514および吸込み口510を通ってシリンダ500内に流入し、ピストン501によって加圧され、そしてシリンダ500から吐出し口511および逆止弁515を通って排出される。
【先行技術文献】
【特許文献】
【0005】
特開2023-177499号公報
【発明の概要】
【発明が解決しようとする課題】
【0006】
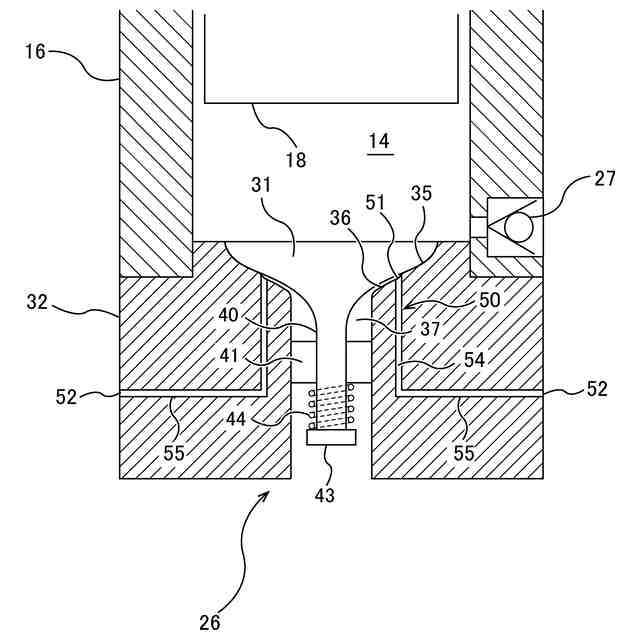
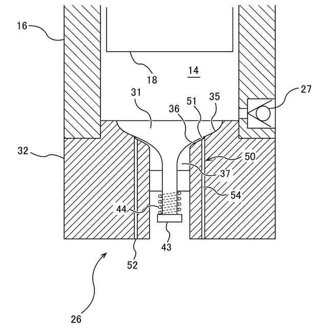
ピストン501がシリンダ500内の流体を加圧したとき、高エンタルピーの流体は逆止弁514の微小な隙間を通じて逆止弁514の吸込み側(一次側)に漏洩することがある。流体が液化ガスの場合、逆止弁514の吸込み側に漏洩した高エンタルピーの液化ガスは、圧力の低下に伴ってガス化する。逆止弁514の吸込み側に存在する気体は、シリンダ500内への液化ガスの吸込み、およびシリンダ500内での液化ガスの圧縮を阻害し、往復動ポンプの性能を低下させてしまう。
【0007】
そこで、本発明は、ピストンによって加圧された高エンタルピーの流体が吸込み側に漏洩することを防止することができる往復動ポンプを提供する。
【課題を解決するための手段】
【0008】
一態様では、流体を移送するための往復動ポンプであって、加圧室を内部に有するシリンダと、前記シリンダ内に配置されたピストンと、前記加圧室に連通する吸込み逆止弁を備え、前記吸込み逆止弁は、弁体と、前記弁体の裏側に接触する第1シール面と、前記第1シール面に囲まれた第2シール面と、前記第2シール面に囲まれた吸込み流路と、前記第2シール面を囲む流体入口を有する流体逃し流路を備え、前記流体入口は、前記第1シール面と前記第2シール面との間に位置しており、前記流体逃し流路は、前記往復動ポンプの外部に連通する流体出口を有する、往復動ポンプが提供される。
【0009】
一態様では、前記流体逃し流路は、前記流体入口から下方に延びる下降流路を含む。
一態様では、前記流体逃し流路は、前記下降流路から前記流体出口まで斜め上方に延びる上昇流路をさらに含む。
一態様では、前記流体入口は、円環形状を有する。
一態様では、前記流体逃し流路は、前記流体入口よりも径方向内側に位置する下降流路と、前記流体入口と前記下降流路とを連通する連通流路を含み、前記下降流路は前記流体出口まで延びている。
一態様では、前記流体逃し流路は、前記下降流路の上端に接続された流体室をさらに備え、前記連通流路は、前記流体入口から前記流体室まで延びている。
一態様では、前記連通流路は、上から見たときに、前記流体室の径方向に対して傾斜した方向で前記流体室の側壁に接続されている。
一態様では、前記流体室の側壁には、螺旋溝が形成されている。
一態様では、前記吸込み逆止弁は、前記流体室の側壁に設けられた螺旋状の静止翼をさらに備えている。
一態様では、前記吸込み逆止弁は、前記流体室内に配置された回転翼をさらに備えている。
【発明の効果】
【0010】
吸込み逆止弁が閉じられているときに弁体と第1シール面との間に進入した高エンタルピーの流体は、第2シール面に到達する前に、流体入口内に流入し、流体逃し流路を通って往復動ポンプの外部に排出される。したがって、高エンタルピーの流体が吸込み流路に流入することが防止される。
【図面の簡単な説明】
(【0011】以降は省略されています)
この特許をJ-PlatPat(特許庁公式サイト)で参照する
関連特許
株式会社荏原製作所
ポンプ装置
14日前
株式会社荏原製作所
往復動ポンプ
4日前
株式会社荏原製作所
立形多段ポンプ
10日前
株式会社荏原製作所
蒸気発電プラント
21日前
株式会社荏原製作所
周波数制御システム
14日前
株式会社荏原製作所
研磨方法および研磨装置
16日前
株式会社荏原製作所
研磨方法および研磨システム
4日前
株式会社荏原製作所
シールリングおよび往復動ポンプ
10日前
株式会社荏原製作所
基板接合方法および基板接合システム
14日前
株式会社荏原製作所
ドレッサ洗浄装置および基板研磨装置
15日前
オリオン機械株式会社
ヒータおよびこれを有する液体温調装置
17日前
株式会社荏原製作所
情報処理装置、情報処理方法、情報処理プログラム、及び、記録媒体
8日前
株式会社荏原製作所
めっき装置、およびめっき方法
1日前
株式会社荏原製作所
情報処理装置、基板研磨装置、推論装置、機械学習装置、情報処理方法、推論方法、及び、機械学習方法
21日前
住友化学株式会社
メタノールの製造方法
14日前
個人
海流製造装置。
1か月前
株式会社スギノマシン
圧縮機
22日前
ダイニチ工業株式会社
空調装置
4か月前
株式会社ツインバード
送風装置
1か月前
株式会社ツインバード
送風装置
1か月前
カヤバ株式会社
電動ポンプ
2か月前
日機装株式会社
遠心ポンプ
14日前
ビッグボーン株式会社
送風装置
2か月前
株式会社不二越
蓄圧装置
3か月前
株式会社ニクニ
液封式ポンプ装置
4か月前
株式会社酉島製作所
ポンプ
5か月前
個人
携帯型扇風機用の送風ノズル
5か月前
株式会社酉島製作所
ポンプ
4か月前
株式会社ノーリツ
ロータリ圧縮機
1か月前
樫山工業株式会社
真空ポンプ
23日前
サンデン株式会社
スクロール圧縮機
28日前
株式会社不二越
油圧ユニット
5か月前
サンデン株式会社
スクロール圧縮機
28日前
株式会社ノーリツ
ロータリー圧縮機
4か月前
株式会社坂製作所
スクロール圧縮機
4か月前
サンデン株式会社
スクロール圧縮機
28日前
続きを見る
他の特許を見る