TOP
|
特許
|
意匠
|
商標
特許ウォッチ
Twitter
他の特許を見る
10個以上の画像は省略されています。
公開番号
2025163256
公報種別
公開特許公報(A)
公開日
2025-10-28
出願番号
2025133795,2024510895
出願日
2025-08-08,2022-03-30
発明の名称
表示装置
出願人
ファナック株式会社
代理人
個人
,
個人
主分類
H05K
5/02 20060101AFI20251021BHJP(他に分類されない電気技術)
要約
【課題】コンパクトな構成で、外部との接続のための外部コネクタを容易に挿抜することができる表示装置を提供する。
【解決手段】表示ユニットと、前記表示ユニットを制御する制御ユニットと、前記表示ユニットと前記制御ユニットとを接続する接続部と、を備える表示装置であって、前記接続部は、前記表示ユニットの背面側と前記制御ユニットとを着脱自在であり、前記制御ユニットには、その外部との接続のための外部コネクタが接続自在であり、前記制御ユニットが前記表示ユニットの背面側に固定された状態において、前記外部コネクタの挿抜方向は、前記表示ユニットの背面が延びる方向であり、前記接続部は、前記制御ユニットが前記表示ユニットの背面側に対して離間又は接近するように回動自在に、且つ、前記外部コネクタが径方向外側に配置した状態で前記外部コネクタを回転自在に、接続する。
【選択図】図2
特許請求の範囲
【請求項1】
表示ユニットと、前記表示ユニットを制御する制御ユニットと、前記表示ユニットと前記制御ユニットとを接続する接続部と、を備える表示装置であって、
前記接続部は、前記表示ユニットの背面側と前記制御ユニットとを着脱自在であり、
前記制御ユニットには、その外部との接続のための外部コネクタが接続自在であり、
前記制御ユニットが前記表示ユニットの背面側に固定された状態において、前記外部コネクタの挿抜方向は、前記表示ユニットの背面が延びる方向であり、
前記接続部は、前記制御ユニットが前記表示ユニットの背面側に対して離間又は接近するように回動自在に、且つ、前記外部コネクタが径方向外側に配置した状態で前記外部コネクタを回転自在に、接続する、表示装置。
続きを表示(約 880 文字)
【請求項2】
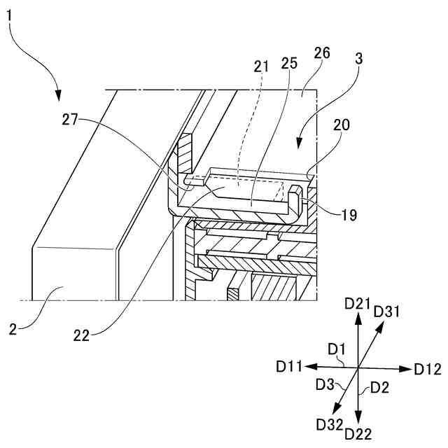
前記接続部は、前記表示ユニットの背面側に配置され、上方に屈曲する屈曲部と、前記制御ユニット側に配置され、前記屈曲部が係止する第1被係止部と、を備える、請求項1に記載の表示装置。
【請求項3】
前記接続部は、前記表示ユニットの背面側から前記制御ユニットを直線状に離間させることにより、前記表示ユニットから前記制御ユニットを脱離可能であり、且つ、前記表示ユニットの背面側から前記制御ユニットを直線状に離間させる過程において、直線状の離間方向とは異なる方向に前記制御ユニットを移動させることにより、前記屈曲部と前記第1被係止部との係止を形成可能である、請求項2に記載の表示装置。
【請求項4】
前記接続部は、前記屈曲部と前記第1被係止部との係止を保持する係止保持部を更に備える、請求項2又は3に記載の表示装置。
【請求項5】
前記係止保持部は、前記屈曲部と前記第1被係止部との係止を形成するための移動方向とは異なる方向に前記制御ユニットを移動させることにより、前記屈曲部と前記第1被係止部との係止を保持する、請求項4に記載の表示装置。
【請求項6】
前記接続部は、前記表示ユニットの背面側に配置される第1当接部と、前記制御ユニット側における前記屈曲部と干渉しない位置に配置され、第1当接部に当接する第2当接部と、を備える、請求項2から5のいずれかに記載の表示装置。
【請求項7】
前記接続部は、前記表示ユニットの背面側に配置され、固定片と可動片を有するヒンジ部と、前記制御ユニット側に配置され、前記可動片に沿ってスライド可能なスライド係止部とを、備え、
前記ヒンジ部の前記可動片は、第2被係止部を備え、
前記スライド係止部は、下向きに突出し、前記第2被係止部に係止する突出部を備える、請求項1に記載の表示装置。
【請求項8】
前記ヒンジ部は、前記固定片と前記可動片とがなす角度を所定の角度に設定可能である、請求項7に記載の表示装置。
発明の詳細な説明
【技術分野】
【0001】
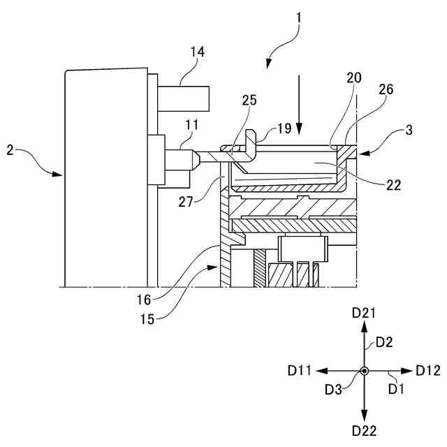
本発明は、工作機械などに設けられる表示装置に関し、特に、表示部とその制御部とが構造的に独立した表示装置に関する。
続きを表示(約 1,500 文字)
【背景技術】
【0002】
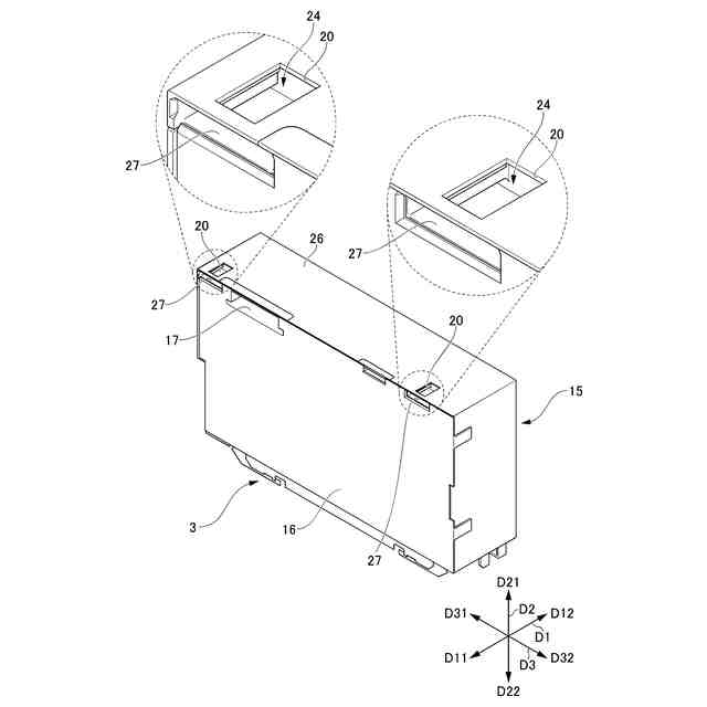
下記特許文献1には、表示ユニット及び制御ユニットを備える表示装置が開示されている。この表示装置では、表示ユニットの背面に、表示ユニットとは独立した制御ユニットが着脱可能に接続される。
【0003】
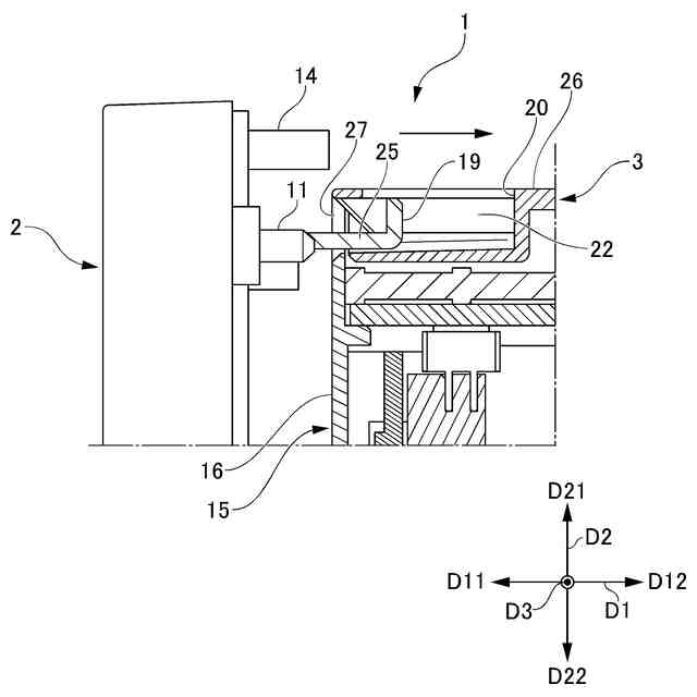
従来、図16に示すように、表示ユニット102及び制御ユニット103を備える表示装置101には、外部との接続のための外部コネクタ118が接続される。外部コネクタ118は、制御ユニット103の下端部に設けられるコネクタ(図示せず)に、表示装置101が設けられる筐体105の厚み方向(典型的には、前後方向D1)に挿抜可能である。そのため、筐体105の厚みが大きくなり、表示装置101が大型化してしまう。
【0004】
なお、図16において、表示ユニット102の表示画面を正面に見た状態で、前後方向D1、上下方向D2及び左右方向D3を定義する。詳述すると、制御ユニット103から表示ユニット102へ向かう方向を前方向D11と定義し、その反対方向を後方向D12と定義し、これらを合わせて前後方向D1と定義する。また、上方向D21と、その反対方向の下方向D22とを合わせて、上下方向D2と定義する。
【0005】
そこで、外部コネクタの挿抜方向を、表示ユニットの背面が延びる方向にすることが提案されている。典型的には、外部コネクタは、制御ユニットの下端部に、上下方向に挿抜可能に設けられる。これにより、筐体の厚みを小さくして、表示装置のコンパクト化を図ることができる。
【0006】
しかしながら、この場合、表示ユニットの背面側から外部コネクタの挿抜を行おうとすると、外部コネクタの制御ユニットへの差込口が見えにくいため、外部コネクタの挿抜性が悪い。また、外部コネクタの挿抜スペースが狭く、作業性が悪い。そこで、表示ユニットから取り外した制御ユニットを作業台に載置した状態で、外部コネクタの挿抜を行うことが考えられる。
【0007】
筐体に表示装置が設けられた状態では、外部コネクタに接続されたケーブルは、クランプ部材で固定されていたり、ダクトに挿通されてまとめられたりしている。そのため、ケーブルの余長がほとんど無く、表示ユニットから取り外した制御ユニットを作業台まで持ち運ぶことができないことが多い。
【先行技術文献】
【特許文献】
【0008】
特開2014-38130号公報
【発明の概要】
【発明が解決しようとする課題】
【0009】
このように、従来の表示装置では、種々の問題があった。そこで、これらの問題を解消するために、コンパクトな構成で、外部との接続のための外部コネクタを容易に挿抜することができる表示装置が望まれている。
【課題を解決するための手段】
【0010】
本開示の一態様は、表示ユニットと、前記表示ユニットを制御する制御ユニットと、前記表示ユニットと前記制御ユニットとを接続する接続部と、を備える表示装置であって、前記接続部は、前記表示ユニットの背面側と前記制御ユニットとを着脱自在であり、前記制御ユニットには、その外部との接続のための外部コネクタが接続自在であり、前記制御ユニットが前記表示ユニットの背面側に固定された状態において、前記外部コネクタの挿抜方向は、前記表示ユニットの背面が延びる方向であり、前記接続部は、前記制御ユニットが前記表示ユニットの背面側に対して離間又は接近するように回動自在に、且つ、前記外部コネクタが径方向外側に配置した状態で前記外部コネクタを回転自在に、接続する。
【発明の効果】
(【0011】以降は省略されています)
この特許をJ-PlatPat(特許庁公式サイト)で参照する
関連特許
個人
電子部品の実装方法
1か月前
個人
電気式バーナー
15日前
日本精機株式会社
回路基板
1か月前
愛知電機株式会社
装柱金具
23日前
個人
非衝突型ガウス加速器
2か月前
キヤノン株式会社
電子機器
1か月前
個人
節電材料
2か月前
イビデン株式会社
配線基板
24日前
アイホン株式会社
電気機器
2か月前
日本放送協会
基板固定装置
1か月前
アイホン株式会社
電気機器
1か月前
メクテック株式会社
配線基板
2か月前
東レ株式会社
霧化状活性液体供給装置
2か月前
個人
静電気中和除去装置
2日前
イビデン株式会社
配線基板
2か月前
イビデン株式会社
プリント配線板
1か月前
株式会社レクザム
剥離装置
23日前
サクサ株式会社
開き角度規制構造
22日前
サクサ株式会社
筐体の壁掛け構造
2か月前
FDK株式会社
基板
1か月前
株式会社デンソー
電子装置
24日前
シャープ株式会社
加熱機器
8日前
イビデン株式会社
配線基板
2か月前
新電元工業株式会社
電子装置
1か月前
オムロン株式会社
端子折り曲げ治具
1か月前
日産自動車株式会社
電子部品
1か月前
株式会社レゾナック
冷却装置
1か月前
富士フイルム株式会社
積層体
24日前
タイガー魔法瓶株式会社
加熱器
1か月前
日本無線株式会社
電子機器用密閉構造
1か月前
富士電子工業株式会社
高周波焼入装置
2か月前
日本特殊陶業株式会社
配線基板
2か月前
富士電子工業株式会社
誘導加熱コイル
25日前
富士電子工業株式会社
誘導加熱コイル
25日前
新光電気工業株式会社
配線基板
1か月前
日本特殊陶業株式会社
セラミックヒータ
1か月前
続きを見る
他の特許を見る