TOP
|
特許
|
意匠
|
商標
特許ウォッチ
Twitter
他の特許を見る
10個以上の画像は省略されています。
公開番号
2025164520
公報種別
公開特許公報(A)
公開日
2025-10-30
出願番号
2024068542
出願日
2024-04-19
発明の名称
住宅
出願人
ミサワホーム株式会社
代理人
個人
主分類
E04H
1/02 20060101AFI20251023BHJP(建築物)
要約
【課題】住人が快適に過ごすための半屋外空間におけるプライバシー性及びセキュリティ性を確保しつつ、半屋外空間を通じた住宅内への日射及び通風を確保する。
【解決手段】敷地1と、敷地に建築され、平面視において外壁面の一部が他の外壁面よりも室内側に後退した状態に形成された凹部3cを有する住宅本体3と、住宅本体が凹部を有することによって敷地のうち凹部の位置に設けられた庭部12と、住宅本体のうち庭部側に位置する外壁4の1階部分に形成された扉付きの第一出入口4bと、住宅本体に一体形成されるとともに庭部を取り囲んで配置された遮蔽壁13と、を備えた住宅2であって、庭部は上空に向かって開放されており、遮蔽壁には、庭部と外部とを接続する扉14a付きの第二出入口14が形成されている。
【選択図】図1
特許請求の範囲
【請求項1】
敷地と、
前記敷地に建築され、平面視において外壁面の一部が他の外壁面よりも室内側に後退した状態に形成された凹部を有する住宅本体と、
前記住宅本体が前記凹部を有することによって前記敷地のうち前記凹部の位置に設けられた庭部と、
前記住宅本体のうち前記庭部側に位置する外壁の1階部分に形成された扉付きの第一出入口と、
前記住宅本体に一体形成されるとともに前記庭部を取り囲んで配置された遮蔽壁と、を備えており、
前記庭部は上空に向かって開放されており、
前記遮蔽壁には、前記庭部と外部とを接続する扉付きの第二出入口が形成されていることを特徴とする住宅。
続きを表示(約 1,200 文字)
【請求項2】
請求項1に記載の住宅において、
前記住宅本体の1階部分には、玄関と、前記庭部に隣接する玄関ポーチと、が設けられていて、前記第一出入口は、前記玄関ポーチに面する玄関出入口であり、
前記遮蔽壁は、前記住宅本体の前記外壁のうち前記第一出入口が形成された第一箇所と正対する位置関係にある第一遮蔽壁を有していて、前記第二出入口は、前記第一遮蔽壁に形成されていることを特徴とする住宅。
【請求項3】
請求項2に記載の住宅において、
前記住宅本体の前記外壁のうち2階部分に位置する第二箇所には窓が形成され、
前記窓は、その下縁部の高さ位置が、前記住宅本体における2階の床と略等しく設定されており、
前記第一遮蔽壁の上端部は、前記窓の下縁部よりも上方に位置し、かつ、前記窓の上下方向中央部よりも下方に位置していて、前記第二出入口の上縁部は、前記住宅本体における2階の床よりも下方に位置していることを特徴とする住宅。
【請求項4】
請求項2に記載の住宅において、
前記住宅本体の2階のうち、前記玄関ポーチの上方であって、かつ、前記庭部に面する部分にはバルコニーが設けられており、
前記住宅本体の前記外壁のうち2階部分に位置する第二箇所には、前記バルコニーの手摺り部が設けられ、
前記手摺り部は、前記バルコニーの床から立ち上がるパラペットと、前記パラペットの上端部に立設されたガラス手摺と、を有しており、
前記第一遮蔽壁の上端部は、前記パラペットの上端部と略等しい高さに位置していて、前記第二出入口の上縁部は、前記住宅本体における2階の床よりも下方に位置していることを特徴とする住宅。
【請求項5】
請求項1に記載の住宅において、
前記住宅本体の1階部分には、玄関と、前記庭部に隣接する玄関ポーチと、が設けられていて、前記第一出入口は、前記玄関ポーチに面する玄関出入口であり、
前記遮蔽壁は、
前記住宅本体の前記外壁のうち前記第一出入口が形成された第一箇所と正対する位置関係にある第一遮蔽壁と、
平面視において前記第一遮蔽壁及び前記第一箇所と直交する位置関係にある第二遮蔽壁と、を有していて、
前記第二出入口は、前記第二遮蔽壁に形成されていることを特徴とする住宅。
【請求項6】
請求項1に記載の住宅において、
前記遮蔽壁には、前記第二出入口の横に並んで、宅配ボックスと郵便受けのうち少なくとも一方が設けられ、これら宅配ボックスと郵便受けのうち少なくとも一方は、前記外部側から物品を入れる投入口と、前記庭部側から物品を取り出す取り出し口と、を有していることを特徴とする住宅。
【請求項7】
請求項1に記載の住宅において、
前記遮蔽壁は、前記住宅本体を構築した工法と同一の工法で構築された外周壁であることを特徴とする住宅。
発明の詳細な説明
【技術分野】
【0001】
本発明は、住宅に関する。
続きを表示(約 2,300 文字)
【背景技術】
【0002】
従来、外部床と軒天井とを備えた半屋外空間が、居室の屋外側に連続して配置されていて、居室内空間と半屋外空間とが窓を介して連通している状態とされた住宅が知られている(例えば特許文献1参照)。このような住宅によれば、半屋外空間を備えることで、適度なプライバシー性を保ちつつ、日射や通風を居室内に取り込みやすくなっており、明るく開放的で自然の変化を体感し易い雰囲気を創出できるようになっている。
【0003】
また、敷地の周囲に、住宅を外方から取り囲む外構構造物が設けられ、この外構構造物によって防犯性を高めることが行われている。外構構造物としては、例えばプレキャストコンクリートやコンクリートブロックなどの塀状の遮蔽物が採用され、住宅は、このような遮蔽物によって目隠しされ、住人のプライバシーが確保されるようになっている。
【先行技術文献】
【特許文献】
【0004】
特開2018-150802号公報
特開2002-227433号公報
【発明の概要】
【発明が解決しようとする課題】
【0005】
ところが、半屋外空間が住宅の1階部分に配置されていると、半屋外空間は外部に向かって開放されているため、例えば小さな子供を遊ばせておくスペースとしては、セキュリティの面で好ましくない。そこで、セキュリティを確保するために半屋外空間の周囲を、塀状の遮蔽物で取り囲んでしまうと、プライバシーやセキュリティの確保を図ることができる一方で、日射や通風が取得しにくくなるという問題がある。
【0006】
本発明は上記事情に鑑みてなされたものであり、その目的は、半屋外空間又は住宅内におけるプライバシー性及びセキュリティ性を確保しつつ、半屋外空間を通じた住宅内への日射及び通風を確保することである。
【課題を解決するための手段】
【0007】
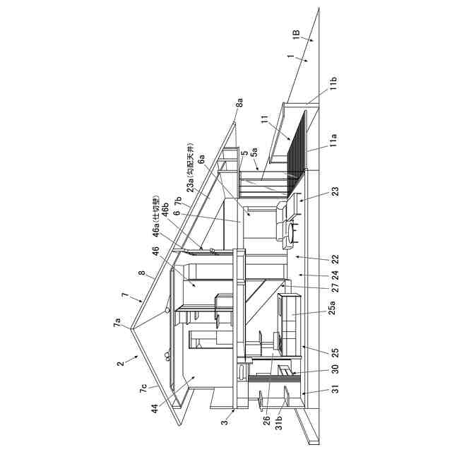
請求項1に記載の発明は、例えば図1~図12に示すように、住宅2であって、
敷地1と、
前記敷地1に建築され、平面視において外壁面の一部が他の外壁面よりも室内側に後退した状態に形成された凹部3cを有する住宅本体3と、
前記住宅本体3が前記凹部3cを有することによって前記敷地1のうち前記凹部3cの位置に設けられた庭部12と、
前記住宅本体3のうち前記庭部12側に位置する外壁4の1階部分に形成された扉付きの第一出入口4bと、
前記住宅本体3に一体形成されるとともに前記庭部12を取り囲んで配置された遮蔽壁13と、を備えており、
前記庭部12は上空に向かって開放されており、
前記遮蔽壁13には、前記庭部12と外部とを接続する扉14a付きの第二出入口14(門14)が形成されていることを特徴とする。
【0008】
請求項1に記載の発明によれば、住人は、第一出入口4bから庭部12に出て過ごすことができ、庭部12は、住宅本体3に一体形成された遮蔽壁13によって取り囲まれているので、庭部12で過ごす住人及び第一出入口4bを通じて住宅本体3の屋内空間におけるプライバシー性及びセキュリティ性を確保することができる。また、庭部12は、住宅本体3内に出入りできる第一出入口4bと、庭部12外に出入りできる第二出入口14との間に設けられているので、住宅本体3の内部空間と庭部12の外部とを接続するアプローチとしての役割を持つこととなり、住人が集まりやすい。そのため、住人にとって過ごしやすく、快適な空間となる。さらに、庭部12は上空に向かって開放されており、遮蔽壁13には、庭部12と外部とを接続する扉付きの第二出入口14が形成されているので、扉が透光性・通気性のあるものであったり、扉を開放させたりすることで、半屋外空間である庭部12を通じた住宅本体3内への日射及び通風を確保することができる。
【0009】
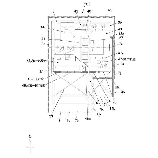
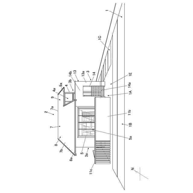
請求項2に記載の発明は、例えば図5,図9~図12に示すように、請求項1に記載の住宅2において、
前記住宅本体3の1階部分には、玄関20と、前記庭部12に隣接する玄関ポーチ16と、が設けられていて、前記第一出入口4bは、前記玄関ポーチ16に面する玄関出入口4bであり、
前記遮蔽壁13は、前記住宅本体3の前記外壁4のうち前記第一出入口4bが形成された第一箇所4Aと正対する位置関係にある第一遮蔽壁13aを有していて、前記第二出入口14は、前記第一遮蔽壁13aに形成されていることを特徴とする。
【0010】
請求項2に記載の発明によれば、遮蔽壁13は、住宅本体3の外壁4のうち第一出入口4bが形成された第一箇所4Aと正対する位置関係にある第一遮蔽壁13aを有していて、第二出入口14は、第一遮蔽壁13aに形成されているので、第二出入口14から第一出入口4bに向かって風が通りやすくなっており、第一出入口4bを開放すれば、住宅本体3内への通風を確保できる。さらに、第一出入口4bから第二出入口14に向かって視線が通りやすくなっているので、第一出入口4bを開放すれば、庭部12で過ごす住人と、第二出入口14の外部にいる人を視認しやすくなる。したがって、住人が快適に過ごすための半屋外空間におけるセキュリティ性を確保しつつ、半屋外空間である庭部12を通じた住宅本体3内への通風を確保することができる。
(【0011】以降は省略されています)
この特許をJ-PlatPat(特許庁公式サイト)で参照する
関連特許
ミサワホーム株式会社
住宅
2日前
ミサワホーム株式会社
外構
22日前
ミサワホーム株式会社
住宅の外構構造
2日前
ミサワホーム株式会社
住宅
2日前
個人
接合構造
26日前
個人
屋台
1か月前
個人
タッチミー
25日前
個人
野良猫ハウス
1か月前
個人
安心補助てすり
9日前
個人
フェンス
2か月前
個人
転落防止用手摺
1か月前
個人
居住車両用駐車場
2か月前
個人
ベンリナアングル
25日前
ニチハ株式会社
建築板
2か月前
積水樹脂株式会社
柵体
1か月前
個人
地下型マンション
4か月前
個人
筋交自動設定装置
1か月前
株式会社タナクロ
テント
4か月前
個人
熱抵抗多層断熱建材
2か月前
個人
鋼管結合資材
4か月前
個人
補強部材
2か月前
個人
柵
2か月前
個人
身体用シェルター
1か月前
鹿島建設株式会社
壁体
2か月前
成友建設株式会社
建物
1か月前
株式会社シンケン
住宅
10日前
個人
防災建築物
15日前
個人
循環流水式屋根融雪装置
4か月前
個人
身体用シェルター
1か月前
個人
可搬型供養墓
1か月前
三協立山株式会社
構造体
1か月前
三協立山株式会社
構造体
1か月前
株式会社熊谷組
吊り治具
1か月前
三協立山株式会社
構造体
1か月前
株式会社熊谷組
木質材料
1か月前
三協立山株式会社
構造体
1か月前
続きを見る
他の特許を見る