TOP
|
特許
|
意匠
|
商標
特許ウォッチ
Twitter
他の特許を見る
公開番号
2025165165
公報種別
公開特許公報(A)
公開日
2025-11-04
出願番号
2024069103
出願日
2024-04-22
発明の名称
免震構造及び免震構造の施工方法
出願人
株式会社大林組
代理人
個人
,
個人
主分類
E02D
27/34 20060101AFI20251027BHJP(水工;基礎;土砂の移送)
要約
【課題】免震構造の設置に関する作業効率を向上させることができる免震構造及び免震構造の施工方法を提供する。
【解決手段】免震構造10は、鉄筋コンクリート柱91と鉄骨梁92とで構成される仕口における免震構造であり、免震装置12上の上部基礎部材13を備える。上部基礎部材13は、鉄筋コンクリート柱91を構成する柱主筋94の下端部94Aを挿入可能な凹部36を上面13Aに有するプレキャストRC基礎30を備える。
【選択図】図1
特許請求の範囲
【請求項1】
鉄筋コンクリート柱と鉄骨梁とで構成される仕口における免震構造であって、
免震装置上の上部基礎部材を備え、
前記上部基礎部材は、プレキャストRC基礎を備え、
前記プレキャストRC基礎の上面は、前記鉄筋コンクリート柱を構成する柱主筋の下端部を挿入可能な凹部を有する、免震構造。
続きを表示(約 570 文字)
【請求項2】
鉄筋コンクリート柱と鉄骨梁とで構成される仕口における免震構造の施工方法であって、
前記免震構造は、免震装置上の上部基礎部材を備え、
前記上部基礎部材は、プレキャストRC基礎を備え、
前記プレキャストRC基礎の上面は、前記鉄筋コンクリート柱を構成する柱主筋の下端部を挿入可能な凹部を有し、
前記免震構造の施工方法は、前記柱主筋の下端部を前記凹部に挿入することを含む、免震構造の施工方法。
【請求項3】
前記上部基礎部材は、レベル調整袋ナット及びレベル調整ボルトを備える、請求項2に記載の免震構造の施工方法。
【請求項4】
前記鉄骨梁は、ふさぎ板付きの鉄骨梁であり、
前記ふさぎ板が前記免震装置及び前記柱主筋を囲むようにして前記鉄骨梁を設けることと、
前記ふさぎ板と前記プレキャストRC基礎の上面とによって区画された領域内にコンクリートを打設することと、を含む、請求項2又は請求項3に記載の免震構造の施工方法。
【請求項5】
前記ふさぎ板の下端部と前記プレキャストRC基礎の上面との間に隙間が設けられるようにして前記鉄骨梁を設けることと、
被覆部材によって前記隙間を被覆することと、を含む、請求項4に記載の免震構造の施工方法。
発明の詳細な説明
【技術分野】
【0001】
本発明は、免震構造及び免震構造の施工方法に関する。
続きを表示(約 1,400 文字)
【背景技術】
【0002】
従来、例えば、特許文献1に示すように、下部基礎部材と、免震装置と、上部基礎部材とが積層された免震構造が開示されている。このような免震構造は、柱と梁とで構成される仕口の免震層として機能することにより、建物の免震性能を向上させることができる。
【先行技術文献】
【特許文献】
【0003】
特許第7270816号公報
【発明の概要】
【発明が解決しようとする課題】
【0004】
しかしながら、上記従来の免震構造では、仕口が鉄筋コンクリート柱と鉄骨梁とで構成される場合、鉄筋コンクリート柱の柱鉄骨の主筋配筋が容易ではない。そのため、免震構造の設置に関する作業効率を向上させることが望まれている。
【課題を解決するための手段】
【0005】
上記課題を解決する免震構造は、鉄筋コンクリート柱と鉄骨梁とで構成される仕口における免震構造であって、免震装置上の上部基礎部材を備え、前記上部基礎部材は、プレキャストRC基礎を備え、前記プレキャストRC基礎の上面は、前記鉄筋コンクリート柱を構成する柱主筋の下端部を挿入可能な凹部を有する。
【0006】
上記課題を解決する免震構造の施工方法は、鉄筋コンクリート柱と鉄骨梁とで構成される仕口における免震構造の施工方法であって、前記免震構造は、免震装置上の上部基礎部材を備え、前記上部基礎部材は、プレキャストRC基礎を備え、前記プレキャストRC基礎の上面は、前記鉄筋コンクリート柱を構成する柱主筋の下端部を挿入可能な凹部を有し、前記免震構造の施工方法は、前記柱主筋の下端部を前記凹部に挿入することを含む。
【発明の効果】
【0007】
本発明によれば、鉄筋コンクリート柱の柱主筋の配筋が容易になるため、免震構造の設置に関する作業効率を向上させることができる。
【図面の簡単な説明】
【0008】
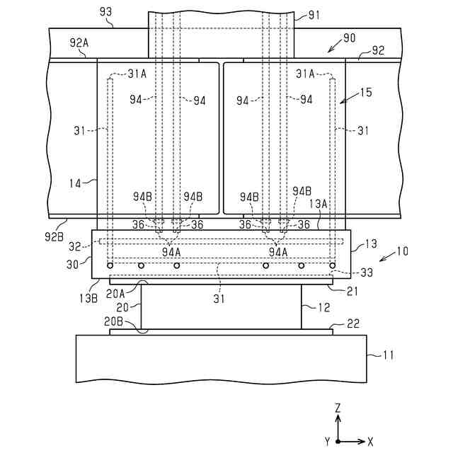
図1は、本発明の免震構造の一実施形態を示す正面図である。
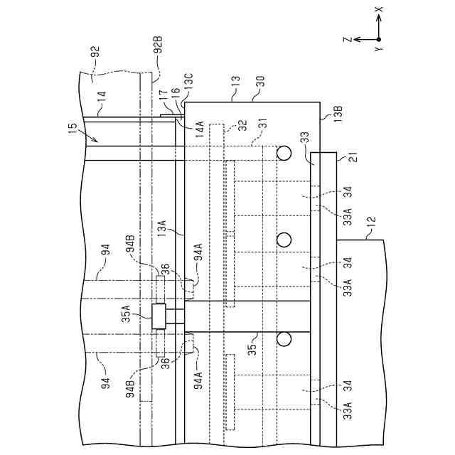
図2は、図1に示す免震構造の要部を拡大して示す図である。
図3は、本発明の免震構造の一実施形態を示す上面図である。
図4は、本発明の免震構造の施工方法の一実施形態を示すフローチャートである。
【発明を実施するための形態】
【0009】
本発明の免震構造及び免震構造の施工方法の一実施形態について説明する。以下の説明で用いる図面では、図面の上下方向Zと直交する水平方向の何れかの方向を第1水平方向Xとし、上下方向Z及び第1水平方向Xと直交する方向を第2水平方向Yとする。なお、図面中において、発明の理解を容易にするために、複数の構成部材のうち一部を代表して表し、残りを省略する場合がある。
【0010】
<免震構造>
初めに、図1から図3を参照して、本発明の免震構造10について説明する。免震構造10は、建物と地盤との間において仕口90の免震層として構成されている。仕口90は、鉄筋コンクリート柱91と鉄骨梁92とで構成されている。免震構造10は、下部基礎部材11と、下部基礎部材11上の免震装置12と、免震装置12上の上部基礎部材13とを備えている。
(【0011】以降は省略されています)
この特許をJ-PlatPat(特許庁公式サイト)で参照する
関連特許
株式会社大林組
接続構造
9日前
株式会社大林組
加熱装置
6日前
株式会社大林組
接合構造
9日前
株式会社大林組
接合構造
1か月前
株式会社大林組
操縦装置
9日前
株式会社大林組
基礎構造
2か月前
株式会社大林組
測定方法
1か月前
株式会社大林組
飛込み台
1か月前
株式会社大林組
開封装置
6日前
株式会社大林組
仮設建築物
1か月前
株式会社大林組
建物の構造
1か月前
株式会社大林組
ドリル装置
9日前
株式会社大林組
免震建築物
2か月前
株式会社大林組
スロープ構造
6日前
株式会社大林組
耐火被覆構造
1か月前
株式会社大林組
ルーバー構造
2か月前
株式会社大林組
折畳み構造物
12日前
株式会社大林組
監視システム
2か月前
株式会社大林組
空調システム
2か月前
株式会社大林組
可搬式充電設備
1か月前
株式会社大林組
積層材成型方法
3か月前
株式会社大林組
床板の設置方法
1か月前
株式会社大林組
建物の躯体構造
2か月前
株式会社大林組
建物の躯体構造
2か月前
株式会社大林組
リフトアップ装置
1か月前
株式会社大林組
作業支援システム
2か月前
株式会社大林組
大梁胴縁接続構造
今日
株式会社大林組
鋼矢板の圧入方法
1か月前
株式会社大林組
安全支援システム
2か月前
株式会社大林組
リフトアップ装置
1か月前
株式会社大林組
日射遮蔽発電装置
2か月前
株式会社大林組
建築物及び建築方法
1か月前
株式会社大林組
新設床版の設置工法
2か月前
株式会社大林組
袋体付き排水パイプ
1か月前
株式会社大林組
袋体付き排水パイプ
1か月前
株式会社大林組
繊維材供給システム
6日前
続きを見る
他の特許を見る